申請日2017.09.22
公開(公告)日2017.12.22
IPC分類號C02F9/04
摘要
本發明涉及工業污水處理領域,特別涉及一種污水處理裝置及隧道廢水處理系統及方法。所述隧道廢水處理系統包括調節池、輸送裝置、混合器、污水處理裝置和清水池;所述調節池、所述輸送裝置、所述混合器、所述污水處理裝置和所述清水池通過管道依次連接;所述污水處理裝置包括絮凝箱、沉淀箱、過濾箱。本發明的目的在于提供一種污水處理裝置及隧道廢水處理系統及方法,以解決現有隧道廢水處理中處理技術過于簡單,其工藝參數設計不合理,排水停留時間短、反應速度慢、出水水質不穩定,無法保證達標排放的問題。
權利要求書
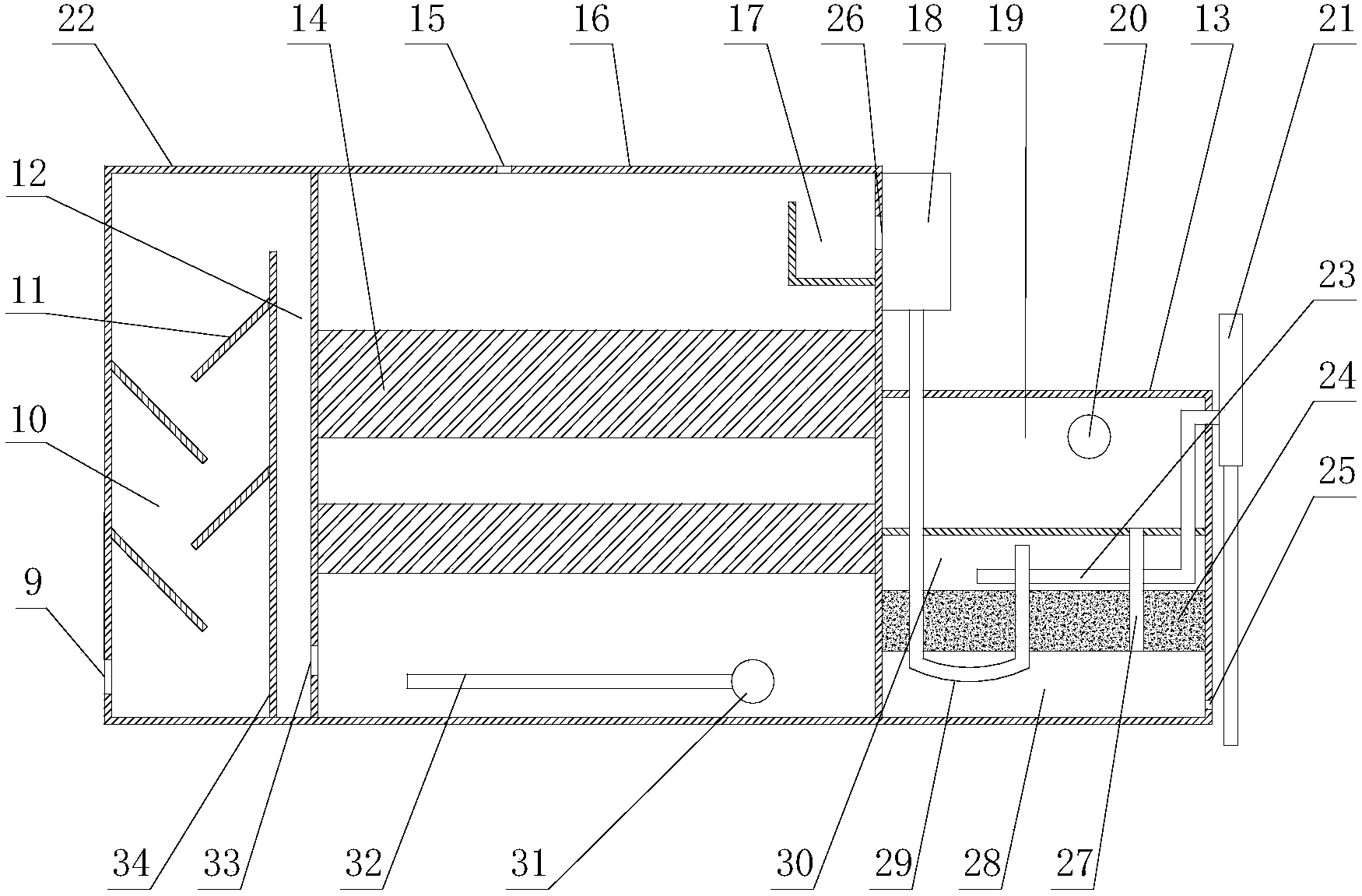
1.一種污水處理裝置,其特征在于:包括絮凝箱、沉淀箱、過濾箱、集水分配箱;所述絮凝箱設有與混合器相連的進水口,所述過濾箱設有與清水池相連的出水口;
所述過濾箱設有布水管、過濾室、濾板、聯通管、清水箱、集流室、集水管及虹吸反洗裝置;所述集水分配箱通過沉淀箱出水口與所述沉淀箱連通,所述集水分配箱通過所述布水管與所述過濾室相連;所述清水箱位于所述過濾室上方,所述過濾室下方安裝有所述濾板,所述濾板下方設有所述集流室,所述集流室通過所述聯通管與所述清水箱相連,所述集流室上設有放空口;所述集水管設置在所述過濾室內,所述集水管低于所述布水管的出水口,所述集水管與所述虹吸反洗裝置相連,所述集水管口徑大于所述布水管口徑。
2.根據權利要求1所述的污水處理裝置,其特征在于:所述絮凝箱設有多個翼片隔板和絮凝隔板;所述絮凝隔板將所述絮凝箱分隔為絮凝反應腔和絮凝沉降腔,所述翼片隔板設在所述絮凝反應腔內。
3.根據權利要求2所述的污水處理裝置,其特征在于:所述翼片隔板與所述絮凝隔板呈45°夾角,所述翼片隔板相互錯開交叉排列。
4.根據權利要求1所述的污水處理裝置,其特征在于:所述沉淀箱設有沉淀填料;所述沉淀箱底端與所述絮凝沉降腔通過沉淀箱進水口連通,所述沉淀填料上方設有出水堰,所述沉淀箱底部設有排泥管和排泥口,所述排泥管連通所述排泥口;所述沉淀箱上設有排氣口。
5.一種隧道廢水處理系統,其特征在于:包括如權利要求1-4中任一所述污水處理裝置。
6.根據權利要求5所述的隧道廢水處理系統,其特征在于:還包括調節池、輸送裝置;
所述調節池,用于收集隧道廢水;
所述輸送裝置,用于將隧道廢水從所述調節池輸送到所述混合器;
所述混合器,用于隧道廢水與藥液的混合
所述污水處理裝置用于凈化隧道廢水;
所述清水池,用于盛放凈化后的隧道廢水。
7.根據權利要求6所述的隧道廢水處理系統,其特征在于:所述調節池和所述污水處理裝置之間設有反洗排水池,所述污水處理裝置、所述反洗排水池和所述調節池通過管道依次連接;所述虹吸反洗裝置連通所述反洗排水池;所述反洗排水池用于收集反洗排水。
8.根據權利要求6或7中任一所述的隧道廢水處理系統,其特征在于:所述調節池和所述污水處理裝置之間設有排泥排水收集池,所述污水處理裝置、所述排泥排水收集池和所述調節池通過管道依次連接;所述排泥口與所述排泥排水收集池連通;所述排泥排水收集池用于收集排泥排水。
9.根據權利要求1所述的隧道廢水處理系統,其特征在于:所述混合器為SMP-YY式管式混合器。
10.一種基于權利要求6中所述隧道廢水處理系統實現的方法,其特征在于:包括以下步驟:
隧道產生的廢水匯集到調節池;
開啟輸送裝置,將廢水由調節池引入混合器,再進入污水處理裝置;
向混合器加入藥液,藥液與廢水在混合器中混合;
污水處理裝置凈化廢水,經凈化好的廢水引入清水池。
說明書
一種污水處理裝置及隧道廢水處理系統及方法
技術領域
本發明涉及工業污水處理領域,特別涉及一種污水處理裝置及隧道廢水處理系統及方法。
背景技術
隨著國家的飛速發展和社會交通的需要,隧道建設相應急劇增多,而隧道工程往往位于不是平原的山區丘陵地帶,有些甚至處于飲用水源地或水源涵養區,在施工過程中會產生大量的施工污水,倘若不對施工污水進行處理,任其排放,將會造成山區水環境污染。隧道施工過程中的污水來源主要有以下幾種:隧道打通過程中,在穿越不良地質單元時,產生的涌水;施工設備,如鉆機等施工產生的污水;機械工作中產生一定少量含油廢水;隧道爆破后及扒渣時用于降塵的污水;噴射混凝土和注漿產生的污水以及基巖裂隙水,及工作人員的少量生活用水等。
隧道施工排水中,大量巖石粉塵等懸浮雜質進入水中,在排出過程中,部分水中溶解性雜質被氧化、析出,化學性質有所改變,隧道施工時的滲出水本質上屬地下水,另外由于受到鉆機、噴射混凝土和注漿及其它人為產生的污染,又具有地表水的特點,主要污染物為懸浮物,石油類及硝基苯類等構成的有機物。隧道施工排水如不加處理直接排放,既會污染周圍環境,又會對受納水體造成理化、生態、景觀等危害。
目前,隧道施工所產生的污水一般采用泥漿沉淀池進行沉淀處理后,上清液外排,污泥則作干化處理。此處理技術過于簡單,其工藝參數設計不合理,排水停留時間短、容積偏小,其次,由于隧道排水來水量波動較大,故沉淀池占地面積大,反應速度慢,出水水質不穩定,無法保證達標排放。
發明內容
本發明的目的在于提供一種污水處理裝置及隧道廢水處理系統及方法,以解決現有隧道廢水處理中處理技術過于簡單,其工藝參數設計不合理,排水停留時間短、反應速度慢、出水水質不穩定,無法保證達標排放的問題。
本發明的目的是由下述技術方案實現的:
一種污水處理裝置,其包括絮凝箱、沉淀箱、過濾箱、集水分配箱;所述絮凝箱設有與混合器相連的進水口,所述過濾箱設有與清水池相連的出水口;
所述過濾箱設有布水管、過濾室、濾板、聯通管、清水箱、集流室、集水管及虹吸反洗裝置;所述集水分配箱通過沉淀箱出水口與所述沉淀箱連通,所述集水分配箱通過所述布水管與所述過濾室相連;所述清水箱位于所述過濾室上方,所述過濾室下方安裝有所述濾板,所述濾板下方設有所述集流室,所述集流室通過所述聯通管與所述清水箱相連,所述集流室上設有放空口;所述集水管設置在所述過濾室內,所述集水管低于所述布水管的出水口,所述集水管與所述虹吸反洗裝置相連,所述集水管口徑大于所述布水管口徑。
進一步的,所述絮凝箱設有多個翼片隔板和絮凝隔板;所述絮凝隔板將所述絮凝箱分隔為絮凝反應腔和絮凝沉降腔,所述翼片隔板設在所述絮凝反應腔內。
進一步的,所述翼片隔板與所述絮凝隔板呈45°夾角,所述翼片隔板相互錯開交叉排列。
進一步的,所述沉淀箱設有沉淀填料;所述沉淀箱底端與所述絮凝沉降腔通過沉淀箱進水口連通,所述沉淀填料上方設有出水堰,所述沉淀箱底部設有排泥管和排泥口,所述排泥管連通所述排泥口;所述沉淀箱上設有排氣口。
一種隧道廢水處理系統,其包括如上任一所述污水處理裝置。
進一步的,還包括調節池、輸送裝置;所述調節池,用于收集隧道廢水;所述輸送裝置,用于將隧道廢水從所述調節池輸送到所述混合器;所述混合器,用于隧道廢水與藥液的混合所述污水處理裝置用于凈化隧道廢水;所述清水池,用于盛放凈化后的隧道廢水。
進一步的,所述調節池和所述污水處理裝置之間設有反洗排水池,所述污水處理裝置、所述反洗排水池和所述調節池通過管道依次連接;所述虹吸反洗裝置連通所述反洗排水池;所述反洗排水池用于收集反洗排水。
進一步的,所述調節池和所述污水處理裝置之間設有排泥排水收集池,所述污水處理裝置、所述排泥排水收集池和所述調節池通過管道依次連接;所述排泥口與所述排泥排水收集池連通;所述排泥排水收集池用于收集排泥排水。
進一步的,所述混合器為SMP-YY式管式混合器。
一種基于以上所述中隧道廢水處理系統實現的方法,其特征在于:包括以下步驟:
隧道產生的廢水匯集到調節池;
開啟輸送裝置,將廢水由調節池引入混合器,再進入污水處理裝置;
向混合器加入藥液,藥液與廢水在混合器中混合;
污水處理裝置凈化廢水,經凈化好的廢水引入清水池。
本發明與現有技術相比具有如下優點:
1.本專利通過構建虹吸效應環境,利用虹吸技術進行自動反向清洗濾板,及時清洗濾板,避免人工查驗、控制清洗過程,利于提高過濾效率,穩定出水。
2.本專利所述污水處理裝置包括絮凝箱、沉淀箱、過濾箱;所述絮凝箱設有與所述混合器相連的進水口,所述過濾箱設有與所述清水池相連的出水口;所述沉淀箱設有沉淀填料;通過有高效沉淀效果沉淀填料的沉淀箱使水中聚并成大顆粒的雜質下沉,與水分離而使水質得到凈化,沉淀出水中仍有少量細小顆粒雜質,再采用過濾箱過濾,進一步去除水中懸浮物,實現較徹底的清除。
3.本專利所述隧道廢水處理系統,其包括調節池、輸送裝置、混合器、污水處理裝置和清水池;所述調節池、所述輸送裝置、所述混合器、所述污水處理裝置和所述清水池通過管道依次連接;通過藥液投放箱向水中投加凝聚劑,經過反應生成絮狀沉淀,會懸浮在水中;由于絮狀沉淀有比較大的表面積,所以很容易吸附水中的懸浮雜質;水中的懸浮雜質被絮狀沉淀吸附后,其顆粒會由小變大,直至其所受重力大于其所受的浮力之時,雜質會與絮狀沉淀一起沉淀下來;絮凝劑的加入能對水中微細顆粒和礬花進行羅捕、架橋,促使懸浮顆粒增大、增重,形成容易下沉的物質。



