申請日2017.09.22
公開(公告)日2017.12.22
IPC分類號B65F3/14
摘要
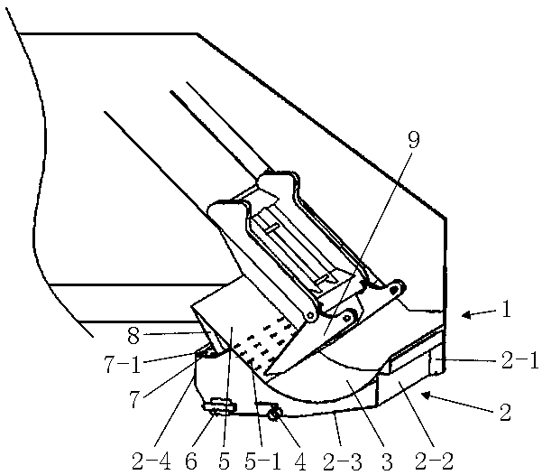
本發明公開了一種垃圾車污水收集裝置,涉及專用汽車制造技術領域,它包括連接在填料斗的斗板和傾斜尾板之下的污水盒,污水盒由所述填料斗的側板、連接側板的底板以及設置在底板前后兩端的前封板和后封板焊接而成;填料斗上開設有多個濾水孔,濾水孔與污水盒連通;污水盒設置有排污閥和排污口,排污口安裝有密封蓋。本發明解決了現有垃圾車在轉運垃圾的過程中撒漏污水的問題。
權利要求書
1.一種垃圾車污水收集裝置,其特征在于:包括連接在填料斗的斗板和傾斜尾板之下的污水盒,所述污水盒由所述填料斗的側板、連接所述側板的底板以及設置在所述底板前后兩端的前封板和后封板焊接而成;所述填料斗上開設有多個濾水孔,所述濾水孔與所述污水盒連通;所述污水盒設置有排污閥和排污口,所述排污口安裝有密封蓋。
2.根據權利要求1所述的垃圾車污水收集裝置,其特征在于:所述濾水孔開設在所述傾斜尾板上。
3.根據權利要求2所述的垃圾車污水收集裝置,其特征在于:所述濾水孔分布在所述傾斜尾板的中下部。
4.根據權利要求1或2或3所述的垃圾車污水收集裝置,其特征在于:所述傾斜尾板和所述后封板之間形成開口,所述后封板的上邊沿在所述傾斜尾板的投影范圍內,所述后封板上部設置有上蓋,所述上蓋布設有多個漏水孔。
5.根據權利要求4所述的垃圾車污水收集裝置,其特征在于:所述傾斜尾板的上邊沿和所述上蓋的內邊沿之間連接有引流板,所述引流板朝所述傾斜尾板方向傾斜。
6.根據權利要求1所述的垃圾車污水收集裝置,其特征在于:所述排水閥為球閥。
說明書
垃圾車污水收集裝置
技術領域
本發明涉及專用汽車制造技術領域,尤其是一種垃圾車填裝垃圾過程中收集污水的裝置。
背景技術
垃圾車在城市生活垃圾的處理、轉運中的位置不可替代,隨著城市化進程的加快和人們對環境質量要求的提高,現有的垃圾轉運已經基本發展為封閉式轉運,垃圾車的封閉式箱體,能避免轉運過程中垃圾的散落。但由于大多數地方的垃圾分類體系仍不成熟,垃圾混合投放、收集的現象仍普遍存在,液體垃圾與其它垃圾混合就會產生污水,此外,定點投放垃圾箱的箱蓋經常在打開后,沒有及時蓋合,下雨時,雨水會進入垃圾箱內混合形成污水,這就會導致在垃圾車裝載作業時把較多的污水帶入垃圾箱內,目前垃圾車在垃圾的裝載過程中對垃圾中污水過濾及收集的功能不是很完善,垃圾車在路上行駛時極易出現污水撒漏造成污染,現有應對上述問題的方式是對垃圾車箱體的密封性能提出及其苛刻的要求,通過高密封性的箱體來避免污水撒漏,然而這種應對方式極大地增加了垃圾車的制造成本。
發明內容
本發明的目的是提供一種垃圾車污水收集裝置,這種裝置能有效的解決現有垃圾車在轉運垃圾的過程中撒漏污水的問題。
為了解決上述問題,本發明采用的技術方案是:這種垃圾車污水收集裝置包括連接在填料斗的斗板和傾斜尾板之下的污水盒,所述污水盒由所述填料斗的側板、連接所述側板的底板以及設置在所述底板前后兩端的前封板和后封板焊接而成;所述填料斗上開設有多個濾水孔,所述濾水孔與所述污水盒連通;所述污水盒設置有排污閥和排污口,所述排污口安裝有密封蓋。
上述垃圾車污水收集裝置的技術方案中,更具體的技術方案還可以是:所述濾水孔開設在所述填料斗的傾斜尾板上。
進一步的,所述濾水孔分布在所述傾斜尾板的中下部。
所述傾斜尾板和所述后封板之間形成開口,所述后封板的上邊沿在所述傾斜尾板的投影范圍內,所述后封板上部設置有上蓋,所述上蓋布設有多個漏水孔。
進一步的,所述傾斜尾板的上邊沿和所述上蓋的內邊沿之間連接有引流板,所述引流板朝所述傾斜尾板方向傾斜。
進一步的,所述排水閥為球閥。
由于采用了上述技術方案,本發明與現有技術相比具有如下有益效果:
1、本發明通過改進現有垃圾車填料器的內部結構,利用填料斗下方原有的富余空間做污水盒,在填料斗上開設于污水盒連通的濾水孔,就能夠實現垃圾車在填裝過程中對垃圾濾水并收集于污水盒內,污水盒由多塊板焊接而成并與填料斗的斗板和傾斜尾板連接,避免了污水進入到垃圾車的廂體內,有效防止了污水撒漏。
2、濾水孔開設在傾斜尾板上,使垃圾在向上的過程中進行濾水,避免垃圾因斗板形狀和重力作用而集中在斗板底部造成濾水孔堵塞。
3、帶漏水孔的上蓋和引流板的設置,能使污水沿引流板流入污水盒內,進一步降低垃圾漏水的可能性。
4、結構簡單,便于生產,后期維護容易。



