申請日2017.09.22
公開(公告)日2018.01.26
IPC分類號B05B7/04
摘要
本發明提供了一種火電廠廢水煙道蒸發的多級精細霧化噴嘴,噴嘴本體前端與空氣帽連接,噴嘴本體與空氣帽之間設有空腔;噴嘴本體中心設有液體通道,液體通道設有至少兩級收縮段,液體通道末端、前端分別設有液體入口、液體噴口;液體噴口與空氣帽前端的噴嘴噴口之間設有混合室;噴嘴本體末端、液體通道外周設有環槽,環槽通過第一級霧化通道與液體通道貫通,所述空腔通過第二級霧化通道與環槽貫通;環槽末端設有氣體入口。本發明還提供了一種火電廠廢水煙道蒸發的多級精細霧化方法。本發明通過多級霧化及強化霧化,使火電廠廢水充分霧化,形成極小液滴;裝置具有結構簡單、制作方便、液滴霧化粒徑極小、蒸發速度快、節能效果好等優點。
權利要求書
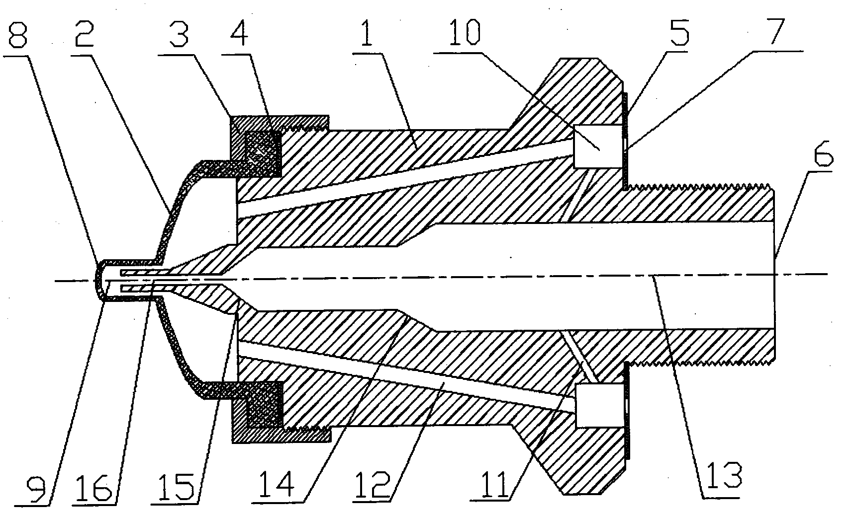
1.一種火電廠廢水煙道蒸發的多級精細霧化噴嘴,其特征在于:包括噴嘴本體(1),噴嘴本體(1)前端與空氣帽(2)連接,噴嘴本體(1)與空氣帽(2)之間設有空腔;
噴嘴本體(1)中心設有液體通道(13),液體通道(13)設有至少兩級收縮段,液體通道(13)末端設有液體入口(6),液體通道(13)前端設有液體噴口(16);空氣帽(2)前端設有噴嘴噴口(8),所述液體噴口(16)與所述噴嘴噴口(8)之間設有混合室(9);
噴嘴本體(1)末端、液體通道(13)外周設有環槽(10),環槽(10)通過第一級霧化通道(11)與液體通道(13)貫通,噴嘴本體(1)和空氣帽(2)之間的空腔通過第二級霧化通道(12)與環槽(10)貫通;環槽(10)末端設有氣體入口(7)。
2.如權利要求1所述的一種火電廠廢水煙道蒸發的多級精細霧化噴嘴,其特征在于:所述噴嘴本體(1)與空氣帽(2)通過噴頭螺母(3)連接。
3.如權利要求2所述的一種火電廠廢水煙道蒸發的多級精細霧化噴嘴,其特征在于:所述噴嘴本體(1)與空氣帽(2)連接處通過第一密封墊片(4)進行密封。
4.如權利要求1所述的一種火電廠廢水煙道蒸發的多級精細霧化噴嘴,其特征在于:所述液體通道(13)的收縮段為圓臺體結構。
5.如權利要求1所述的一種火電廠廢水煙道蒸發的多級精細霧化噴嘴,其特征在于:所述液體入口(6)的直徑遠大于液體噴口(16)的直徑。
6.如權利要求1所述的一種火電廠廢水煙道蒸發的多級精細霧化噴嘴,其特征在于:所述環槽(10)末端通過第二密封墊片(5)蓋住,所述氣體入口(7)設于第二密封墊片(5)上。
7.如權利要求1所述的一種火電廠廢水煙道蒸發的多級精細霧化噴嘴,其特征在于:所述第一級霧化通道(11)、第二級霧化通道(12)均為錐形環槽結構。
8.如權利要求1或7所述的一種火電廠廢水煙道蒸發的多級精細霧化噴嘴,其特征在于:所述第一級霧化通道(11)的數量為2~8個。
9.一種火電廠廢水煙道蒸發的多級精細霧化方法,其特征在于:采用如權利要求1~8任一項所述的火電廠廢水煙道蒸發的多級精細霧化噴嘴,步驟為:
氣體經氣體入口(7)進入環槽(10),然后分別進入第一級霧化通道(11)與第二級霧化通道(12);火電廠廢水從液體入口(6)進入液體通道(13),然后從液體噴口(16)進入混合室;
第一級霧化通道(11)的氣體與液體通道(13)內的火電廠廢水進行第一次霧化,第一次霧化后的火電廠廢水經至少兩級收縮段后產生至少兩次擾動,使氣體與火電廠廢水加強混合,增強霧化效果;
經第一次霧化后的火電廠廢水由液體噴口(16)噴出,與空氣帽(2)內的經第二級霧化通道(12)來的氣體在混合室(9)內產生第二次霧化;經兩次霧化后的火電廠廢水由噴嘴噴口(8)噴出,在周圍空氣作用下,產生第三次霧化,火電廠廢水顆粒進一步被破碎,形成霧化液滴。
10.如權利要求9所述的一種火電廠廢水煙道蒸發的多級精細霧化方法,其特征在于:所述第三次霧化后形成的霧化液滴的直徑為5~40微米。
說明書
一種火電廠廢水煙道蒸發的多級精細霧化噴嘴及方法
技術領域
本發明涉及一種用于火電廠廢水煙道蒸發的多級精細霧化噴嘴及其使用方法,屬于環保技術領域。
背景技術
隨著我國環保力度的逐漸加大,國務院發布了《水污染防治行動計劃》,將水環境保護上升到了國家戰略層面,各地方政府也陸續出臺限制高鹽廢水排放的地方政策,火電廠的廢水排放問題已成為新的污染物治理焦點。火電廠廢水具有總量少、難于處理、易于產生二次污染等問題。目前,火電廠廢水主要包含以下兩種:高含鹽廢水和脫硫廢水。現有的脫硫廢水處理系統采用傳統“三聯箱”化學沉淀法工藝,主要減低廢水的濁度、重金屬和少量硬度。由于沒有降低廢水含鹽量和氯離子,只能按照水質梯級利用的原則將達標廢水回用于煤場或灰渣系統的調濕。隨著國家節能減排政策的推進,目前針對電廠高含鹽廢水和脫硫廢水的處理有了比較新的趨勢,即回用處理,達到全廠廢水零排放,其中利用火電廠鍋爐煙道蒸發廢水是實現全廠廢水零排放的重要手段之一。
雙流體霧化噴嘴是火電廠廢水煙道蒸發系統中的關鍵設備,其霧化的特性直接影響著廢水液滴群的蒸發特性,尤其是液滴群在煙氣環境中運動,受到多種力的綜合作用,會進一步增加其蒸發的難度。如在有限的長度內廢水液滴群未能完全蒸發,會造成下游設備的積灰、腐蝕,嚴重時會造成設備的停機。
發明內容
本發明要解決的技術問題是提供一種用于火電廠廢水煙道蒸發裝置的,能夠實現火電廠廢水有效霧化、降低霧化液滴群的平均粒徑、減少大液滴的數量、達到優質的霧化特性的噴嘴及其使用方法。
為了解決上述技術問題,本發明的技術方案是提供一種火電廠廢水煙道蒸發的多級精細霧化噴嘴,其特征在于:包括噴嘴本體,噴嘴本體前端與空氣帽連接,噴嘴本體與空氣帽之間設有空腔;
噴嘴本體中心設有液體通道,液體通道設有至少兩級收縮段,液體通道末端設有液體入口,液體通道前端設有液體噴口;空氣帽前端設有噴嘴噴口;所述液體噴口與所述噴嘴噴口之間設有混合室;
噴嘴本體末端、液體通道外周設有環槽,環槽通過第一級霧化通道與液體通道貫通,噴嘴本體和空氣帽之間的空腔通過第二級霧化通道與環槽貫通;環槽末端設有氣體入口。
優選地,所述噴嘴本體與空氣帽通過噴頭螺母連接。
優選地,所述噴嘴本體與空氣帽連接處通過第一密封墊片進行密封。
優選地,所述液體通道的收縮段為圓臺體結構。
優選地,所述液體入口的直徑遠大于液體噴口的直徑。
優選地,所述環槽末端通過第二密封墊片蓋住,所述氣體入口設于第二密封墊片上。
優選地,所述第一級霧化通道、第二級霧化通道均為錐形環槽結構。
優選地,所述第一級霧化通道的數量為2~8個。
本發明還提供了一種火電廠廢水煙道蒸發的多級精細霧化方法,其特征在于:采用上述的火電廠廢水煙道蒸發的多級精細霧化噴嘴,步驟為:
氣體經氣體入口進入環槽,然后分別進入第一級霧化通道與第二級霧化通道;火電廠廢水從液體入口進入液體通道,然后從液體噴口進入混合室;
第一級霧化通道的氣體與液體通道內的火電廠廢水進行第一次霧化,第一次霧化后的火電廠廢水經至少兩級收縮段后產生至少兩次擾動,使氣體與火電廠廢水加強混合,增強霧化效果;
經第一次霧化后的火電廠廢水由液體噴口噴出,與空氣帽內的經第二級霧化通道來的氣體在混合室內產生第二次霧化;經兩次霧化后的火電廠廢水由噴嘴噴口噴出,在周圍空氣作用下,產生第三次霧化,火電廠廢水顆粒進一步被破碎,形成霧化液滴。
優選地,所述第三次霧化后形成的霧化液滴的直徑為5~40微米。
本發明提供的裝置及方法克服了現有技術的不足,利用噴嘴本體結構的收縮段,增加第一次霧化火電廠廢水的擾動,通過多級霧化及強化霧化,使火電廠廢水充分霧化,液體顆粒多次被破碎,顆粒平均直徑在5~40微米;具有結構簡單、制作方便、液滴霧化粒徑極小、蒸發速度快、節能效果好等優點。



