申請日2016.05.17
公開(公告)日2016.08.10
IPC分類號E03F5/02; C08L61/16; C08L91/06; C08K13/04; C08K7/10; C08K3/34; C08K5/09; C08K5/101; C08F120/10; C08K13/02; C08K3/04; C08K5/18
摘要
本發明公開了一種污水連體井,包括井室、底座和活動井蓋,所述井室設于底座上,所述活動井蓋設于井室上,且形狀與所述井室相適應;其中,所述井室包括井室外框和頂部開口的豎直腔體,所述腔體包括側壁和底壁,所述同一直線上的兩對稱側壁上設有連接承插口管的開口,所述一端開口連接第一承插口管,另一端開口連接第二承插口管,第一承插口管和第二承插口管穿過側壁并與所述腔體連通;所述底壁上設有弧形槽部(俗稱流槽),所述弧形槽部形狀與開口形狀相適應,且與所述第一承插口管和第二承插口管相連通。本發明所述的污水連體井結構簡單、合理,使用方便,密封性好,安全可靠,應用成本低。
權利要求書
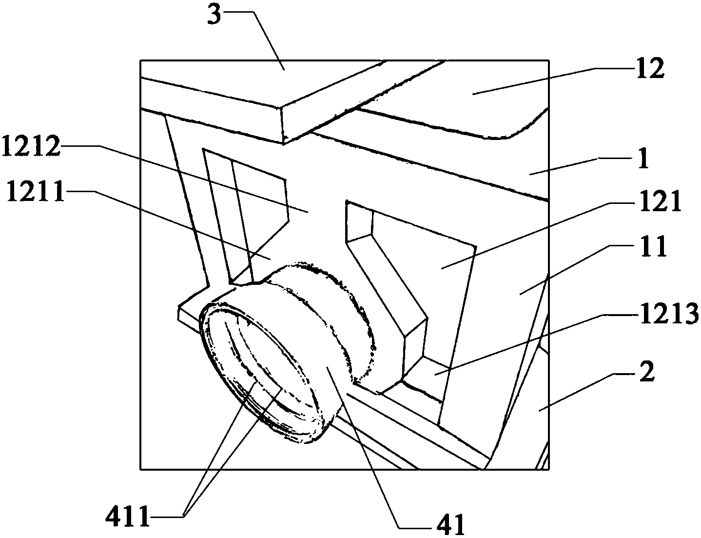
1.一種污水連體井,其特征在于:包括井室(1)、底座(2)和活動井蓋(3),所述井室(1)設于底座(2)上,所述活動井蓋(3)設于井室(1)上,且形狀與所述井室(1)相適應;
其中,所述井室(1)包括井室外框(11)和頂部開口的豎直腔體(12),所述腔體(12)包括側壁(121)和底壁(122),所述同一直線上的兩對稱側壁(121)上設有連接承插口管(4)的開口(5),所述一端開口(5)連接第一承插口管(41),另一端開口(5)連接第二承插口管(42),第一承插口管(41)和第二承插口管(42)穿過側壁(121)并與所述腔體(12)連通;所述底壁(122)上設有弧形槽部(1221),所述弧形槽部(1221)形狀與開口(5)形狀相適應,且與所述第一承插口管(41)和第二承插口管(42)相連通。
2.根據權利要求1所述的污水連體井,其特征在于:所述側壁(121)外部的承插口管(4)與側壁(121)連接處設有拱部(1211),所述拱部(1211)和井室外框(11)之間還設有一組加強肋(1212)和加強棱(1213)。
3.根據權利要求2所述的污水連體井,其特征在于:所述拱部(1211)為里側和承插口管(4)形狀相適應的圓形結構,外側為六邊形的拱部(1211)。
4.根據權利要求1所述的污水連體井,其特征在于:所述第一承插口管(41)和第二承插口管(42)上與井室(1)接觸處還設有一組止水翼環(6),所述止水翼環(6)設于第一承插口管(41)和第二承插口管(42)與側壁(121)連接處。
5.根據權利要求1所述的污水連體井,其特征在于:所述第一承插口管(41)和第二承插口管(42)上還設有遇水膨脹密封層(7),所述遇水膨脹密封層(7)設于第一承插口管(41)和第二承插口管(42)與側壁(121)連接處。
6.根據權利要求1-5任一項所述的污水連體井,其特征在于:所述第一承插口管(41)一端設有錐形口,所述錐形口內側設有一組環形凸部(411)。
7.根據權利要求6所述的污水連體井,其特征在于:所述環形凸部(411)之間還設有一組豎直加強筋(412)。
8.根據權利要求1所述的污水連體井,其特征在于:所述外框(11)頂部設有一組起吊環(111)。
9.根據權利要求1所述的污水連體井,其特征在于:所述承插口管(4)包括外側的耐磨層(8)和內側的彈性層(9),所述耐磨層(8)的材料包括以下重量組分:
聚醚醚酮 30-50份
碳化硅纖維 10-30份
氧化硅 8-20份
硅灰土 5-15份
硬脂酸 1-3份
甲基丙烯酸-2-羧乙酯 2-5份
石蠟 2-3份;
所述彈性層(9)的材料包括以下重量組分:
丙烯酸酯 50-70份
石墨 3-8份
爐黑 2-5份
硅藻土 5-10份
N-苯基-α-萘胺 0.5-0.8份。
10.根據權利要求1所述的污水連體井,其特征在于:所述活動井蓋(3)和井室(1)頂部開口處設有密封減震墊。
說明書
一種污水連體井
技術領域
本發明涉及管道技術領域,具體涉及排水管道施工裝置,特別涉及一種污水連體井。
背景技術
地下管道系統中的污水井又稱檢查井、管道井或窨井,是排放雨水、污水系統的主要部件。在地下管線位置上每隔一定距離進行修建,主要供養護工人定期檢查和疏通管道、清除污泥異物、防止管道堵塞等,是城市道路地下基礎設施之一。
目前,市政工程污水檢查井的施工,一般采用人工或機械挖基坑,然后澆筑檢查井、砼底板,井壁采用砌磚的方式,管材上半部分和污水井井壁之間砌磚拱,以水泥砂漿填實來達到防漏作用。然而,傳統的砌磚井在使用過程中,由于地表土質存在季節性的膨脹和收縮運動,容易污水滲漏,造成地下水二次污染,重載荷作用下易坍塌,抗壓強度低,損壞嚴重。而且砌磚井施工難度大,對施工人員的要求高,質量穩定性差,密封性差。此外,管材和井體之間的膨脹系數差別很大,在環境溫度變化或者地質沉降的過程中,管材容易在井壁內產生位移,導致密封失效,出現滲水、漏水現象。
同時,傳統的砌磚井的井體內外需要進行粉刷,并且施工面積大,受機械設備、工人操作的影響大,工程質量難以保證。同時對道路、綠化的破壞大,市政道路綠化費用高,工作量大,施工時間長,施工效率低下,成本高且質量無法得到保障。
發明內容
發明目的:為了克服以上問題,本發明的目的是提供一種污水連體井,該污水連體井結構簡單、合理,使用方便,密封性好,安全可靠,應用成本低。
技術方案:一種污水連體井,包括井室、底座和活動井蓋,所述井室設于底座上,所述活動井蓋設于井室上,且形狀與所述井室相適應;其中,所述井室包括井室外框和頂部開口的豎直腔體,所述腔體包括側壁和底壁,所述同一直線上的兩對稱側壁上設有連接承插口管的開口,所述承插口管包括第一承插口管和第二承插口管,所述一端開口連接第一承插口管,另一端開口連接第二承插口管,第一承插口管和第二承插口管穿過側壁并與所述腔體連通;所述底壁上設有弧形槽部,所述弧形槽部形狀與開口形狀相適應,且與所述第一承插口管和第二承插口管相連通。本發明所述的污水連體井結構簡單、合理,使用方便,密封性好,整體密封性強、環保無滲漏、安全可靠。預制一體井,可以專業化量產,井體的內外不需要進行粉刷,并且施工面積小,受機械設備、工人操作的影響小。同時對道路、綠化的破壞小,市政道路綠化費用低,縮短施工時間,提高施工效率,因此極大的降低了應用成本。其中,所述井室為長方體井室或圓柱體井室,可以根據地形和需要進行選擇,適應性好。此外,腔體的側壁內還設有X形的加強筋,使井室的強度、剛度得到顯著提高,從而提高污水連體井的使用壽命,且X形的加強筋與橫截面為矩形或長方形的加強筋相比,相同的強度或剛度下更省料,應用成本低。并且,第一承插口管和第二承插口管和側壁連接處還設有攔污柵,可以有效將污泥異物等較大的污物滯留于攔污柵上,滯留效果好。
進一步的,上述的污水連體井,所述側壁外部的承插口管與側壁連接處設有拱部,所述拱部和井室外框之間還設有一組加強肋和加強棱。拱部可以有效增加第一承插口管、第二承插口管和井體之間的剛性和密封性,有效避免井體變形,抗壓能力強,加強肋和加強棱則可以進一步增加污水連體井整體的強度,同時降低材料的使用,使用壽命長且應用成本低。
進一步的,上述的污水連體井,所述拱部為里側和第一承插口管形狀相適應的圓形結構,外側為六邊形的拱部。拱部結構合理,保證剛性和密封性的同時,有效降低材料的使用,使用壽命長且應用成本低。
進一步的,上述的污水連體井,所述第一承插口管和第二承插口管上與井室接觸處還設有一組止水翼環,所述止水翼環設于第一承插口管和第二承插口管與側壁連接處。止水翼環可以增加數倍的延長水滲浸的路徑,大大增加了滲浸阻力來達到抗滲目的,可以防止污水滲入地下或井中對環境的污染,還可以防止雨水進入排水系統而增加污水處理廠的負擔。
進一步的,上述的污水連體井,所述第一承插口管和第二承插口管上還設有遇水膨脹密封層,所述遇水膨脹密封層設于第一承插口管和第二承插口管與側壁連接處。遇水膨脹密封層遇水膨脹,保證了污水連體井體與接口管件密封連接,同時還可在一定程度上擴大與接口管件配合的外部管道的內徑的范圍,并且保證污水連體井密封性能好、不易泄露污水、環保。
進一步的,上述的污水連體井,所述第一承插口管一端設有錐形口,所述錐形口內側設有一組環形凸部。第一承插口管一端設有錐形口,所述錐形口內側設有一組環形凸部可以使第一承插口管和其他的第二承插口管連接從而延長管道系統,并且可以根據需要將將其他第二承插口管插入到2-3層凸部內,連接穩定并且密封性好,避免了傳統熱熔管的以下缺點:耐壓低,接口連接易斷裂,并且一旦連接無法拆卸、維修不方便,流量通徑變小。此外,需要熱熔機進行現場熱熔,操作不方便,同時對施工的空間要求高,施工時間長等。
進一步的,上述的污水連體井,所述環形凸部之間還設有一組豎直加強筋。豎直加強筋與環形凸部垂直的加強筋在第一承插口管接口內側軸向上與環形凸部垂直相交且同時位于同一層,與環形凸部豎直加強筋在第一承插口管接口內側圓周上均勻布置。豎直加強筋增加了污水連體井承插口管連接的強度,承插口管之間的連接固定更穩定緊密,消除變形,施工質量得到很大提高。
進一步的,上述的污水連體井,所述外框頂部設有一組起吊環。起吊環方便起重機或者吊車將污水連體井放入到施工位置,對施工面要求小,應用方便且應用成本低。
進一步的,上述的污水連體井,所述承插口管包括外側的耐磨層和內側的彈性層,所述耐磨層的材料包括以下重量組分:
聚醚醚酮 30-50份
碳化硅纖維 10-30份
氧化硅 8-20份
硅灰土 5-15份
硬脂酸 1-3份
甲基丙烯酸-2-羧乙酯 2-5份
石蠟 2-3份;
所述彈性層的材料包括以下重量組分:
丙烯酸酯 50-70份
石墨 3-8份
爐黑 2-5份
硅藻土 5-10份
N-苯基-α-萘胺 0.5-0.8份
其中,聚醚醚酮是一種環保無毒的材料,在高溫、腐蝕、蒸汽及酸堿等苛刻環境中仍然具有耐高溫、耐化學藥品腐蝕等物理化學性能和持優良的力學強度。碳化硅纖維可以進一步增加耐磨層的機械性能及防腐蝕性能。硅灰土可以提高其耐沖擊性、柔韌性、貯存穩定性以及耐蝕性,進一步增加硬脂酸、甲基丙烯酸-2-羧乙酯和石蠟可以提高耐磨層的綜合性能。然而丙烯酸酯具有較好的彈性、耐油和耐水性,同時增大了彈性層的內部塑性,從而使脆性溫度降低,耐寒性和耐熱性較好,柔韌性強。石墨、爐黑、硅藻土和N-苯基-α-萘胺則進一步提高彈性層的機械性能及防腐蝕性能等綜合性能。耐磨層和內側的彈性層使承插口管不易被腐蝕、破裂,提高了承插口管的耐磨性、耐腐蝕性和強度,保證了污水井的密封性,延長了承插口管的使用壽命。
進一步的,上述的污水連體井,所述活動井蓋和井室頂部開口處設有密封減震墊。密封減震墊可以有效降低活動井蓋開合以及車輛行走時的沖擊荷載。同時使活動井蓋和井室頂部開口密封結合緊密,使應力傳遞均勻。
上述技術方案可以看出,本發明具有如下有益效果:本發明所述的污水連體井,結構簡單、合理,應用方便,易于制造,成本低,適應性好,節約施工時間,施工維修方便,提高了施工效率,降低施工成本、優化了工作質量,同時提高了排水系統的安全性、可靠性,水流暢通排水效果好。



