申請日2016.05.17
公開(公告)日2016.07.27
IPC分類號C02F1/00
摘要
本發明公開了一種污水處理反應器,其包括反應罐,所述的反應罐的一端設有污水進口,所述的反應罐的另一端設有污水出口,所述的反應罐上污水進口與污水出口之間設有加藥管道,所述的加藥管道上設有閥門,所述的反應罐內還設有擋板。本發明不僅集加藥泵、反應池于一體,而且投資小,體積小,完全可滿足簡單的加藥系統要求,污水處理效果好,減少藥物使用量,節約污水處理時間。
權利要求書
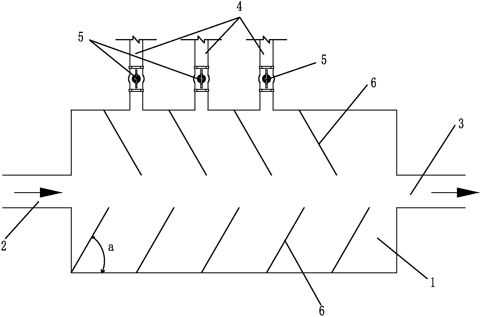
1.一種污水處理反應器,其特征在于其包括反應罐(1),所述的反應罐(1)的一端設有污水進口(2),所述的反應罐的另一端設有污水出口(3),所述的反應罐(1)上污水進口(2)與污水出口(3)之間設有加藥管道(4),所述的加藥管道(4)上設有閥門(5),所述的反應罐(1)內還設有擋板(6)。
2.根據權利要求1所述一種污水處理反應器,其特征在于所述的反應罐(1)上連通有多個加藥管道(4),所述的擋板(6)設置在加藥管道(4)的左、右兩邊。
3.根據權利要求1所述一種污水處理反應器,其特征在于所述的擋板(6)交錯設置反應罐(1)內的上、下兩端。
4.根據權利要求1或2或3或4所述一種污水處理反應器,其特征在于所述的擋板(6)向污水出口傾斜。
5.根據權利要求4所述一種污水處理反應器,其特征在于所述的擋板人傾斜角度(a)為30-70度。
6.根據權利要求5所述一種污水處理反應器,其特征在于所述的擋板人傾斜角度(a)為60度。
7.根據權利要求3所述一種污水處理反應器,其特征在于所述的反應罐內的上、下檔板之間留有通道。
說明書
一種污水處理反應器
【技術領域】
本發明涉及一種污水處理反應器。
【背景領域】
隨著人們生活的改善,污水也越來越多,如生活污水、工業污水等等。而污水處理是目前一座座城市、工廠等在環保過程中都需要做的一項環保工程。
現在大部份污水處理的過程中一些需要添加污水處理藥劑的工藝。現有加藥系統大多是以一個加藥池、調節池或者反應池的形式存在,都需要建設一個較大的池子進行藥劑、污水的反應,而且反應過程中需要動力系統添加藥劑。現有的這種污水處理池,不利于污水與藥物的混合及反應,使得污水處理效果不好,浪費藥物,也浪費時間的資源。
【發明內容】
本發明的目的在于克服現有技術的不足之處,提供一種一個反應罐以及反應罐內部的多個與水平線成60°的傾斜擋板,通過污水在反應罐的高速通過產生的負壓,使藥劑通過加藥口自動吸入反應罐內,并可通過閥門調節流量大小,在擋板的作用下,反應罐內的水流形成漩渦混合,使污水跟藥劑的充分混合,整個裝置實現了加藥混合一體化的效果,簡歷了污水處理的工藝,節省投資成本,污水處理效果好,減少藥物使用量,節約污水處理時間污水處理反應器。
本發明的目的是這樣實現的:
一種污水處理反應器,其特征在于其包括反應罐,所述的反應罐的一端設有污水進口,所述的反應罐的另一端設有污水出口,所述的反應罐上污水進口與污水出口之間設有加藥管道,所述的加藥管道上設有閥門,所述的反應罐內還設有擋板。
如上所述一種污水處理反應器,其特征在于所述的反應罐上連通有多個加藥管道,所述的擋板設置在加藥管道的左、右兩邊。
如上所述一種污水處理反應器,其特征在于所述的擋板交錯設置反應罐內的上、下兩端。
如上所述一種污水處理反應器,其特征在于所述的擋板向污水出口傾斜。
如上所述一種污水處理反應器,其特征在于所述的擋板人傾斜角度a為30-70度。
如上所述一種污水處理反應器,其特征在于所述的擋板人傾斜角度a為60度。
如上所述一種污水處理反應器,其特征在于所述的反應罐內的上、下檔板之間留有通道。
本發明包括一個反應罐以及反應罐內部的多個與水平線成60°的傾斜擋板,通過污水在反應罐的高速通過產生的負壓,使藥劑通過加藥口自動吸入反應罐內,并可通過閥門調節流量大小,在擋板的作用下,反應罐內的水流形成漩渦混合,使污水跟藥劑的充分混合。整個裝置實現了加藥混合一體化的效果,簡歷了污水處理的工藝,節省投資成本。
本發明不僅集加藥泵、反應池于一體,而且投資小,體積小,完全可滿足簡單的加藥系統要求,污水處理效果好,減少藥物使用量,節約污水處理時間。



