申請日2016.05.18
公開(公告)日2016.10.19
IPC分類號B01F13/02; C02F1/50
摘要
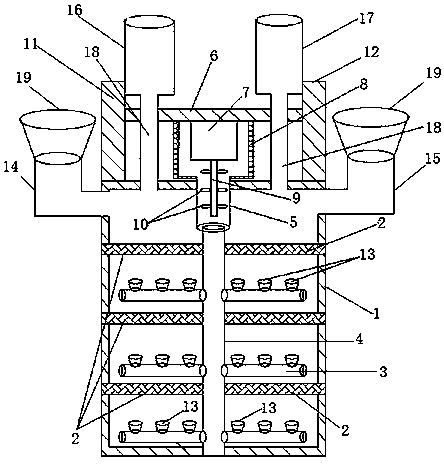
本實用新型公開了一種氣動攪拌式市政污水處理裝置,過濾板固定安裝在污水處理筒內,主氣動管安裝在污水處理筒內的中央,氣動攪拌管安裝在主氣動管上,鼓風筒安裝在主氣動管的頂端,左立板固定安裝在污水處理筒頂部的左側,右立板固定安裝在污水處理筒頂部的右側,頂板固定安裝在左立板和右立板之間的頂部,網罩固定安裝在鼓風筒和頂板之間,鼓風電機固定安裝在網罩內的頂板上,左污水進筒安裝在污水處理筒上部的左側壁上,右污水進筒安裝在污水處理筒上部的右側壁上,左消毒劑筒固定安裝在頂板上的左側,右消毒劑筒固定安裝在頂板上的右側,左消毒劑筒和右消毒劑筒通過消毒劑添加管與污水處理筒連通。
權利要求書
1.一種氣動攪拌式市政污水處理裝置,結構包括:污水處理筒、過濾板、氣動攪拌管、主氣動管、鼓風筒、頂板、鼓風電機、網罩、鼓風驅動軸、鼓風葉片、左立板、右立板、氣動嘴、左污水進筒、右污水進筒、左消毒劑筒、右消毒劑筒、消毒劑添加管、罩斗,所述的過濾板固定安裝在污水處理筒內,主氣動管安裝在污水處理筒內的中央,氣動攪拌管安裝在主氣動管上,所述的鼓風筒安裝在主氣動管的頂端,所述的左立板固定安裝在污水處理筒頂部的左側,右立板固定安裝在污水處理筒頂部的右側,所述的頂板固定安裝在左立板和右立板之間的頂部,所述的網罩固定安裝在鼓風筒和頂板之間,鼓風電機固定安裝在網罩內的頂板上,鼓風驅動軸安裝在鼓風電機內,所述的左污水進筒安裝在污水處理筒上部的左側壁上,右污水進筒安裝在污水處理筒上部的右側壁上,所述的左消毒劑筒固定安裝在頂板上的左側,右消毒劑筒固定安裝在頂板上的右側,左消毒劑筒和右消毒劑筒通過消毒劑添加管與污水處理筒連通。
2.根據權利要求1所述的一種氣動攪拌式市政污水處理裝置,其特征在于:所述的鼓風葉片安裝在鼓風驅動軸上,所述的罩斗安裝在左污水進筒和右污水進筒的頂部,所述的氣動嘴安裝在氣動攪拌管上。
說明書
一種氣動攪拌式市政污水處理裝置
技術領域
本實用新型涉及一種氣動攪拌式市政污水處理裝置,屬于市政污水處理技術領域。
背景技術
生活污水主要是城市生活中使用的各種洗滌劑和污水、垃圾、糞便等,多為無毒的無機鹽類,生活污水 中含氮、磷、硫多,致病細菌多。隨著人們生活水平的提高,生活污水排放越來越嚴重。現有的生活污水處理裝置其結構復雜,制造成本高,污水處理效率低,且污水處理過程中異味散發。
實用新型內容
本實用新型提出了一種氣動攪拌式市政污水處理裝置,其結構簡單,設計科學合理,安裝方便,具有非常廣闊的應用前景。
本實用新型解采用以下技術方案來解決現有的技術問題。
一種氣動攪拌式市政污水處理裝置,結構包括:污水處理筒、過濾板、氣動攪拌管、主氣動管、鼓風筒、頂板、鼓風電機、網罩、鼓風驅動軸、鼓風葉片、左立板、右立板、氣動嘴、左污水進筒、右污水進筒、左消毒劑筒、右消毒劑筒、消毒劑添加管、罩斗,所述的過濾板固定安裝在污水處理筒內,主氣動管安裝在污水處理筒內的中央,氣動攪拌管安裝在主氣動管上,所述的鼓風筒安裝在主氣動管的頂端,所述的左立板固定安裝在污水處理筒頂部的左側,右立板固定安裝在污水處理筒頂部的右側,所述的頂板固定安裝在左立板和右立板之間的頂部,所述的網罩固定安裝在鼓風筒和頂板之間,鼓風電機固定安裝在網罩內的頂板上,鼓風驅動軸安裝在鼓風電機內,所述的左污水進筒安裝在污水處理筒上部的左側壁上,右污水進筒安裝在污水處理筒上部的右側壁上,所述的左消毒劑筒固定安裝在頂板上的左側,右消毒劑筒固定安裝在頂板上的右側,左消毒劑筒和右消毒劑筒通過消毒劑添加管與污水處理筒連通。
進一步,所述的鼓風葉片安裝在鼓風驅動軸上,所述的罩斗安裝在左污水進筒和右污水進筒的頂部,所述的氣動嘴安裝在氣動攪拌管上。
本實用新型的有益效果是:本實用新型提出的一種氣動攪拌式市政污水處理裝置,其結構簡單,設計科學合理,安裝方便,具有非常廣闊的應用前景。



