申請日2016.05.18
公開(公告)日2016.09.21
IPC分類號C02F9/14
摘要
本發明公開了一種微生物的污水處理裝置,包括親氧箱、厭氧箱和凈化箱,且厭氧箱位于親氧箱的底部,所述親氧箱的頂部連通有進水管,所述進水管上設有第一電子閥門,所述親氧箱的一側設有氣泵,且氣泵的輸出端通過管道連接親氧箱,所述氣泵的輸入端連通有進氣管,所述進氣管的上設有空氣過濾裝置,所述親氧箱的另一側與厭氧箱通過第一連接管連通,所述第一連接管上設有第二電子閥門。該微生物的污水處理裝置,通過對厭氧箱的設置,親氧箱內的細菌經過有氧呼吸后,給厭氧細菌創造了無氧的環境,提高了厭氧細菌的生存力,有效的增加厭氧細菌對污水的凈化,整套裝置對資源的消耗較低,提高了人們的工業質量。
權利要求書
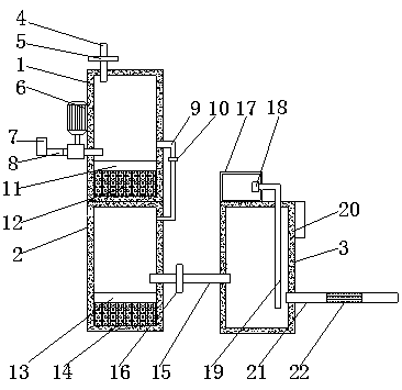
1.一種微生物的污水處理裝置,包括親氧箱(1)、厭氧箱(2)和凈化箱(3),且厭氧箱(2)位于親氧箱(1)的底部,其特征在于:所述親氧箱(1)的頂部連通有進水管(4),所述進水管(4)上設有第一電子閥門(5),所述親氧箱(1)的一側設有氣泵(6),且氣泵(6)的輸出端通過管道連接親氧箱(1),所述氣泵(6)的輸入端連通有進氣管(7),所述進氣管(7)的上設有空氣過濾裝置(8),所述親氧箱(1)的另一側與厭氧箱(2)通過第一連接管(9)連通,所述第一連接管(9)上設有第二電子閥門(10),所述親氧箱(1)的內部固定設有親氧生物膜(11),所述親氧生物膜(11)的底部且位于親氧箱(1)的內部設有親氧培養基(12),所述厭氧箱(2)內部設有厭氧生物膜(13),所述厭氧生物膜(13)的底部且位于厭氧箱(2)的內部設有厭氧培養基(14),所述厭氧箱(2)與凈化箱(3)通過第二連接管(15)連通,所述第二連接管(15)上設有第三電子閥門(16),所述凈化箱(3)的頂部設有消毒箱(17),所述消毒箱(17)的內部設有水泵(18),所述水泵(18)的輸出端連通有消毒管(19),且消毒管(19)遠離水泵(18)的一端貫穿消毒箱(17)和凈化箱(3)并延伸至凈化箱(3)的內部,所述凈化箱(3)遠離第二連接管(15)的一側從上到下依次設有控制器(20)和出水管(21),所述出水管(21)內設有吸附裝置(22),所述控制器(20)與氣泵(6)、水泵(18)、第一電子閥門(5)、第二電子閥門(10)和第三電子閥門(16)電性連接。
2.根據權利要求1所述的一種微生物的污水處理裝置,其特征在于:所述空氣過濾裝置(8)包括過濾網層(81)、過濾棉層(82)和過濾板層(83),且過濾網層(81)、過濾棉層(82)和過濾板層(83)均勻分布在空氣過濾裝置(8)的內部。
3.根據權利要求1所述的一種微生物的污水處理裝置,其特征在于:所述吸附裝置(22)內部包括生化棉層(221)和活性炭層(222)。
4.根據權利要求1所述的一種微生物的污水處理裝置,其特征在于:所述親氧培養基(12)和厭氧培養基(14)上均設有親氧細菌和厭氧細菌。
5.根據權利要求1所述的一種微生物的污水處理裝置,其特征在于:所述消毒箱(17)內設有次氯酸溶液。
說明書
一種微生物的污水處理裝置
技術領域
本發明涉及工業污水處理技術領域,具體為一種微生物的污水處理裝置。
背景技術
中間產物和產品以及生產過程中產生的污染物。隨著工業的迅速發展,廢水的種類和數量迅猛增加,對水體的污染也日趨廣泛和嚴重,威脅人類的健康和安全。因此,對于保護環境來說,工業廢水的處理比城市污水的處理更為重要,工業廢水造成的污染主要有:有機需氧物質污染,化學毒物污染,無工業廢水污染機固體懸浮物污染,重金屬污染,酸污染,堿污染,植物營養物質污染,熱污染,病原體污染等。許多污染物有顏色、臭味或易生泡沫,因此工業廢水常呈現使人厭惡的外觀,造成水體大面積污染,直接威脅人民群眾的生命和健康,因此控制工業廢水尤為重要,而傳統的工業凈水器,需要的電量和動力都需要很大,消耗的資源很多,不適應大量使用。
發明內容
本發明的目的在于提供一種微生物的污水處理裝置,以解決上述背景技術中提出的問題。
為實現上述目的,本發明提供如下技術方案:一種微生物的污水處理裝置,包括親氧箱、厭氧箱和凈化箱,且厭氧箱位于親氧箱的底部,所述親氧箱的頂部連通有進水管,所述進水管上設有第一電子閥門,所述親氧箱的一側設有氣泵,且氣泵的輸出端通過管道連接親氧箱,所述氣泵的輸入端連通有進氣管,所述進氣管的上設有空氣過濾裝置,所述親氧箱的另一側與厭氧箱通過第一連接管連通,所述第一連接管上設有第二電子閥門,所述親氧箱的內部固定設有親氧生物膜,所述親氧生物膜的底部且位于親氧箱的內部設有親氧培養基,所述厭氧箱內部設有厭氧生物膜,所述厭氧生物膜的底部且位于厭氧箱的內部設有厭氧培養基,所述厭氧箱與凈化箱通過第二連接管連通,所述第二連接管上設有第三電子閥門,所述凈化箱的頂部設有消毒箱,所述消毒箱的內部設有水泵,所述水泵的輸出端連通有消毒管,且消毒管遠離水泵的一端貫穿消毒箱和凈化箱并延伸至凈化箱的內部,所述凈化箱遠離第二連接管的一側從上到下依次設有控制器和出水管,所述出水管內設有吸附裝置,所述控制器與氣泵、水泵、第一電子閥門、第二電子閥門和第三電子閥門電性連接。
優選的,所述空氣過濾裝置包括過濾網層、過濾棉層和過濾板層,且過濾網層、過濾棉層和過濾板層均勻分布在空氣過濾裝置的內部。
優選的,所述吸附裝置內部包括生化棉層和活性炭層。
優選的,所述親氧培養基和厭氧培養基上均設有親氧細菌和厭氧細菌。
優選的,所述消毒箱內設有次氯酸溶液。
與現有技術相比,本發明的有益效果是:該微生物的污水處理裝置,通過對親氧箱等結構設置,增加了空氣與親氧細菌的結合,使親氧培養基中的親氧細菌能夠充分的與污水充分結合,減少污水中有害物質,通過對空氣過濾裝置的設置,減少了空氣中的細菌對親氧細菌的影響,提高了親氧細菌與污水的反應,通過對厭氧箱的設置,親氧箱內的細菌經過有氧呼吸后,給厭氧細菌創造了無氧的環境,提高了厭氧細菌的生存力,有效的增加厭氧細菌對污水的凈化,通過對消毒裝置和吸附裝置的設置,使沒有完全降解的細菌通過次氯酸溶液降解,提高了凈化效果,整套裝置對資源的消耗較低,提高了人們的工業質量。



