申請日2016.05.18
公開(公告)日2016.09.28
IPC分類號C02F3/30
摘要
本實用新型公開了一種厭氧好氧一體化污水處理裝置,包括過濾裝置、好氧反應器,所述好氧反應器內套設厭氧反應器且厭氧反應器和好氧反應器同心共壁,所述過濾裝置包括過濾單元和回收單元,所述過濾單元通過第一連接管與厭氧反應器連通,所述過濾單元設置進水管以及斜過濾板,所述斜過濾板位于進水管的下方,所述過濾單元對應位于斜過濾板的底端通過開口與回收單元連通,所述回收單元包括液體回收單元、固體回收單元,所述液體回收單元和固體回收單元之間設置隔離網,所述液體回收單元通過第二連接管與第一連接管連通。本實用新型的有益效果在于:處理效率高、減少裝置占地面積,可同時進行好氧和厭氧處理。
權利要求書
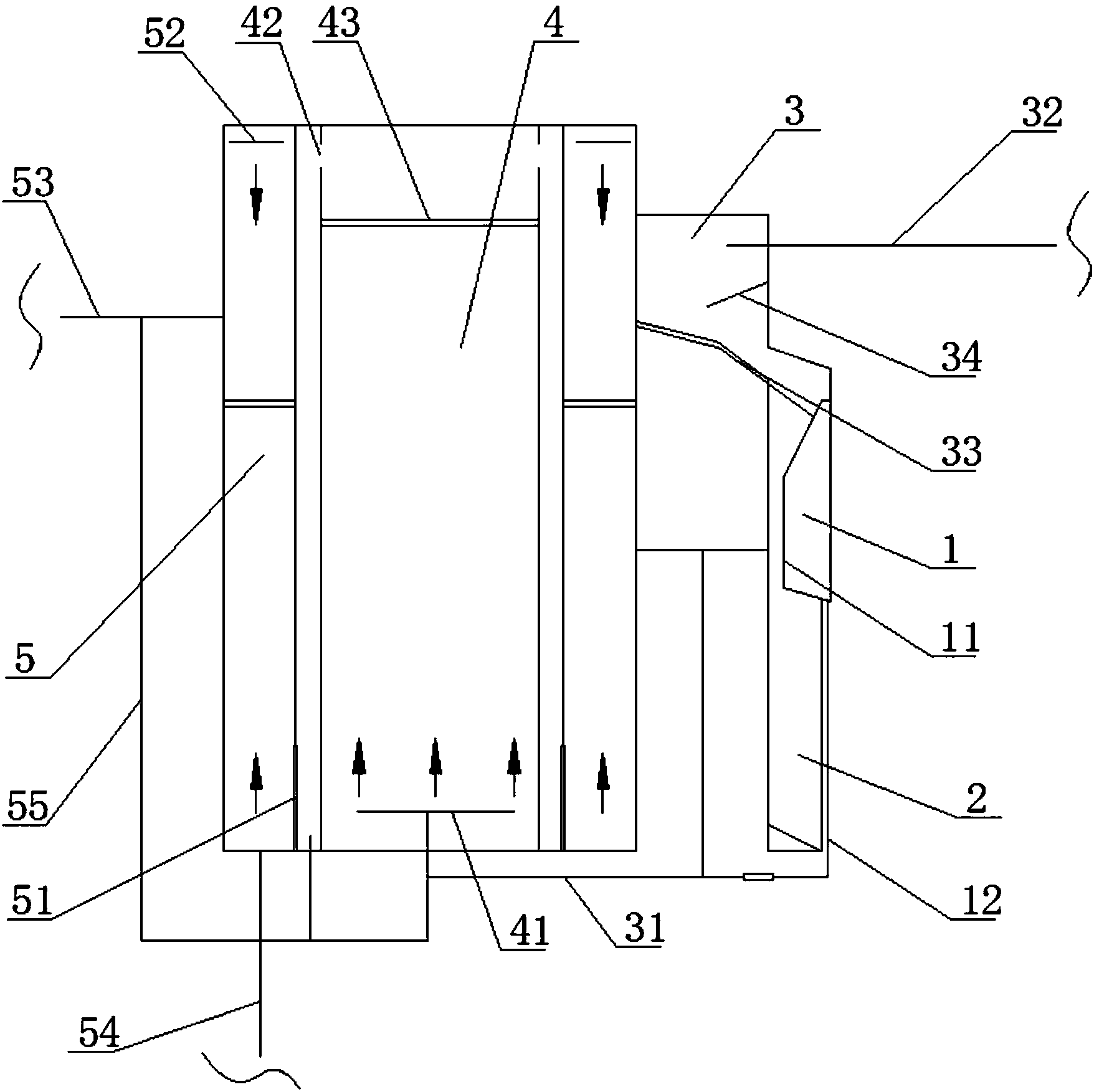
1.一種厭氧好氧一體化污水處理裝置,包括過濾裝置、好氧反應器(5),其特征在于:所述好氧反應器(5)內套設厭氧反應器(4)且厭氧反應器(4)和好氧反應器(5)同心共壁,所述過濾裝置包括過濾單元(3)和回收單元,所述過濾單元(3)通過第一連接管(31)與厭氧反應器(4)連通,所述過濾單元(3)設置進水管(32)以及斜過濾板(33),所述斜過濾板(33)位于進水管(32)的下方,所述過濾單元(3)對應位于斜過濾板(33)的底端通過開口與回收單元連通,所述回收單元包括液體回收單元(1)、固體回收單元(2),所述液體回收單元(1)和固體回收單元(2)之間設置隔離網(11),所述液體回收單元(1)通過第二連接管(12)與第一連接管(31)連通。
2.根據權利要求1所述的一種厭氧好氧一體化污水處理裝置,其特征在于:所述厭氧反應器(4)內設置布水器(41)、厭氧顆粒污泥膨脹床,所述厭氧反應器(4)的頂端設置溢流口(42),所述好氧反應器(5)的底部設置進水口(51),所述進水口(51)與溢流口(42)之間設置水流通道。
3.根據權利要求2所述的一種厭氧好氧一體化污水處理裝置,其特征在于:所述厭氧反應器(4)對應位于溢流口(42)的下方設置濾網(43)。
4.根據權利要求2所述的一種厭氧好氧一體化污水處理裝置,其特征在于:所述好氧反應器(5)的頂部為降流區,所述好氧反應器(5)的底部為升流區,所述降流區內設置曝氣管(52)、出水管(53),所述升流區的底部設置好氧污泥管(54)。
5.根據權利要求4所述的一種厭氧好氧一體化污水處理裝置,其特征在于:所述出水管(53)和水流通道設置回流管(55),所述回流管(55)與第一連接管(31)連通。
6.根據權利要求1所述的一種厭氧好氧一體化污水處理裝置,其特征在于:所述過濾單元(3)對應位于進水管(32)的下方設置導流板(34)。
7.根據權利要求1所述的一種厭氧好氧一體化污水處理裝置,其特征在于:所述隔離網(11)的頂端設置傾斜面。
說明書
一種厭氧好氧一體化污水處理裝置
技術領域
本實用新型主要涉及污水處理領域,具體是一種厭氧好氧一體化污水處理裝置。
背景技術
隨著科技進步以及工業現代化的發展,各類污染越來越嚴重,尤其是水源污染問題,嚴重影響著人們的生活和環境用水,現有市場上雖然出現了很多污水處理裝置,但大多都設計復雜,價格昂貴,不利于工業化生產和應用。
污水的處理是普遍關注的熱點,由于工業污水的種類繁多、水量變化大、水質濃度高、成分復雜,因而處理難度較大。目前國內外大多采用常規技術的聯合處理工藝,這些工藝往往流程長、傳遞過程耗能大、運行成本高,難以達到理想的處理效果。特別是有些高鹽高濃度有機污水,污水有機污染物濃度高、結構穩定、生化性差,常規工藝難以實現達標排放,且處理成本高,給企業“節能減排”帶來極大的壓力。因此,目前急需高效實用的污水處理新技術產品。不同的氧環境有不同的微生物群,微生物也會在環境改變的時候改變行為,從而達到去除不同的污染物質的目的。
實用新型內容
為解決現有技術中的不足,本實用新型提供一種厭氧好氧一體化污水處理裝置,處理效率高、減少裝置占地面積,可同時進行好氧和厭氧處理。
本實用新型為實現上述目的,通過以下技術方案實現:
一種厭氧好氧一體化污水處理裝置,包括過濾裝置、好氧反應器,所述好氧反應器內套設厭氧反應器且厭氧反應器和好氧反應器同心共壁,所述過濾裝置包括過濾單元和回收單元,所述過濾單元通過第一連接管與厭氧反應器連通,所述過濾單元設置進水管以及斜過濾板,所述斜過濾板位于進水管的下方,所述過濾單元對應位于斜過濾板的底端通過開口與回收單元連通,所述回收單元包括液體回收單元、固體回收單元,所述液體回收單元和固體回收單元之間設置隔離網,所述液體回收單元通過第二連接管與第一連接管連通。
所述厭氧反應器內設置布水器、厭氧顆粒污泥膨脹床,所述厭氧反應器的頂端設置溢流口,所述好氧反應器的底部設置進水口,所述進水口與溢流口之間設置水流通道。
所述厭氧反應器對應位于溢流口的下方設置濾網。
所述好氧反應器的頂部為降流區,所述好氧反應器的底部為升流區,所述降流區內設置曝氣管、出水管,所述升流區的底部設置好氧污泥管。
所述出水管和水流通道設置回流管,所述回流管與第一連接管連通。
所述過濾單元對應位于進水管的下方設置導流板。
所述隔離網的頂端設置傾斜面。
對比與現有技術,本實用新型有益效果在于:
1、本實用新型的反應器為一體式厭氧好氧組合工藝,也可根據需求,對單個階段進行獨立分析。一體化組合工藝既節省了占地,降低了投資,還有效地通過回流提高了反應器的處理效率。
2、本實用新型厭氧反應器內設置布水器、厭氧顆粒污泥膨脹床,在厭氧狀態下,污水中的有機物被厭氧細菌分解、代謝、消化,使得污水中的有機物含量大幅減少。
3、本實用新型所述厭氧反應器對應位于溢流口的下方設置濾網,對厭氧反應器的出水進行過濾,有效防止厭氧污泥進入好氧反應器內。
4、本實用新型好氧反應器的頂部為降流區,所述好氧反應器的底部為升流區,升流區位于底部,水流上升過程中會帶動好氧污泥向上流動,有利于好氧污泥在好氧反應器內均勻分布,增加好氧菌與污水的接觸面積,進一步把有機物分解成無機物,增加污水處理效率。
5、本實用新型回流管與第一連接管連通,進一步增加本實用新型的處理效率。
6、本實用新型過濾單元對應位于進水管的下方設置導流板,有利于過濾單元內的固液分離。
7、本實用新型隔離網的頂端設置傾斜面有利于回收單元內的固液分離。



