申請日2016.05.18
公開(公告)日2016.09.28
IPC分類號E03C1/12
摘要
本實用新型公開一種凈水器廢水回收利用裝置,包括水桶,所述水桶上端設有水桶蓋,水桶上設有水龍頭;所述水桶或水桶蓋連接進水管,所述水桶內的水過滿時,水通過水桶上的溢流管溢流出去或者通過水位驅動機械浮球閥停止進水,多余的廢水通過壓力驅動壓力閥向外排放;本實用新型能夠使凈水器排出的廢水得到回收利用,能夠節約大量的水,水桶上裝有水龍頭取水更方便;本裝置結構簡單,安裝使用方便,性能可靠,適用于家庭、食堂、辦公樓、醫院、機關、學校、企業單位等使用。
權利要求書
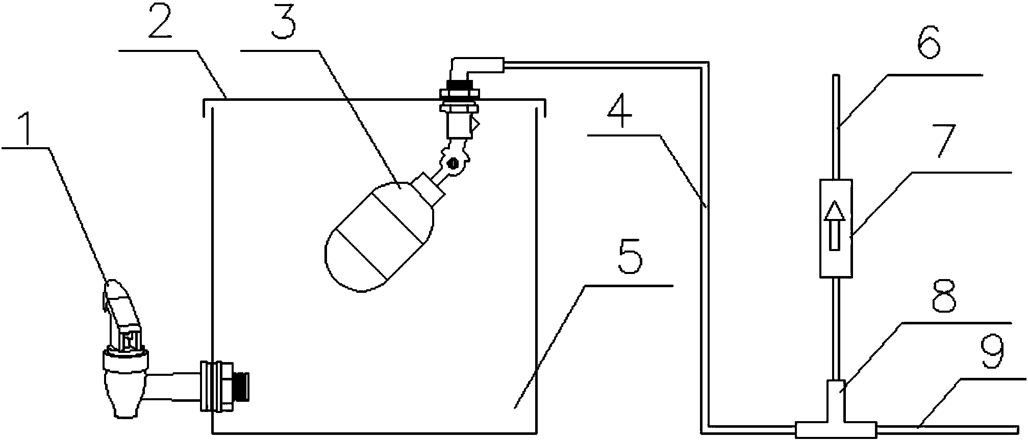
1.一種凈水器廢水回收利用裝置,包括水桶(5),其特征在于:所述水桶(5)上端設有水桶蓋(2),水桶上設有水龍頭(1);所述水桶或水桶蓋連接進水管(9),所述水桶內的水過滿時,水通過水桶上的溢流管(10)溢流出去或者通過水位驅動機械浮球閥(3)停止進水,并通過壓力導通壓力閥(7)對外排放廢水。
2.根據權利要求1所述的一種凈水器廢水回收利用裝置,其特征在于:所述水桶蓋(2)與進水管(9)之間設有浮球連接管(4),浮球連接管(4)一端與機械浮球閥(3)連接,另一端與三通接頭(8)的第一出水口連接,所述三通接頭(8)的第二出水口與排水管(6)連接,所述三通接頭與排水管之間設有壓力閥(7),所述三通接頭進水口與進水管(9)連接。
3.根據權利要求2所述的一種凈水器廢水回收利用裝置,其特征在于:所述壓力閥(7)內部設有橡膠堵頭和彈簧。
4.根據權利要求3所述的一種凈水器廢水回收利用裝置,其特征在于:所述壓力閥(7)所述橡膠堵頭替換為閥芯和橡膠O型圈。
5.根據權利要求1所述的一種凈水器廢水回收利用裝置,其特征在于:所述溢流管設在水桶的上端。
6.根據權利要求1所述的一種凈水器廢水回收利用裝置,其特征在于:水龍頭(1)固定在水桶的下端。
7.根據權利要求1或2所述的一種凈水器廢水回收利用裝置,其特征在于:所述進水管(9)和浮球連接管(4)上設有手動球閥。
8.根據權利要求1所述的一種凈水器廢水回收利用裝置,其特征在于:所述機械浮球閥(3)置于水桶蓋上或者水桶的上端。
9.根據權利要求1所述的一種凈水器廢水回收利用裝置,其特征在于:所述進水管(9)連接水桶蓋上或水桶上端且高于溢流管。
說明書
一種凈水器廢水回收利用裝置
技術領域
本實用新型涉及的是一種飲用水處理器裝置,特別是一種凈水器廢水回收利用裝置。
背景技術
現在市場上凈水器在使用中會產生大量的廢水(特別是反滲透凈水器純水和廢水的比例為1:3),廢水是直接排放至下排水管道,造成水資源的大量的浪費,有的公司已將凈水器優化到純水與廢水比例為1:1,這種方法對濾芯損耗較大,后期維護費用較高。凈水器所產生的廢水水質比自來水稍濃縮了一點,但可以回收后用來洗手、洗菜、洗碗、拖地、沖馬桶、養金魚、澆花、澆菜等,從而節約水資源。
在收集廢水時,收集器容易過滿溢出,導致室內廢水橫流,為了解決廢水在容器內過滿溢流問題,以及廢水收集問題,申請人提出一種凈水器廢水回收利用裝置。
實用新型內容
本實用新型為了解決現有凈水器的不足之處,實現對廢水的收集再利用的目的,可以解決溢流問題,提出一種凈水器廢水回收利用裝置。
本實用新型采用的技術方案如下:
一種凈水器廢水回收利用裝置,包括水桶,所述水桶上端設有水桶蓋,水桶上設有水龍頭;所述水桶或水桶蓋連接進水管,所述水桶內的水過滿時,水通過水桶上的溢流管溢流出去或者通過水位驅動機械浮球閥停止進水,并通過壓力導通壓力閥7對外排放廢水。
進一步的,所述水桶蓋與進水管之間設有浮球連接管,浮球連接管一端與機械浮球閥連接,另一端與三通接頭的第一出水口連接,所述三通接頭的第二出水口與排水管連接,所述三通接頭與排水管之間設有壓力閥,所述三通接頭進水口與進水管連接。
進一步的,所述壓力閥內部設有橡膠堵頭和彈簧。
進一步的,所述壓力閥所述橡膠堵頭替換為閥芯和橡膠O型圈。
進一步的,所述溢流管設在水桶的上端。
進一步的,水龍頭固定在水桶的下端。
進一步的,為了便于水桶的移動,提高水桶使用的靈活性,所述進水管或浮球連接管上設有手動球閥。
進一步的,所述機械浮球閥置于水桶蓋上或者水桶的上端。
進一步的,所述進水管連接水桶蓋上或水桶上端且高于溢流管。
與現有技術相比,本實用新型具有如下優點:
能夠使凈水器排出的廢水得到回收利用,能夠節約大量的水,水桶的下端裝有水龍頭取水更方便;
水桶可以自動將過滿的廢水通過溢流管進行外排,或者通過水位驅動機械浮球閥關閉進水,通過水壓導通壓力閥對外排放廢水,不用擔心水桶廢水過滿溢出。
本裝置結構簡單,安裝使用方便,性能可靠,適用于家庭、食堂、辦公樓、醫院、機關、學校、企業單位等使用。



