申請日2016.05.18
公開(公告)日2016.10.12
IPC分類號B01D36/04
摘要
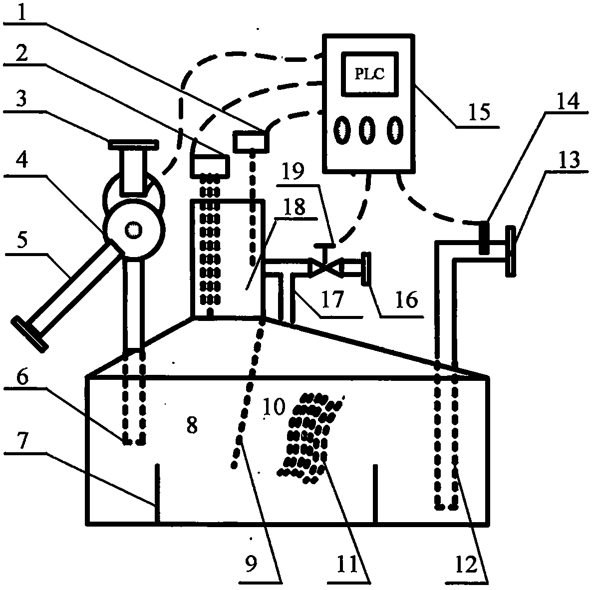
一種節能型餐飲廢水兩級高效凈化處理方法及設備,其特點是將重力沉降技術與油滴粗粒化技術相結合,設置了一級油水分離室(8)和二級油水分離室(10),并在二級油水分離室內安裝有油滴粗粒化的親水疏油網(11),大大地提高了油水分離效果;同時通過程序控制系統(15),借助油脂厚度傳感器(1)、水流傳感器(14)、電動排油閥(19)等,實現對固渣分離器(4)、油脂排放以及電加熱器(2)等運行過程的自動控制,大幅度減少了設備運行能耗。此法用于餐飲廢水凈化處理油水分離效率高、能耗低、設備占地面積小、自動化控制、運行穩定。
權利要求書
1.一種節能型餐飲廢水兩級高效凈化處理方法,其特征在于:其步驟包括:
(1)固渣分離:從廚房排出的餐飲廢液首先進入固渣分離器,通過過濾網將廢液中的固體殘渣截留下來,通過推壓或螺旋推進方式將固渣排出,并借助高位差使固體殘渣自動下落到固渣收集器中,固渣分離器在有廚房餐飲廢液進入時才會自動啟動工作,無餐飲廢液進入時不工作;
(2)兩級油水分離:除去固渣的廢液先進入一級油水分離室,顆粒較大的油滴在浮力作用下上浮與廢液分離;之后的廢液進入二級油水分離室,設置在二級油水分離室中的親水疏油網會讓廢液中水分通過,而將小粒徑的油滴和部分溶解油截留下來,促使其匯集、增加粒徑,實現油水的進一步分離;
(3)自控排油:當油脂收集腔內油脂層厚度到達設定值后,油脂厚度傳感器將信號傳遞到控制系統,通過程序控制器發出指令,啟動電加熱器將油脂溫度提高到35℃融化,然后停止加熱,并打開電動排油閥排出油脂到油脂收集器,油脂排完后自動關閉電動排油閥。不排油期間,電加熱器不工作。
2.根據權利要求1所述的節能型餐飲廢水兩級高效凈化處理方法所采用的設備,其特征在于:該設備包括:進口管(3)、固渣分離器(4)、排渣管道(5)、降液管(6)、擋板(7)、一級油水分離室(8)、隔離板(9)、二級油水分離室(10)、設置在二級油水分離室內的親水疏油網(11)、設置在二級油水分離室上部與油脂收集腔相連的連通器(17)、油脂收集腔(18)、分離后的廢水排水管(12)和排水管出口(13)、設置在排水管上的水流傳感器(14)、控制柜(15)、設置在排油管上的電動排油閥(19)和排油口(16)、以及設置在油脂收集腔(18)內的電加熱器(2)和油脂厚度傳感器(1)。
3.根據權利要求2所述的設備,其特征在于:設有一級和二級兩個油水分離室。
4.根據權利要求2所述的設備,其特征在于:二級油水分離室上方設置有與油脂收集腔相連的連通器(17)。
5.根據權利要求2所采用的設備,其特征在于:二級油水分離室內設置有親水疏油網(11)。
說明書
一種節能型餐飲廢水兩級高效凈化處理方法及設備
技術領域
本發明屬于環境工程技術領域,具體涉及一種節能型餐飲廢水高效凈化處理方法及設備。
背景技術
隨著城市化進程的推進及人民生活水平的提高,賓館、酒店、食堂的數量和規模不斷增大,在外就餐人數也大幅度提升,至使當今餐飲行業產生大量餐飲廢水。據不完全統計,我國餐飲業的廢水仍以每年10%以上的速度增長。餐飲廢水除了含有動植物油脂類物質外,還含有大量的懸浮物質。動植物排入管道后,容易在管道壁面上結垢,造成管道通道縮小,致使公共排水管網堵塞。同時,餐飲廢水直接排入水體后,油類物質漂浮于水體表面.影響水體的復氧及自然凈化過程,嚴重污染周圍環境。可見餐飲廢水是高濃度污染源,是城市周圍水體受污染的主要原因之一。
為此國家明文規定,以集體食堂和大中型餐飲單位為重點,推行安裝油水隔離池、油水分離器等設施進行餐飲廢水處理。目前國內幾乎所有的餐飲行業產生的餐飲廢水的治理仍然采用傳統的隔油池靜止處理方法,一般采用的是三倉式隔油池。從油水分離的試驗結果看,廢水在靜止的隔油池中的停留時間越長(30分鐘以上),從水中分離浮油的效果越好。由于餐飲廢水中含有一定的動物油脂,容易在隔油池及其連接管道內壁凝固并粘附在其表面,時間一長就造成管道腐蝕及堵塞,引起污水橫溢,發出難聞的惡臭氣味,影響周圍環境和周邊居民的居住,甚至人們的通行。為了解決這一社會問題,人們試圖研究開發小型化高效餐飲廢水處理設備,用于取代傳統的隔油池來處理餐飲廢水。
目前投入市場使用的為數不多的餐飲廢水處理設備基本上仍然采用重力沉降技術分離廢水中的油脂和固渣。從操作方式看,這類設備可分為手動操作和自動化操作兩大類。雖然手動操作能耗較低,但廢液分離后油脂的收集、設備內部沉積的污泥清除等工作必須通過人工操作完成,不能精確控制,操作環境惡劣,無法適應社會發展的需求。自動化操控設備可以大大減輕人工操作,但由于油脂部分需要加熱、固渣分離等機械設備需要電機等耗能設備,特別是這些耗能設備不分晝夜都在工作,會致使能量消耗大幅度提高;更為重要的是這些設備采用的技術仍然僅為重力沉降分離技術,凈化后的廢水中含油量依舊較高。若不進行進一步處理,無法達到就地排放的標準,大大地限制了它的使用范圍。
發明內容
本發明要解決的技術問題是針對現有餐飲廢水分離技術的上述不足,提供一種將重力沉降分離技術和微小油珠粗粒化技術相結合、利用水流傳感技術和程序控制技術實現低能耗餐飲廢水兩級高效凈化處理的方法。
為了解決上述技術問題,本發明采用如下技術方案:一種節能型餐飲廢水兩級高效凈化處理方法,其步驟包括:
(1)固渣分離及自動控制:從廚房下水管流出的餐飲廢水,通過管道先進入帶有篩孔的濾網,并將固渣攔截,攔截在濾網表面的固渣通過螺旋傳輸器或者刮板傳送到出口處,經過管道收集于固渣桶中;同時在油水分離設備的進口或者出口管道上安裝水流傳感器,當有餐飲廢水進入設備時,水流傳感器會發出有水流的信號給自控系統,自控系統確定信號無誤后,將控制除渣螺旋傳輸器或刮板開始除渣。沒有餐飲廢水進入時,自控系統將停止除渣工作。這樣不但可以減少設備磨損,也可以大幅度減少耗能。
(2)兩級高效油水分離:通過濾網的油水混合物經管道流入第一油水分離系統(室),在重力作用下,大油珠因密度小而上浮進入油脂收集腔,從而完成油水的一級分離;未能上浮的微小油珠以及水中溶油隨水進入第二油水分離系統(室),與親水疏油濾網相遇,此時微小油珠和部分溶油會被親水疏油濾網截留,隨著油珠的不斷增多,油珠粒徑逐漸增大,上浮進入油脂收集腔,從而完成油水的二級分離。經過二級油水分離凈化處理后的廢水,通過管道排出。
(3)自控加熱和排油:在油脂收集腔設置加熱器,控制溫度可設置在25-60℃之間,當油脂層厚度達到一定值時,油脂層厚度測定傳感器給自控系統發出信號,自控系統確定信號無誤后,啟動加熱器將油脂腔內的油脂加熱到25℃以上,到達溫度設定值后,自控系統控制加熱器停止加熱,同時將安裝在油脂收集腔和油脂收集桶之間管道上的自動排油閥門打開排油;當油脂層厚度低于一定值時,自動關閉排油閥。這樣不但可以降低操作能耗,并有利于延長加熱器等設備的使用壽命;
本發明要解決的另一個技術問題是:提供一種上述節能型餐飲廢水兩級高效凈化處理方法所采用的設備,該設備包括:餐飲廢水進水管、固渣分離設備、一級油水分離室、二級油水分離室、二級油水分離室內的親水疏油濾網、油脂收集腔、凈化處理后出水管、排油管、排渣管、排污泥罐、安裝在排油管路上的自動排油閥門、油脂收集桶、固渣收集桶、污泥收集桶、以及安裝在各個收集桶上的物位傳感器、安裝在油脂收集腔內的油脂厚度傳感器、安裝在出水管(或進水管)上的水流傳感器、以及一個含有程序控制器的自控裝置等。
本發明的上述設備中所述的一級油水分離室和二級油水分離室可以是兩個單獨的容器、也可以集成為一體,中間用一擋板隔開。
本發明的上述設備中所述的二級油水分離室內的親水疏油濾網是由超親水疏油材料或者表面涂有超親水疏油劑材料做成的濾網、膜或板,其中超親水疏油材料可以是聚甲基丙烯酸甲酯、聚甲基硅氧烷、含氟聚合物類、聚己內酯、氟化烷基硅烷等物質中的一種、或兩種及兩種物質的混合物,或者上述物質與納米粒子如氧化硅、氧化鋅、二氧化鈦、氧化鋁等的復合物。
本發明的上述設備中所述的水流傳感器是指常用的機械式、微熱式或者射頻導納式水流感應器。
本發明的上述設備中所述的安裝在油脂收集腔內的油脂厚度傳感器是指射頻導納式物位計、圖像識別式物位計等。
本發明的上述設備中所述的安裝在各個收集桶上的物位傳感器是指射頻導納式物位計,重量式傳感器等。
本發明的上述設備中所述的安裝在排油管路上的自動閥門是指各類電動閥門,如電動磁閥、電動球閥、電動截止閥等。
本發明的上述設備中所述的自控裝置是PLC程序控制器、人機交互觸摸屏、熱繼電器、斷路器、通信電纜等組成。
本發明的優點和有益效果如下:
1.高度集成化,占地面積小;
2.人機交互自動程序控制,大幅度節約能源,減少人工操控需求。如除渣機的運行是在有水流進入設備時運行,沒有水流進入時除渣機停止運行,減少空轉而消耗能量;同時,設置在油脂收集腔內的電加熱器只有排油前開始加熱,提高溫度,有利于排油。
3.油水分離效率增高,采用油珠粗化技術和兩級分離手段,使得油水分離效率進一步提高,出口水中油脂含量遠遠低于國家排放標準的要求。



