申請日2016.05.18
公開(公告)日2016.10.12
IPC分類號B01D21/24; B01D21/02
摘要
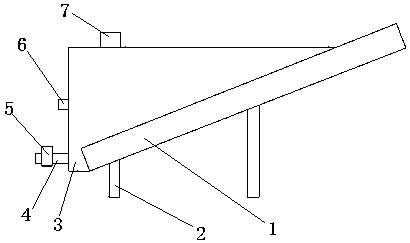
一種污水處理提砂機,屬于污水處理領域,包括砂子輸送機,支架,水箱,放空管道,放空閥門,溢流管,進砂口;所述的砂子輸送機安裝在支架上;所述的支架安裝在砂子輸送機的下部;所述的水箱安裝在砂子輸送機的下半部,將砂子輸送機的下半部包裹在水箱內;所述的放空管道安裝在水箱的最底部,與水箱內部連通;所述的放空閥門安裝在放空管道上;所述的溢流管安裝在水箱的側壁上,位于水箱側壁的高度二分之一處;所述的進砂口設置在水箱的上部,具有能夠減少砂子浸水時間,減少砂子輸送過程中的含水量,方便污泥砂子運輸,減少堆砂處的環境污染的特點。
權利要求書
1.一種污水處理提砂機,其特征在于:包括砂子輸送機,支架,水箱,放空管道,放空閥門,溢流管,進砂口;所述的砂子輸送機安裝在支架上,為螺旋式輸送機;所述的支架安裝在砂子輸送機的下部;所述的水箱安裝在砂子輸送機的下半部,將砂子輸送機的下半部包裹在水箱內;所述的放空管道安裝在水箱的最底部,與水箱內部連通;所述的放空閥門安裝在放空管道上;所述的溢流管安裝在水箱的側壁上,位于水箱側壁的高度二分之一處;所述的進砂口設置在水箱的上部,與水箱內部連通。
說明書
一種污水處理提砂機
技術領域
本實用新型屬于城市污水處理領域,特別涉及一種污水處理提砂機。
背景技術
在污水處理廠中,城市污水進入到污水處理廠后,經過初級沉淀,抽砂,攪拌,生物反應,再次沉淀,過濾等工序進入回用水系統,剩余的水中的污泥進入污泥濃縮池,進一步提高污泥的濃度,再通過污泥泵將含水的污泥輸送到污泥池,進一步沉淀,再由污泥泵將污泥池的污泥抽出到污泥脫泥機將污泥脫水,以利于后續的運輸和進一步處理,而經過處理的污水就能夠實現達標排放或者重復利用;在城市污水剛進入污水處理廠時,污水中含有的雜質比例較大,經過初步沉淀,其沉淀到沉淀池底部的雜質大多為砂子類的比重較大的雜質,經過提砂系統,被送到提砂機進行砂水分離;現有的提砂機大多采用螺旋式提砂機,在提砂機一端有水箱,其水箱進口接納來自沉淀池的提砂系統輸送來的砂水混合物,而比重較大的固體雜質被螺旋輸送器輸送到提砂機的出口端,水被留在水箱內;現有的提砂機水箱大多采用在水箱頂部設置溢流口,這樣是多半的輸送機浸沒在水中,使得輸送的砂子含水量大,到達提砂機出口端時仍然有大量水流淌,造成污泥砂子運輸不便,污水還會造成砂堆處環境污染。
發明內容
針對現有的污水處理廠提砂機存在的上述問題,本實用新型提出一種污水處理提砂機,其特征在于:包括砂子輸送機,支架,水箱,放空管道,放空閥門,溢流管,進砂口;所述的砂子輸送機安裝在支架上,為螺旋式輸送機;所述的支架安裝在砂子輸送機的下部;所述的水箱安裝在砂子輸送機的下半部,將砂子輸送機的下半部包裹在水箱內;所述的放空管道安裝在水箱的最底部,與水箱內部連通;所述的放空閥門安裝在放空管道上;所述的溢流管安裝在水箱的側壁上,位于水箱側壁的高度二分之一處;所述的進砂口設置在水箱的上部,與水箱內部連通。
有益效果
本實用新型的有益效果在于,能夠減少砂子浸水時間,減少砂子輸送過程中的含水量,方便污泥砂子運輸,減少堆砂處的環境污染。



