申請日2016.05.18
公開(公告)日2016.12.14
IPC分類號B01D21/24
摘要
本實用新型公開了一種矩形二沉池的吸泥管以及矩形二沉池的污泥吸排裝置,預埋于混凝土池池底以下且其上表面與混凝土池底平面相平,在所述的吸泥管上表面設置有多個吸泥孔,所述的吸泥管兩端靠混凝土封閉且在上表面一端形成有排泥孔,所述的吸泥管的截面面積由排泥孔端向另一端逐步減小,吸泥孔的孔徑從排泥孔端向另一端逐漸增大。本實用新型的吸泥管預埋于混凝土池底,帶有吸泥孔的平面與混凝土二沉池的池底相平,吸泥管內部平滑,吸泥管截面相對排泥孔由遠及近逐漸變大,保證各截面處流速相當,通過上表面的不同尺寸的吸泥孔,將池底沉淀的污泥均勻的抽出池外,使池底污泥層厚度均勻穩定,同時達到回流污泥濃度最佳的效果。
權利要求書
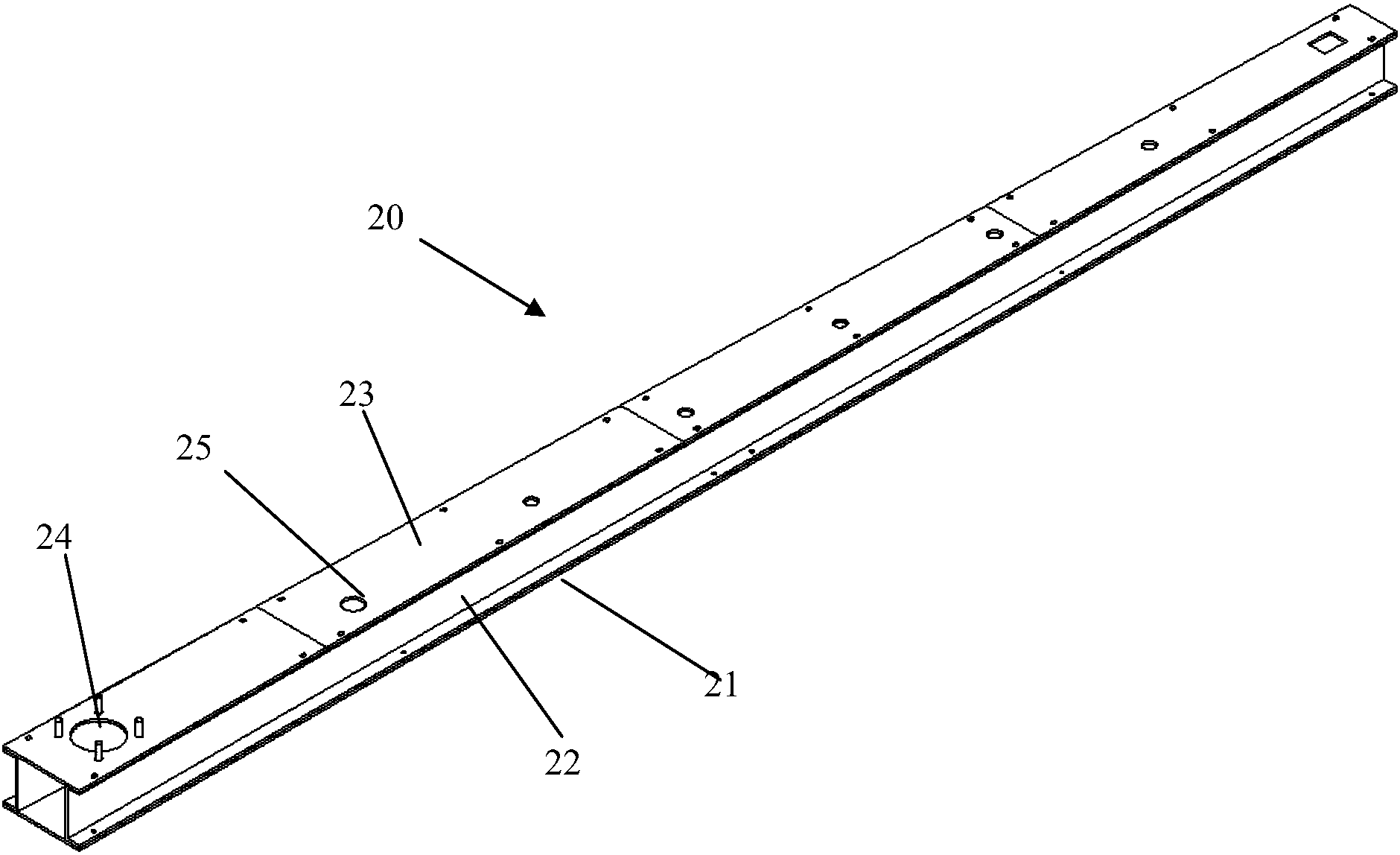
1.一種矩形二沉池的吸泥管,其特征在于,預埋于混凝土池池底以下且其上表面與混凝土池底平面相平,在所述的吸泥管上表面設置有多個吸泥孔,所述的吸泥管兩端靠混凝土封閉且在上表面一端形成有排泥孔,所述的吸泥管的截面面積由排泥孔端向另一端逐步減小,吸泥孔的孔徑從排泥孔端向另一端逐漸增大。
2.如權利要求1所述的吸泥管,其特征在于,所述的吸泥管包括底板,與所述的底板固定連接的兩側板,覆蓋在所述的兩個側板頂部并構成上表面的蓋板,所述的兩側板等高且間距從排泥孔端向另一端逐步減小。
3.如權利要求1所述的吸泥管,其特征在于,所述的排泥孔環周設置有連接螺栓。
4.如權利要求2所述的吸泥管,其特征在于,所述的兩側板包括側立板以及形成在側立板上端和下端的連接邊,所述的底板和側板以及側板和蓋板分別依靠螺栓連接。
5.一種矩形二沉池的污泥吸排裝置,其特征在于,包括如權利要求1-4任一項所述的吸泥管,以及設置在排泥渠中的排泥套筒,包括與所述的排泥孔固定連接的內套筒,可旋轉地套設在內套筒外部的外套筒,所述的內套筒和外套筒的對應處分別開設置有內排泥口和外排泥口,通過鉸接內排泥口和外排泥口的重疊度即可實現排放流量。
6.如權利要求5所述的污泥吸排裝置,其特征在于,其特征在于,還包括與所述的外套筒頂部固定連接的調節桿。
7.如權利要求5所述的污泥吸排裝置,其特征在于,其特征在于,還包括固定設置且中心形成有允許外套筒穿過的通孔的指示板,在所述的外套筒頂部設置有指示部,在所述的指示板上形成有與所述的指示部對應的標識部。
8.如權利要求5所述的污泥吸排裝置,其特征在于,其特征在于,所述的內排泥口的形狀為長方形,所述的外排泥口的形狀為直角梯形,所述的直角梯形的頂邊和底邊均與外套筒的軸向垂直設置。
9.如權利要求5所述的污泥吸排裝置,其特征在于,其特征在于,所述的內套筒底部形成有連接法蘭以實現固定連接。
10.如權利要求7所述的污泥吸排裝置,其特征在于,所述的指示部為與所述的外套筒固定連接的定位片,所述的標識部為形成在所述的通孔環周可匹 配地將所述的定位片嵌位其中的凹槽。
說明書
矩形二沉池的吸泥管及污泥吸排裝置
技術領域
本實用新型涉及污泥處理技術領域,特別是涉及一種矩形二沉池的污泥吸排裝置。
背景技術
二沉池是活性污泥系統的重要組成部分,將生化處理后混和液進行固液分離,用以去除生物懸浮固體的沉淀池,以保證最終出水水質。在活性污泥法中,從曝氣池流出的混合液在二次沉淀池中進行泥水分離和污泥濃縮,澄清后的出水溢流外排,濃縮的活性污泥部分回流至曝氣池,其余作為剩余污泥外排。矩形二沉池比圓形二沉池節省占地面積,且可作為地下形式,有利于污水廠整體規劃,因此被廣泛應用。在矩形二次沉淀池底設置吸泥管,在排泥渠中設置污泥套筒閥來控制回流污泥量。吸泥管作為調節活性污泥回流至曝氣池的重要設備,其控制池底沉淀污泥層的高度和回流污泥濃度對整個污水處理系統的處理效能密切相關。
矩形二沉池的吸泥管多用土建預留矩形溝槽加開孔蓋板的形式,其中土建預留溝槽的方式截面為等截面,且土建尺寸誤差大,難于保證各截面平滑變化,各截面流速變化大。同時現有的提升式排泥套筒閥,其調節時間長,且無法準確調節污泥的回流量,排泥渠土建需要深度大,而且費用高,施工周期長。
實用新型內容
本實用新型的目的是針對現有技術中存在的技術缺陷,而提供一種矩形二沉池的污泥吸排裝置。
為實現本實用新型的目的所采用的技術方案是:
一種矩形二沉池的吸泥管,預埋于混凝土池池底以下且其上表面與混凝土池底平面相平,在所述的吸泥管上表面設置有多個吸泥孔,所述的吸泥管兩端靠混凝土封閉且在上表面一端形成有排泥孔,所述的吸泥管的截面面積由排泥孔端向另一端逐步減小,吸泥孔的孔徑從排泥孔端向另一端逐漸增大。
所述的吸泥管包括底板,與所述的底板固定連接的兩側板,覆蓋在所述的兩個側板頂部并構成上表面的蓋板,所述的兩側板等高且間距從排泥孔端向另一端逐步減小。
所述的排泥孔環周設置有連接螺栓。
所述的兩側板包括側立板以及形成在側立板上端和下端的連接邊,所述的底板和側板以及側板和蓋板分別依靠螺栓連接。
一種矩形二沉池的污泥吸排裝置,包括所述的吸泥管,以及設置在排泥渠中的排泥套筒,包括與所述的排泥孔固定連接的內套筒,可旋轉地套設在內套筒外部的外套筒,所述的內套筒和外套筒的對應處分別開設置有內排泥口和外排泥口,通過鉸接內排泥口和外排泥口的重疊度即可實現排放流量。
還包括與所述的外套筒頂部固定連接的調節桿。
還包括固定設置且中心形成有允許外套筒穿過的通孔的指示板,在所述的外套筒頂部設置有指示部,在所述的指示板上形成有與所述的指示部對應的標識部。
所述的內排泥口的形狀為長方形,所述的外排泥口的形狀為直角梯形,所述的直角梯形的頂邊和底邊均與外套筒的軸向垂直設置。
所述的內套筒底部形成有連接法蘭以實現固定連接。
所述的指示部為與所述的外套筒固定連接的定位片,所述的標識部為形成在所述的通孔環周可匹配地將所述的定位片嵌位其中的凹槽。
與現有技術相比,本實用新型的有益效果是:
本實用新型的吸泥管預埋于混凝土池底,帶有吸泥孔的平面與混凝土二沉池的池底相平,吸泥管內部平滑,吸泥管截面相對排泥孔由遠及近逐漸變大,保證各截面處流速相當,通過上表面的不同尺寸的吸泥孔,將池底沉淀的污泥均勻的抽出池外,使池底污泥層厚度均勻穩定,同時達到回流污泥濃度最佳的效果。同時便于安裝,土建費用省。



