申請日2017.09.22
公開(公告)日2018.01.05
IPC分類號C02F1/40; C02F103/10
摘要
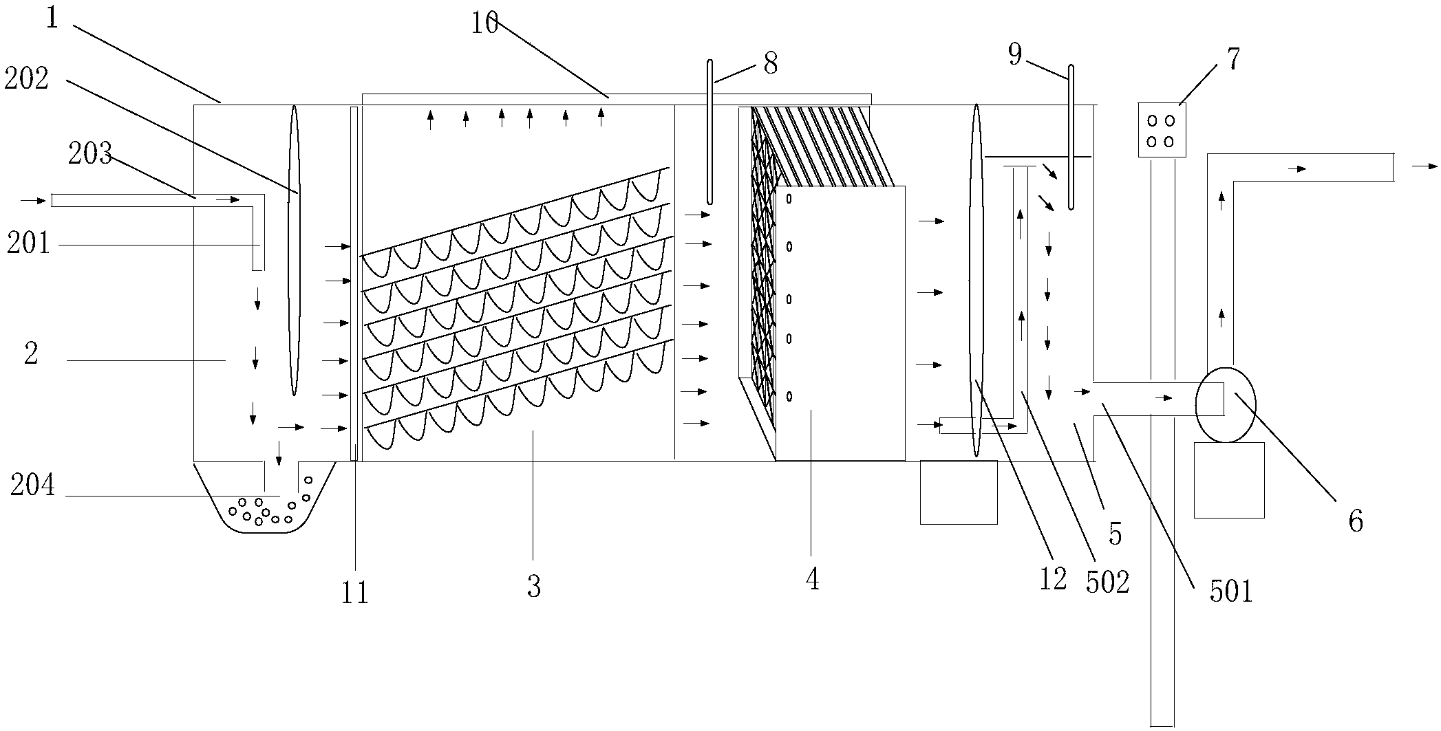
本發明公開了一種含油污水分離器。分離器一端殼體上至少設有進口,另一端殼體上至少設有出口;進口至出口依次設預處理裝置,用于沉降且貯存含油污水中污泥;斜板分離裝置,其頂端和底端分別與分離器頂端和底端緊密連接,用于一次油水分離;凝聚分離裝置,其頂端和底端分別與分離器的頂端和底端緊密連接,用于二次油水分離;污水輸送裝置,用于容納和輸送待排污水;斜板分離裝置和凝聚分離裝置的頂端處設有用于接收和容納分離出油的油槽;所述出口連接有輸送泵,用于將污水從分離器中抽出。該分離器可分離粒徑為20微米以上油滴,除油率99%,分離的污水達到國家A1級油田注水標準,且成本降半,能耗低,體積小,使用壽命5‑8年。
權利要求書
1.一種含油污水分離器,其特征在于,所述分離器的一端至少設有含油污水進口,另一端至少設有污水排出出口;從所述進口至所述出口,所述分離器內依次包括:
預處理裝置,用于分離所述含油污水中污泥;
斜板分離裝置,其頂端和底端分別與所述分離器的頂端和底端緊密連接,所述斜板分離裝置用于一次油水分離;
凝聚分離裝置,其頂端和底端分別與所述分離器的頂端和底端緊密連接,所述凝聚分離裝置用于二次油水分離;
所述分離器的頂端處設有用于容納所述斜板分離裝置與所述凝聚分離裝置分離出油的油槽;所述出口連接輸送泵,用于將所述含油污水中的污水從所述分離器中抽出;
其中,所述凝聚分離裝置包括第二框架和固定于所述第二框架內的多個凝聚網;所述凝聚網包括多個單元濾網,所述單元濾網是由聚氯乙烯絲橫向單向編織形成的底面朝上且敞口的中空倒四棱錐,多個單元濾網敞口朝上相互連接形成所述凝聚網;其中,相鄰兩條聚氯乙烯絲的間距為0.3mm-0.5mm,所述聚氯乙烯絲為長方體;所述凝聚網敞口朝上水平放置時,所述倒四棱錐的側面與水平方向形成10°-30°夾角。
2.根據權利要求1所述的一種含油污水分離器,其特征在于,所述預處理裝置包括進液管道、飛濺分離盤及污泥貯斗,所述進液管道穿過所述進口伸入所述預處理裝置內,所述飛濺分離盤的頂端與所述分離器的頂部連接,所述飛濺分離盤豎直設于所述預處理裝置內,所述飛濺分離盤的底端與所述分離器的底部具有間距,所述間距用于所述含油污水通過,所述預處理裝置的底部設有污泥貯斗,所述污泥貯斗用于容納所述含油污水中沉降濾出的污泥。
3.根據權利要求1所述的一種含油污水分離器,其特征在于,所述分離器包括污水輸送裝置,用于容納和輸送所述含油污水中分離出的污水;所述斜板分離裝置與所述污水輸送裝置之間設有第一液位傳感器,所述第一液位傳感器穿過所述分離器頂部開設的通孔插入所述斜板分離裝置與所述污水輸送裝置之間的液體中以檢測污水液位;所述污水輸送裝置內設有第二液位傳感器,所述第二液位傳感器穿過所述分離器靠近所述污水輸送裝置的頂部開設的通孔插入所述污水輸送裝置內液體以檢測污水液位。
4.根據權利要求3所述的一種含油污水分離器,其特征在于,所述斜板分離裝置與所述污水輸送裝置之間設有污水擋板,所述污水擋板的頂端和底端分別對應和所述分離器的頂端和底端緊密連接,所述污水擋板底端設有一通孔,輸送管道一端穿過所述通孔后豎直向上伸入所述污水輸送裝置內,所述輸送管道的另一端排出污水,所述污水從所述分離器的出口處由所述輸送泵抽出;所述分離器外部設有操控面板,用于控制所述污水分離器運行。
5.根據權利要求1所述的一種含油污水分離器,其特征在于,所述斜板分離裝置包括第一框架和斜板,所述斜板具有相對的兩面,一面為平面,另一面為波紋面;所述斜板的平面朝上、波紋面朝下且所述斜板與水平面成銳角固定于所述第一框架內;上層斜板的波紋面的波谷端至正對的下層斜板的平面形成第一空間,上層斜板的波紋面的波峰端至正對的下層斜板的平面形成第二空間;所述第一空間與所述第二空間沿液體流動方向相互交替設置以形成完整流體通道;含油污水從所述波紋面的豎向截面形狀為長方形的一側進入,流經所述流體通道時形成紊流,所述含油污水中的油滴在所述第一空間處被攔截,水滴通過所述流體通道流出,實現一次油水分離。
6.根據權利要求5所述的一種含油污水分離器,其特征在于,在所述斜板分離裝置中,所述上層斜板的波紋面的波谷端至所述下層斜板的平面的第一垂直距離為1mm-8mm;所述上層斜板的波紋面的波峰端至所述下層斜板的平面的第二垂直距離為15mm-30mm;
所述第一框架包括兩個相對設置的側板以及固定側板的連接件;所述斜板通第一固定件固定于所述第一框架內,所述固定件為U型槽,兩個側板上U型槽的槽口相對;所述U型槽在所述側板上的設置方向與水平方向成15°-45°夾角;
所述波紋面上形成波谷的兩個板面的夾角為60°-120°,所述波紋面上形成波峰的兩個板面的夾角為60°-120°;
所述斜板一側邊的豎直方向的截面形狀為波峰線與波浪線組成,所述斜板另一側邊的豎直方向的截面形狀為長方形,所述一側邊和所述另一側邊相交;
所述斜板的材質為聚氯乙烯;所述斜板的平面經過氧化處理。
7.根據權利要求6所述的一種含油污水分離器,其特征在于,所述波紋面上相鄰兩個波峰之間的水平距離相等;
所述第一垂直距離為1mm-5mm,所述第二垂直距離為15mm-25mm;所述U型槽在所述側板上的設置方向與水平方向成20°-30°夾角;
所述波紋面上形成所述波谷的兩個板面的夾角為90°,所述波紋面上形成所述波峰的兩個板面的夾角為90°;
所述斜板的長度為0.5m-1m,寬度為0.5m-1m,所述斜板的形狀為正方形,所述斜板的數量為5-20。
8.根據權利要求1所述的一種含油污水分離器,其特征在于,所述第二框架至少包括兩個相對設置的側板以及固定側板的連接件,所述凝聚網通過第二固定件豎直設置于兩個側板之間,所述第二固定件為螺釘;所述單元濾網呈矩陣排列連接形成所述凝聚網;所述凝聚網的數量為5-20;所述凝聚網的形狀為長方形。
9.根據權利要求1所述的一種含油污水分離器,其特征在于,所述單元濾網的長度為3cm-10cm,所述單元濾網的寬度為3cm-10cm;相鄰兩條聚氯乙烯絲的間距為0.3mm-0.4mm,所述聚氯乙烯絲的高度為0.3mm-0.4mm;所述倒四棱錐的高度為3cm-5cm;所述倒四棱錐的側面與水平方向形成20°-30°夾角。
10.根據權利要求1所述的一種含油污水分離器,其特征在于,所述倒四棱錐的高度為3cm-4cm;所述倒四棱錐的側面與水平方向形成25°-30°夾角;所述聚氯乙烯絲的表面經過氧化處理。
說明書
一種含油污水分離器
技術領域
本發明涉及油水分離技術領域,尤其涉及一種含油污水分離器。
背景技術
隨著石油的不斷開采,石油的純度會下降,故提高石油的利用率顯得尤為重要,這就涉及到石油的高效分離問題。
影響液液分離的主要因素是被分離的液滴的直徑,液體的粒徑越大則越容易分離,越小則越難分離。分離過程是輕相向混合液體上方聚集且重相向混合液下方聚集的過程。
為分離原油中的水和油,常用的化學分離方法為添加化學試劑,如破乳劑或絮凝劑,由于添加了化學試劑,對環境造成污染且分離效果不理想;常用的物理分離方法是根據Stokes定律,利用斜板分離裝置對含油污水進行油水分離,常見的斜板分離裝置采用直面斜板分離或波紋面斜板,其中,帶波紋的長直斜板分離裝置的斜板組由兩個波紋型板對稱布置,水流沿由兩個波紋板形成的通道流動,對原油進行油水分離時含油污水沿波紋曲線通過波紋板,由于水流方向不斷改變增加了油滴的碰撞機會,進而實現油、水、泥分離。上述斜板的材料一般為玻璃鋼,斜板長度較長,無法有效的分離出原油中粒徑較小的油滴。
況且,僅采用斜板物理分離效率較低,不能將粒徑更小的油滴從含有污水中分離出,分離出的污水一般用于油井回注,傳統技術分離出的污水不能達到國家A1級回注標準,且設備龐大,成本高,不易操作。
發明內容
有鑒于此,本發明實施例提供了一種含油污水分離器,主要目的是解決不能分離油滴粒徑在20微米-40微米的油滴,分離出的污水不達標,分離效率低的問題。
為達到上述目的,本發明主要提供了如下技術方案:
一方面,本發明實施例提供了一種含油污水分離器,所述分離器的一端至少設有含油污水進口,另一端至少設有污水排出出口;從所述進口至所述出口,所述分離器內依次包括:
預處理裝置,用于分離所述含油污水中污泥;
斜板分離裝置,其頂端和底端分別與所述分離器的頂端和底端緊密連接,所述斜板分離裝置用于一次油水分離;
凝聚分離裝置,其頂端和底端分別與所述分離器的頂端和底端緊密連接,所述凝聚分離裝置用于二次油水分離;
所述分離器的頂端處設有用于容納所述斜板分離裝置與所述凝聚分離裝置分離出油的油槽;所述出口連接輸送泵,用于將所述含油污水中的污水從所述分離器中抽出;
其中,所述凝聚分離裝置包括第二框架和固定于所述第二框架內的多個凝聚網;所述凝聚網包括多個單元濾網,所述單元濾網是由聚氯乙烯絲橫向單向編織形成的底面朝上且敞口的中空倒四棱錐,多個單元濾網敞口朝上相互連接形成所述凝聚網;其中,相鄰兩條聚氯乙烯絲的間距為0.3mm-0.5mm,所述聚氯乙烯絲為長方體;所述凝聚網敞口朝上水平放置時,所述倒四棱錐的側面與水平方向形成10°-30°夾角。
作為優選,所述預處理裝置包括進液管道、飛濺分離盤及污泥貯斗,所述進液管道穿過所述進口伸入所述預處理裝置內,所述飛濺分離盤的頂端與所述分離器的頂部連接,所述飛濺分離盤豎直設于所述預處理裝置內,所述飛濺分離盤的底端與所述分離器的底部具有間距,所述間距用于所述含油污水通過,所述預處理裝置的底部設有污泥貯斗,所述污泥貯斗用于容納所述含油污水中沉降濾出的污泥。
作為優選,所述分離器包括污水輸送裝置,用于容納和輸送所述含油污水中分離出的污水;所述斜板分離裝置與所述污水輸送裝置之間設有第一液位傳感器,所述第一液位傳感器穿過所述分離器頂部開設的通孔插入所述斜板分離裝置與所述污水輸送裝置之間的液體中以檢測污水液位;所述污水輸送裝置內設有第二液位傳感器,所述第二液位傳感器穿過所述分離器靠近所述污水輸送裝置的頂部開設的通孔插入所述污水輸送裝置內液體以檢測污水液位。
作為優選,所述斜板分離裝置與所述污水輸送裝置之間設有污水擋板,所述污水擋板的頂端和底端分別對應和所述分離器的頂端和底端緊密連接,所述污水擋板底端設有一通孔,輸送管道一端穿過所述通孔后豎直向上伸入所述污水輸送裝置內,所述輸送管道的另一端排出污水,所述污水從所述分離器的出口處由所述輸送泵抽出;所述分離器外部設有操控面板,用于控制所述污水分離器運行。
作為優選,所述斜板分離裝置包括第一框架和斜板,所述斜板具有相對的兩面,一面為平面,另一面為波紋面;所述斜板的平面朝上、波紋面朝下且所述斜板與水平面成銳角固定于所述第一框架內;上層斜板的波紋面的波谷端至正對的下層斜板的平面形成第一空間,上層斜板的波紋面的波峰端至正對的下層斜板的平面形成第二空間;所述第一空間與所述第二空間沿液體流動方向相互交替設置以形成完整流體通道;含油污水從所述波紋面的豎向截面形狀為長方形的一側進入,流經所述流體通道時形成紊流,所述含油污水中的油滴在所述第一空間處被攔截,水滴通過所述流體通道流出,實現一次油水分離。
作為優選,在所述斜板分離裝置中,所述上層斜板的波紋面的波谷端至所述下層斜板的平面的第一垂直距離為1mm-8mm;所述上層斜板的波紋面的波峰端至所述下層斜板的平面的第二垂直距離為15mm-30mm;
所述第一框架包括兩個相對設置的側板以及固定側板的連接件;所述斜板通第一固定件固定于所述第一框架內,所述固定件為U型槽,兩個側板上U型槽的槽口相對;所述U型槽在所述側板上的設置方向與水平方向成15°-45°夾角;
所述波紋面上形成波谷的兩個板面的夾角為60°-120°,所述波紋面上形成波峰的兩個板面的夾角為60°-120°;
所述斜板一側邊的豎直方向的截面形狀為波峰線與波浪線組成,所述斜板另一側邊的豎直方向的截面形狀為長方形,所述一側邊和所述另一側邊相交;
所述斜板的材質為聚氯乙烯;所述斜板的平面經過氧化處理。
作為優選,所述波紋面上相鄰兩個波峰之間的水平距離相等;
所述第一垂直距離為1mm-5mm,所述第二垂直距離為15mm-25mm;所述U型槽在所述側板上的設置方向與水平方向成20°-30°夾角;
所述波紋面上形成所述波谷的兩個板面的夾角為90°,所述波紋面上形成所述波峰的兩個板面的夾角為90°;
所述斜板的長度為0.5m-1m,寬度為0.5m-1m,所述斜板的形狀為正方形,所述斜板的數量為5-20。
作為優選,所述第二框架至少包括兩個相對設置的側板以及固定側板的連接件,所述凝聚網通過第二固定件豎直設置于兩個側板之間,所述第二固定件為螺釘;所述單元濾網呈矩陣排列連接形成所述凝聚網;所述凝聚網的數量為5-20;所述凝聚網的形狀為長方形。
作為優選,所述單元濾網的長度為3cm-10cm,所述單元濾網的寬度為3cm-10cm;相鄰兩條聚氯乙烯絲的間距為0.3mm-0.4mm,所述聚氯乙烯絲的高度為0.3mm-0.4mm;所述倒四棱錐的高度為3cm-5cm;所述倒四棱錐的側面與水平方向形成20°-30°夾角。
作為優選,所述倒四棱錐的高度為3cm-4cm;所述倒四棱錐的側面與水平方向形成25°-30°夾角;所述聚氯乙烯絲的表面經過氧化處理。
本發明與現有技術相比,具有以下優點:
本發明的斜板分離裝置的表面積是傳統斜板分離裝置表面積的三倍,本發明的斜板分離裝置的分離效率遠高于傳統的斜板分離裝置,在單位體積內,本發明的斜板表面積增大后,可實現粒徑為40微米以上油滴的分離,本發明的斜板分離裝置的斜板表面積增大,但整體體積變小,方便操作,減少成本。
本發明的凝聚分離裝置中濾網的材料選用聚氯乙烯,該材料更易于油滴附著、匯聚、增大,最后掙脫濾網上浮形成目標油層,其裝置格濾網形如斗狀,該設計可容納更多的油水混合液進入,將更多的油滴攔截在濾網入口側以形成油水分離;本發明的凝聚分離裝置在斜板分離裝置進行一次分離后,可再將二次含油污水中粒徑在20微米-40微米左右的油滴分離出且分離效果較好。
本發明的含油污水分離器通過斜板分離和凝聚分離后,最終可分離粒徑為20微米以上的油滴,除油率高,處理成本較傳統中空纖維膜過濾工藝可節省50%以上,并且能耗低,維持水流即可,體積變小但分離面積變大,使用壽命可達5-8年。
本發明的含油污水分離器與傳統的分離裝置結構完全不同,分離效果和效率大大提高,在本領域屬于創新研究,具有很大的應用前景和很大的經濟利益。



