申請日2017.09.22
公開(公告)日2018.01.12
IPC分類號C02F9/08
摘要
本發明的提供一種壓載水處理設備和方法,壓載水處理設備包括:紫外處理裝置和過濾裝置;所述過濾裝置與所述紫外處理裝置相連通;所述過濾裝置用于:至少過濾浮游植物和浮游動物。壓載水處理方法包括:過濾壓載水,過濾精度為浮游植物的尺寸以下;對過濾后的壓載水進行紫外輻射處理。本發明提供的壓載水處理設備和方法,在第一階段濾除浮游植物和浮游動物,在下一階段只針對海洋微生物進行紫外處理,可以在不增大紫外處理功率的條件下,將壓載水中的生物幾乎全部殺滅,具有能耗低、處理效率高、處理效果好、綠色環保無污染的優點。
權利要求書
1.一種壓載水處理設備,其特征在于,包括:紫外處理裝置和過濾裝置;
所述過濾裝置與所述紫外處理裝置相連通;
所述過濾裝置用于:至少過濾浮游植物和浮游動物。
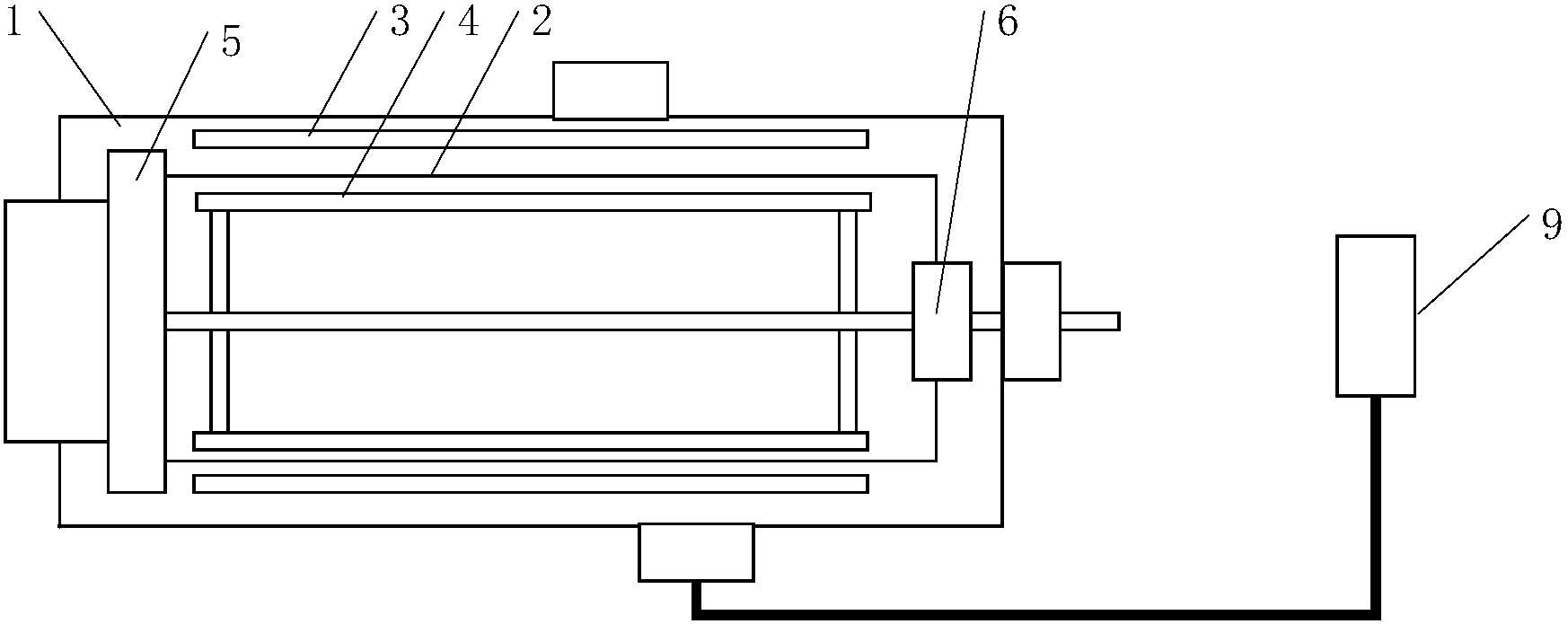
2.根據權利要求1所述的壓載水處理設備,其特征在于,所述過濾裝置包括:過濾腔、反洗機構、吸污機構和可旋轉的過濾機構;
所述過濾機構設于所述過濾腔內;所述吸污機構與所述反洗機構相對設置,所述吸污機構設于所述過濾機構的一側,所述反洗機構設于所述過濾機構的另一側。
3.根據權利要求2所述的壓載水處理設備,其特征在于,所述過濾裝置還包括:共軸的第一旋轉機構和第二旋轉機構;
所述過濾機構設于所述第一旋轉機構和所述第二旋轉機構之間,并且所述過濾機構沿所述第一旋轉機構和所述第二旋轉機構的軸向呈圓周布置;
所述吸污機構和所述反洗機構均沿所述第一旋轉機構和所述第二旋轉機構的軸向延伸并且覆蓋所述過濾機構。
4.根據權利要求3所述的壓載水處理設備,其特征在于,所述吸污機構包括:吸污管和吸污嘴;
所述吸污管與所述吸污嘴相連通;
所述吸污管設有第一連接部和第二連接部;
所述第一連接部和所述第二連接部沿所述第一旋轉機構和所述第二旋轉機構的旋轉軸線設置;
所述第一旋轉機構設于所述第一連接部,所述第二旋轉機構設于所述第二連接部。
5.根據權利要求4所述的壓載水處理設備,其特征在于,所述第一旋轉機構包括:第一軸承和第一蓋體;
所述第一軸承設于所述第一連接部和所述第一蓋體之間,所述過濾機構具體設于所述第一蓋體的外周,所述第一蓋體與所述過濾腔的第一側壁采取旋轉密封設置;其中,所述第一軸承采用向心軸承。
6.根據權利要求5所述的壓載水處理設備,其特征在于,所述第一軸承的兩側設有第一防塵密封機構。
7.根據權利要求5所述的過濾裝置,其特征在于,所述第一蓋體設有第三開口,所述第一側壁設有第四開口;所述第三開口與所述第四開口相連通。
8.根據權利要求7所述的壓載水處理設備,其特征在于,所述第三開口設有若干支撐柱。
9.根據權利要求4所述的壓載水處理設備,其特征在于,所述第二旋轉機構包括:第二軸承、第三軸承和第二蓋體;
所述第二軸承設于所述第二連接部和所述第二蓋體之間,所述第三軸承設于所述第二蓋體和所述過濾腔的第二側壁之間,所述過濾機構具體設于所述第二蓋體的外周;其中,所述第二軸承采用向心軸承,所述第三軸承采用推力軸承。
10.根據權利要求9所述的壓載水處理設備,其特征在于,在第二軸承側部沿朝向所述第二軸承的方向依次設有第二防塵密封機構和防水密封機構。
11.根據權利要求9所述的壓載水處理設備,其特征在于,所述第二蓋體的中部設有第五開口,所述第二側壁的中部設有第六開口;
所述吸污管從所述第五開口和所述第六開口引出。
12.根據權利要求1至11中任一項所述的壓載水處理設備,其特征在于,所述紫外處理裝置包括:腔體、紫外輻射單元和清洗單元;
所述紫外輻射單元和所述清洗單元設于所述腔體內;
所述清洗單元用于:對所述紫外輻射單元的表面進行清理。
13.根據權利要求12所述的壓載水處理設備,所述腔體的底部設有腔體進口,所述腔體的頂部設有腔體出口,所述紫外輻射單元設于所述腔體進口和所述腔體出口之間;
所述過濾裝置設有進液口和出液口,所述過濾裝置的出液口與所述腔體進口相連通。
14.一種壓載水處理方法,其特征在于,用于權利要求1至13中任一項所述的壓載水處理設備,所述方法包括:
過濾壓載水,過濾精度為浮游植物的尺寸以下;
對過濾后的壓載水進行紫外輻射處理。
說明書
一種壓載水處理設備和方法
技術領域
本發明涉及船舶壓載水處理技術領域,尤其涉及一種壓載水處理設備和方法。
背景技術
為保證安全航行,船舶需要將壓載水注入壓載艙,使船舶保持恰當的排水量,保持船體縱向、橫向的平衡,減輕船體的振動。船舶在起航地加裝壓載水,海水中的生物也隨之被加裝至壓載艙,航行結束后,將壓載水直接排放至目的地海域,可能造成外來物種侵襲,外來物種瘋狂繁殖,大規模侵占目的地海域,破壞生態環境。在這種背景下,國際海事組織(IMO,International Maritime Organization)頒布了《關于船舶壓載水及其沉積物控制和管理公約》,要求壓載水在排放前需進行處理。壓載水中的生物大致包括如下幾類:
浮游動物(zooplankton),是一類經常在水中浮游,本身不能制造有機物的異養型無脊椎動物和脊索動物幼體的總稱,在水中營浮游性生活的動物類群。浮游動物的種類極多,從低等的微小原生動物、腔腸動物、櫛水母、輪蟲、甲殼動物、腹足動物等,到高等的尾索動物,其中以種類繁多、數量極大、分布又廣的橈足類最為突出。此外,也包括階段性浮游動物,如底棲動物的浮游幼蟲和游泳動物(如魚類)的幼仔、稚魚等;
浮游植物(phytoplankton),是指在水中營浮游生活的微小植物,通常浮游植物就是指浮游藻類,包括:藍藻門、綠藻門、硅藻門、金藻門、黃藻門、甲藻門、隱藻門和裸藻門八個門類的浮游種類;
微生物(microorganism),包括細菌、病毒、真菌以及一些小型的原生動物等在內的一大類生物群體。海洋微生物,其指分布在海洋中的個體微小、形態結構簡單的單細胞或多細胞生物,包括:細菌、放線菌、霉菌、酵母、病毒、衣原體、支原體、噬菌體和微型藻及微型原生動物等。
浮游動物尺寸>浮游植物尺寸>微生物尺寸,F有技術普遍采用過濾和紫外處理對壓載水中不同尺寸的生物進行處理:首先過濾掉大尺寸浮游動物,然后通過紫外線照射來殺滅海洋微生物或破壞浮游植物的DNA結構序列使其不能繁殖。在IMO對于壓載水排放標準日趨嚴格的要求下,各個壓載水處理廠商普遍采用增大紫外處理功率的方式,提升紫外照射劑量,以提升壓載水凈化能力。其缺點在于:
功率提升加大了能耗,造成了船舶額外能量消耗;大功率紫外處理設備尺寸巨大,增大了壓載水處理設備的體積,造成了船舶裝載容量的損失。此外,延長紫外照射時間,將降低壓載水處理效率,影響船舶起航效率;通過化學方法可以提升紫外處理對生物的輻射強度或者直接殺滅生物,但會對環境造成污染。
發明內容
本發明提供一種壓載水處理設備和方法,以解決現有技術中通過增大紫外照射劑量處理壓載水帶來的問題。
本發明提供的壓載水處理設備,包括:紫外處理裝置和過濾裝置;
所述過濾裝置與所述紫外處理裝置相連通;
所述過濾裝置用于:至少過濾浮游植物和浮游動物。
進一步,本發明所述的壓載水處理設備,所述過濾裝置包括:過濾腔、反洗機構、吸污機構和可旋轉的過濾機構;
所述過濾機構設于所述過濾腔內;所述吸污機構與所述反洗機構相對設置,所述吸污機構設于所述過濾機構的一側,所述反洗機構設于所述過濾機構的另一側。
進一步,本發明所述的壓載水處理設備,所述過濾裝置還包括:共軸的第一旋轉機構和第二旋轉機構;
所述過濾機構設于所述第一旋轉機構和所述第二旋轉機構之間,并且所述過濾機構沿所述第一旋轉機構和所述第二旋轉機構的軸向呈圓周布置;
所述吸污機構和所述反洗機構均沿所述第一旋轉機構和所述第二旋轉機構的軸向延伸并且覆蓋所述過濾機構。
進一步,本發明所述的壓載水處理設備,所述吸污機構包括:吸污管和吸污嘴;
所述吸污管與所述吸污嘴相連通;
所述吸污管設有第一連接部和第二連接部;
所述第一連接部和所述第二連接部沿所述第一旋轉機構和所述第二旋轉機構的旋轉軸線設置;
所述第一旋轉機構設于所述第一連接部,所述第二旋轉機構設于所述第二連接部。
進一步,本發明所述的壓載水處理設備,所述第一旋轉機構包括:第一軸承和第一蓋體;
所述第一軸承設于所述第一連接部和所述第一蓋體之間,所述過濾機構具體設于所述第一蓋體的外周,所述第一蓋體與所述過濾腔的第一側壁采取旋轉密封設置;其中,所述第一軸承采用向心軸承。
進一步,本發明所述的壓載水處理設備,所述第一軸承的兩側設有第一防塵密封機構。
進一步,本發明所述的壓載水處理設備,所述第一蓋體設有第三開口,所述第一側壁設有第四開口;所述第三開口與所述第四開口相連通。
進一步,本發明所述的壓載水處理設備,所述第三開口設有若干支撐柱。
進一步,本發明所述的壓載水處理設備,所述第二旋轉機構包括:第二軸承、第三軸承和第二蓋體;
所述第二軸承設于所述第二連接部和所述第二蓋體之間,所述第三軸承設于所述第二蓋體和所述過濾腔的第二側壁之間,所述過濾機構具體設于所述第二蓋體的外周;其中,所述第二軸承采用向心軸承,所述第三軸承采用推力軸承。
進一步,本發明所述的壓載水處理設備,在第二軸承側部沿朝向所述第二軸承的方向依次設有第二防塵密封機構和防水密封機構。
進一步,本發明所述的壓載水處理設備,所述第二蓋體的中部設有第五開口,所述第二側壁的中部設有第六開口;
所述吸污管從所述第五開口和所述第六開口引出。
進一步,本發明所述的壓載水處理設備,所述紫外處理裝置包括:腔體、紫外輻射單元和清洗單元;
所述紫外輻射單元和所述清洗單元設于所述腔體內;
所述清洗單元用于:對所述紫外輻射單元的表面進行清理。
進一步,本發明所述的壓載水處理設備,所述腔體的底部設有腔體進口,所述腔體的頂部設有腔體出口,所述紫外輻射單元設于所述腔體進口和所述腔體出口之間;
所述過濾裝置設有進液口和出液口,所述過濾裝置的出液口與所述腔體進口相連通。
本發明提供的壓載水處理方法,該方法應用于本發明的壓載水處理設備,所述方法包括:
過濾壓載水,過濾精度為浮游植物的尺寸以下;
對過濾后的壓載水進行紫外輻射處理。
本發明提供的壓載水處理設備和方法,在第一階段濾除浮游植物和浮游動物,在下一階段只針對海洋微生物進行紫外處理,可以在不增大紫外處理功率的條件下,將壓載水中的生物幾乎全部殺滅,具有能耗低、處理效率高、處理效果好、綠色環保無污染的優點。



