申請日2017.09.22
公開(公告)日2017.12.19
IPC分類號B01D1/06; B01D1/30; C02F1/04; F04C18/12
摘要
本發明公開了一種水處理用小型集成式蒸汽壓縮蒸餾裝置,包括蒸發器,蒸發器內設有羅茨風機,羅茨風機內的風機主動轉子軸通過聯軸器連接電機的轉軸,能夠實現水蒸餾過程中水、氣相變熱的回收再利用,同時降低了蒸發器的結垢風險。
權利要求書
1.一種水處理用小型集成式蒸汽壓縮蒸餾裝置,其特征在于:包括蒸發器(1),蒸發器(1)內設有羅茨風機,羅茨風機內的風機主動轉子軸(54)通過聯軸器(56)連接電機(55)的轉軸。
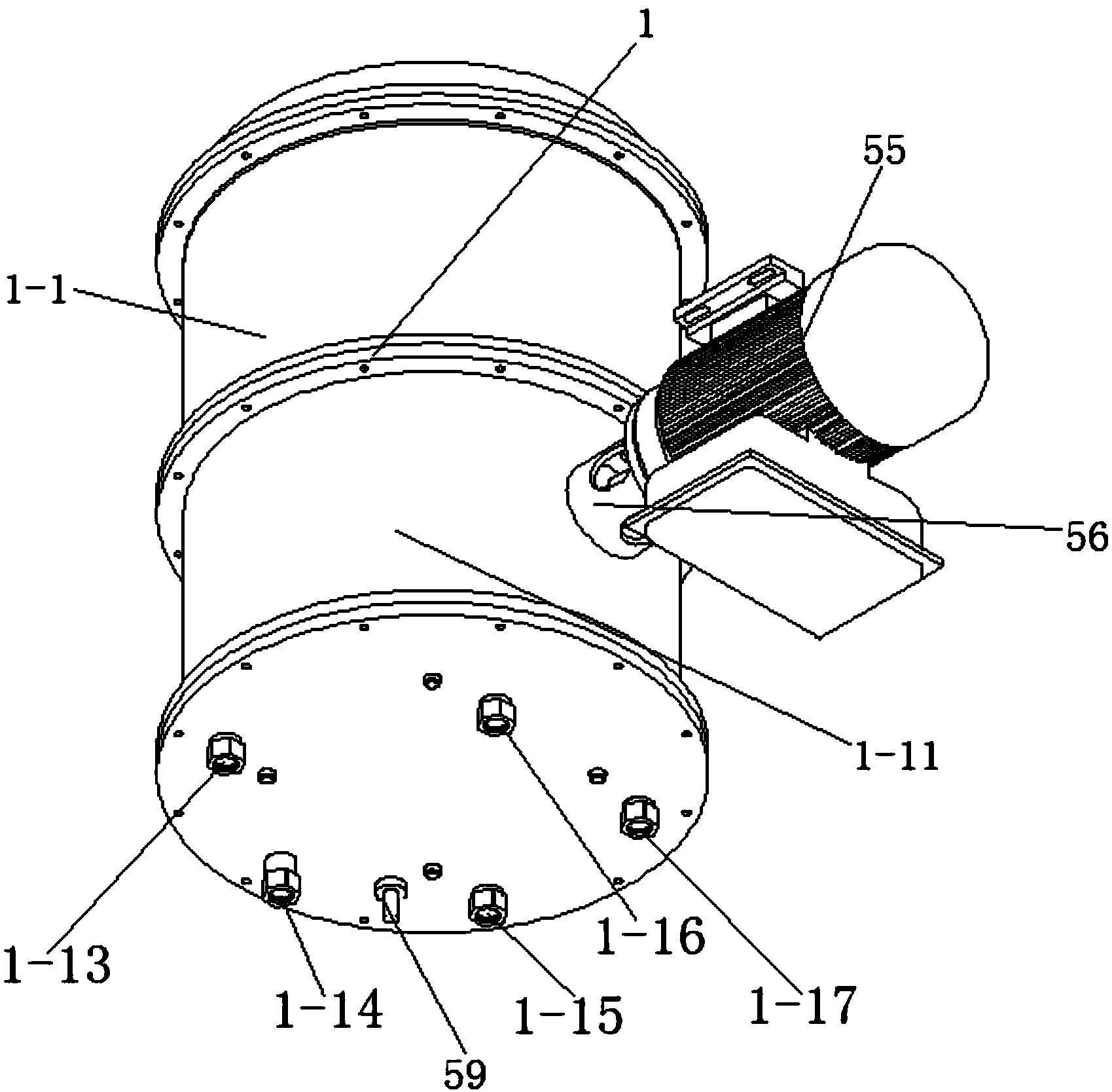
2.根據權利要求1所述的一種水處理用小型集成式蒸汽壓縮蒸餾裝置,其特征在于:所述蒸發器(1)包括豎直設置的圓筒狀冷凝室側壁(1-1),冷凝室側壁(1-1)的上端水平設有冷凝室上隔板(1-2),冷凝室側壁(1-1)的下端水平設有冷凝室下隔板(1-3),冷凝室側壁(1-1)內沿豎直方向設有至少兩根蒸發管(1-4),所有蒸發管(1-4)與冷凝室上隔板(1-2)、冷凝室下隔板(1-3)和冷凝室側壁(1-1)一起構成的封閉空間為冷凝室。
3.根據權利要求2所述的一種水處理用小型集成式蒸汽壓縮蒸餾裝置,其特征在于:所述冷凝室上隔板(1-2)的上方設有蒸發室布液板(1-5),蒸發室布液板(1-5)的上方設有蒸發室頂蓋(1-10),蒸發室頂蓋(1-10)與蒸發室布液板(1-5)之間的空間為蒸發室A;蒸發室布液板(1-5)的底部均勻分布有開口朝下的布液管(1-6),其中一個布液管(1-6)的內部設置有液體循環管路1-20,液體循環管路出液口(1-9)位于蒸發室布液板(1-5)的上方;蒸發管(1-4)的上端口處設有蒸發管導氣管(1-8),蒸發管(1-4)與冷凝室上隔板(1-2)的接口處設有蒸發管進液口(1-7),每個蒸發管(1-4)的內部均為一個蒸發單元,所有的蒸發單元一起構成了蒸發室B;冷凝室下隔板(1-3)的下方設有蒸發室C。
4.根據權利要求3所述的一種水處理用小型集成式蒸汽壓縮蒸餾裝置,其特征在于:所述蒸發室C包括圓筒狀的蒸發室側壁(1-11),蒸發室側壁(1-11)的上端為冷凝室下隔板(1-3),蒸發室側壁(1-11)的下端為蒸發室底蓋(1-12),蒸發室底蓋(1-12)上設有風機潤滑油入口接頭(1-13)、蒸發室濃縮液出口(1-14)、冷凝室出液口(1-15)、蒸發室進液口(1-16)和風機潤滑油出口接頭(1-17),所述羅茨風機位于蒸發室C內。
5.根據權利要求1所述的一種水處理用小型集成式蒸汽壓縮蒸餾裝置,其特征在于:所述羅茨風機包括殼體A(2),殼體A(2)內分別平行安裝有風機主動轉子軸(54)和風機從動轉子軸(3),風機主動轉子軸(54)上安裝有三葉型主動轉子葉輪(50),風機從動轉子軸(3)上安裝有三葉型從動轉子葉輪(53),從動轉子葉輪(53)的一葉位于主動轉子葉輪(50)的相鄰兩葉之間;殼體A(2)的一側連接有齒輪腔(4),齒輪腔(4)內設有齒輪傳動系統和軸承傳動機構A,所述齒輪傳動系統和軸承傳動機構A均與風機主動轉子軸(54)及風機從動轉子軸(3)連接;所述殼體A(2)的另一側連接有風機后軸承室(32),風機后軸承室(32)內設有軸承傳動機構B,所述軸承傳動機構B與風機主動轉子軸(54)及風機從動轉子軸(3)連接;所述殼體A(2)的相對兩側分別設有風機進氣口(46)和風機出氣口(47),風機進氣口(46)和風機出氣口(47)均與殼體A(2)內部連通。
6.根據權利要求5所述的一種水處理用小型集成式蒸汽壓縮蒸餾裝置,其特征在于:所述羅茨風機齒輪腔(4)包括圓筒狀的殼體B(4-1),殼體B(4-1)的兩端分別連接有風機前端蓋(4-2)和轉子腔前蓋板(4-3),轉子腔前蓋板(4-3)一端與殼體A(2)的一端連接,轉子腔前蓋板(4-3)的另一端與軸承傳動機構A連接。
7.根據權利要求5或6所述的一種水處理用小型集成式蒸汽壓縮蒸餾裝置,其特征在于:所述軸承傳動機構A包括風機前軸承座(5),風機前軸承座(5)通過螺栓與轉子腔前蓋板(4-3)連接,風機前軸承座(5)上分別設有軸承a(7)和軸承b(8);所述風機主動轉子軸(54)的一端、風機從動轉子軸(3)的一端均穿過轉子腔前蓋板(4-3)伸入齒輪腔(4)內,且所述風機主動轉子軸(54)的一端套接在軸承a(7)內,風機從動轉子軸(3)的一端套接在軸承b(8)內;
所述風機主動轉子軸(54)上套接有補償彈簧a(10),補償彈簧a(10)位于軸承a(7)和轉子腔前蓋板(4-3)之間;補償彈簧a(10)與轉子腔前蓋板(4-3)之間還設有機械密封a(12);風機從動轉子軸(3)上套接有補償彈簧b(11),補償彈簧b(11)位于軸承b(8)和轉子腔前蓋板(4-3)之間,補償彈簧b(11)與轉子腔前蓋板(4-3)之間還設有機械密封b(13)。
8.根據權利要求5所述的一種水處理用小型集成式蒸汽壓縮蒸餾裝置,其特征在于:所述齒輪傳動系統包括主動齒輪(14),主動齒輪(14)的中心開設有錐形中心孔a,錐形中心孔a內設有錐形圓環定位銷a(15),錐形圓環定位銷a(15)套接在風機主動轉子軸(54)上;所述風機主動轉子軸(54)的一端端部連接齒輪定位銷軸a(16)的一端,齒輪定位銷軸a(16)的另一端穿過風機前端蓋(4-2)伸出齒輪腔(4)構成主動轉子驅動軸(19),齒輪定位銷軸a(16)上套接有補償彈簧c(17),補償彈簧c(17)位于主動齒輪(14)和風機前端蓋(4-2)之間,補償彈簧c(17)與風機前端蓋(4-2)之間還設有機械密封c(18);
所述風機從動轉子軸(3)的一端端部設有剖面顯“T”型的從動齒輪a(22),從動齒輪a(22)外部套接有從動齒輪b(23),從動齒輪a(22)和從動齒輪b(23)通過螺栓固定,從動齒輪a(22)的中心開設有錐形中心孔b,錐形中心孔b內設有錐形圓環定位銷b(24),錐形圓環定位銷b(24)套接在風機從動轉子軸(3)上;
所述風機從動轉子軸(3)的一端端部連接齒輪定位銷軸b(25)的一端部,齒輪定位銷軸b(25)的另一端套接有補償彈簧d(27),補償彈簧d(27)與風機前端蓋(4-2)之間設有機械密封d(28),補償彈簧d(27)的外部套接有離心泵結構;
所述離心泵結構包括離心泵葉輪(26),風機前端蓋(4-2)上開設有安裝槽,離心泵葉輪(26)位于所述安裝槽內,風機前端蓋(4-2)的外部通過螺栓連接有蓋板(29),蓋板(29)上設有離心泵進液口(30),風機前端蓋4-2上開設有離心泵出液口(33)。
9.根據權利要求5所述的一種水處理用小型集成式蒸汽壓縮蒸餾裝置,其特征在于:所述風機后軸承室(32)包括一端封閉的筒狀風機后端蓋(32-1),風機后端蓋(32-1)未封閉的一端與轉子腔后蓋板(32-2)的一端連接,轉子腔后蓋板(32-2)的另一端與殼體A(2)連接;同時轉子腔后蓋板(32-2)的一端與軸承傳動機構B連接;所述軸承傳動機構B包括風機后軸承座(41),風機后軸承座(41)通過后軸承座定位銷(42)與轉子腔后蓋板(32-2)固連,軸承c(37)和軸承d(40)安裝在風機后軸承座(41)上;
所述風機主動轉子軸(54)的另一端穿過轉子腔后蓋板(32-2)伸入風機后軸承室(32)內與軸承c(37)套接,軸承c(37)與轉子腔后蓋板(32-2)之間的風機主動轉子軸(54)上套接有補償彈簧e(35),補償彈簧e(35)與轉子腔后蓋板(32-2)之間還設有機械密封e(36);
所述風機從動轉子軸(3)的另一端穿過轉子腔后蓋板(32-2)伸入風機后軸承室(32)內與軸承d(40)套接,軸承d(40)與轉子腔后蓋板(32-2)之間的風機從動轉子軸(3)上套接有補償彈簧f(38),補償彈簧f(38)與轉子腔后蓋板(32-2)之間還設有機械密封f(39)。
10.根據權利要求5所述的一種水處理用小型集成式蒸汽壓縮蒸餾裝置,其特征在于:所述風機后端蓋(32-1)的側面開設有風機潤滑油入口(44);風機后軸承座(41)的相對兩側分別設有后軸承座進油口(43)和后軸承座出油口(49),后軸承座進油口(43)和后軸承座出油口(49)之間設有后軸承潤滑油流道(45),風機前軸承座(5)上開設有前軸承座潤滑油流道(52),轉子腔前蓋板(4-3)上開設有前軸承潤滑油流道(6),后軸承座出油口(49)通過潤滑油管路與前軸承座潤滑油流道(52)連通,風機前軸承座(5)遠離轉子腔前蓋板(4-3)的一端端面上設有前軸承座出油口(9);殼體B(4-1)的一側設有風機潤滑油出口(34)。
說明書
一種水處理用小型集成式蒸汽壓縮蒸餾裝置
技術領域
本發明屬于機械式蒸汽再壓縮蒸餾設備技術領域,涉及一種水處理用小型集成式蒸汽壓縮蒸餾裝置。
背景技術
對水進行蒸餾處理是一種獲得高品質純凈水的常用方法,但常見的蒸餾處理系統一般存在以下不足:一是未對水蒸餾過程中水、氣的相變熱進行回收再利用,造成系統能耗較大;二是系統為了降低能耗雖然采用了利用電廠廢熱等其它熱源進行多效蒸餾的技術方案,但系統也因此出現了體積龐大,結構復雜,對熱源依賴性大,使用范圍受限等問題;三是,系統蒸餾壓力為常壓或接近常壓,蒸餾溫度較高,容易造成原水中沸點較低的污染物大量溢出并進入蒸餾水中,使蒸餾水的水質變差,同時蒸發器內因蒸餾溫度高而容易積垢。
發明內容
本發明的目的是提供一種水處理用小型集成式蒸汽壓縮蒸餾裝置,能夠實現水蒸餾過程中水、氣相變熱的回收再利用、提高蒸餾水的水質、同時降低了蒸發器的結垢風險。
本發明所采用的技術方案是,一種水處理用小型集成式蒸汽壓縮蒸餾裝置,包括蒸發器,蒸發器內設有羅茨風機,羅茨風機內的風機主動轉子軸通過聯軸器連接電機的轉軸。
本發明的特點還在于,
其中蒸發器包括豎直設置的圓筒狀冷凝室側壁,冷凝室側壁的上端水平設有冷凝室上隔板,冷凝室側壁的下端水平設有冷凝室下隔板,冷凝室側壁內沿豎直方向設有至少兩根蒸發管,所有蒸發管與冷凝室上隔板、冷凝室下隔板和冷凝室側壁一起構成的封閉空間為冷凝室。
其中冷凝室上隔板的上方設有蒸發室布液板,蒸發室布液板的上方設有蒸發室頂蓋,蒸發室頂蓋與蒸發室布液板之間的空間為蒸發室A;蒸發室布液板的底部均勻分布有開口朝下的布液管,其中一個布液管內設置有液體循環管路,液體循環管路的出液口位于蒸發室布液板的上方;蒸發管的上端口處設有蒸發管導氣管,蒸發管與冷凝室上隔板的接口處設有蒸發管進液口,每個蒸發管的內部均為一個蒸發單元,所有的蒸發單元一起構成了蒸發室B;冷凝室下隔板的下方設有蒸發室C。
其中蒸發室C包括圓筒狀的蒸發室側壁,蒸發室側壁的上端為冷凝室下隔板,蒸發室側壁的下端為蒸發室底蓋,蒸發室底蓋上設有風機潤滑油入口接頭、蒸發室濃縮液出口、冷凝室出液口、蒸發室進液口和風機潤滑油出口接頭,羅茨風機位于蒸發室C內。
其中羅茨風機包括殼體A,殼體A內分別平行安裝有風機主動轉子軸和風機從動轉子軸,風機主動轉子軸上安裝有三葉型主動轉子葉輪,風機從動轉子軸上安裝有三葉型從動轉子葉輪,從動轉子葉輪的一葉位于主動轉子葉輪的相鄰兩葉之間;殼體A的一側連接有齒輪腔,齒輪腔內設有齒輪傳動系統和軸承傳動機構A,齒輪傳動系統和軸承傳動機構A均與風機主動轉子軸及風機從動轉子軸連接;殼體A的另一側連接有風機后軸承室,風機后軸承室內設有軸承傳動機構B,軸承傳動機構B與風機主動轉子軸及風機從動轉子軸連接;殼體A的相對兩側分別設有風機進氣口和風機出氣口,風機進氣口和風機出氣口均與殼體A內部連通。
其中羅茨風機齒輪腔包括圓筒狀的殼體B,殼體B的兩端分別連接有風機前端蓋和轉子腔前蓋板,轉子腔前蓋板一端與殼體A的一端連接,轉子腔前蓋板的另一端與軸承傳動機構A連接。
其中軸承傳動機構A包括風機前軸承座,風機前軸承座通過螺栓與轉子腔前蓋板連接,風機前軸承座上分別設有軸承a和軸承b;風機主動轉子軸的一端、風機從動轉子軸的一端均穿過轉子腔前蓋板伸入齒輪腔內,且風機主動轉子軸的一端套接在軸承a內,風機從動轉子軸的一端套接在軸承b內;
其中風機主動轉子軸上套接有補償彈簧a,補償彈簧a位于軸承a和轉子腔前蓋板之間;補償彈簧a與轉子腔前蓋板之間還設有機械密封a;風機從動轉子軸上套接有補償彈簧b,補償彈簧b位于軸承b和轉子腔前蓋板之間,補償彈簧b與轉子腔前蓋板之間還設有機械密封b。
其中齒輪傳動系統包括主動齒輪,主動齒輪的中心開設有錐形中心孔a,錐形中心孔a內設有錐形圓環定位銷a,錐形圓環定位銷a套接在風機主動轉子軸上;風機主動轉子軸的一端端部連接齒輪定位銷軸a的一端,齒輪定位銷軸a的另一端穿過風機前端蓋伸出齒輪腔構成主動轉子驅動軸;齒輪定位銷軸a上套接有補償彈簧c,補償彈簧c位于主動齒輪和風機前端蓋之間,補償彈簧c與風機前端蓋之間還設有機械密封c;
其中風機從動轉子軸的一端端部設有剖面顯“T”型的從動齒輪a,從動齒輪a外部套接有從動齒輪b,從動齒輪a和從動齒輪b通過螺栓固定,從動齒輪a的中心開設有錐形中心孔b,錐形中心孔b內設有錐形圓環定位銷b,錐形圓環定位銷b套接在風機從動轉子軸上;
其中風機從動轉子軸的一端端部連接齒輪定位銷軸b的一端部,齒輪定位銷軸b的另一端套接有補償彈簧d,補償彈簧d與風機前端蓋之間設有機械密封d,補償彈簧d的外部套接有離心泵結構;
其中離心泵結構包括離心泵葉輪,風機前端蓋上開設有安裝槽,離心泵葉輪位于所述安裝槽內,風機前端蓋的外部通過螺栓連接有蓋板,蓋板上開設有離心泵進液口,風機前端蓋上開設有離心泵出液口。
其中風機后軸承室包括一端封閉的筒狀風機后端蓋,風機后端蓋未封閉的一端與轉子腔后蓋板的一端連接,轉子腔后蓋板的另一端與殼體A連接;同時轉子腔后蓋板的一端與軸承傳動機構B連接;軸承傳動機構B包括風機后軸承座,風機后軸承座通過后軸承座定位銷與轉子腔后蓋板固連,軸承c和軸承d安裝在風機后軸承座上;
其中風機主動轉子軸的另一端穿過轉子腔后蓋板,伸入風機后軸承室內與軸承c套接,軸承c與轉子腔后蓋板之間的風機主動轉子軸上套接有補償彈簧e,補償彈簧e與轉子腔后蓋板之間還設有機械密封e;
其中風機從動轉子軸的另一端穿過轉子腔后蓋板,伸入風機后軸承室內與軸承d套接,軸承d與轉子腔后蓋板之間的風機從動轉子軸上套接有補償彈簧f,補償彈簧f與轉子腔后蓋板之間還設有機械密封f。
其中風機后端蓋的側面開設有風機潤滑油入口,風機后軸承座的相對兩側分別設有后軸承座進油口和后軸承座出油口,風機后軸承座上還開設有后軸承潤滑油流道,后軸承潤滑油流道位于后軸承座進油口和后軸承座出油口之間,風機前軸承座上開設有前軸承座潤滑油流道,后軸承座出油口通過潤滑油管路與前軸承座潤滑油流道連通,風機前軸承座遠離轉子腔前蓋板的一端端面上設有前軸承座出油口;殼體B的一側設有風機潤滑油出口。
本發明的有益效果是如下:
(1)實現了水蒸餾過程中汽化潛熱的回收再利用,降低了系統的處理能耗。
(2)提出了一種小體積、結構緊湊、熱利用效率高的蒸發器,可用于對設備體積要求高的蒸餾水處理系統。
(3)提出了一種耐壓、高氣密性的蒸發器,可用于負壓蒸餾水處理系統。



