申請日2017.09.22
公開(公告)日2017.12.12
IPC分類號C02F1/44; C02F1/463; C02F1/467
摘要
本發明提供了一種電化學‑膜分離水處理裝置及其處理方法和用途,所述裝置包括反應池,所述反應池內設置膜組件,所述膜組件一側由內向外平行于膜組件設置感應電極和陽極板,所述膜組件另一側平行于膜組件設置陰極板,所述陽極板和陰極板與外接電源連接;所述反應池主體一側設有進水口,所述反應器主體上開設膜組件出水口,所述膜組件出水口與膜組件相連。本發明將電場效應、電化學氧化、電絮凝和電氣浮進行一體化組合,通過電氧化和電絮凝作用,改變污染物結構、調節顆粒物尺寸大小,在膜表面形成親水和多孔的濾餅層,減緩膜污染,通過膜過濾進行固液分離,進一步提升出水水質。
權利要求書
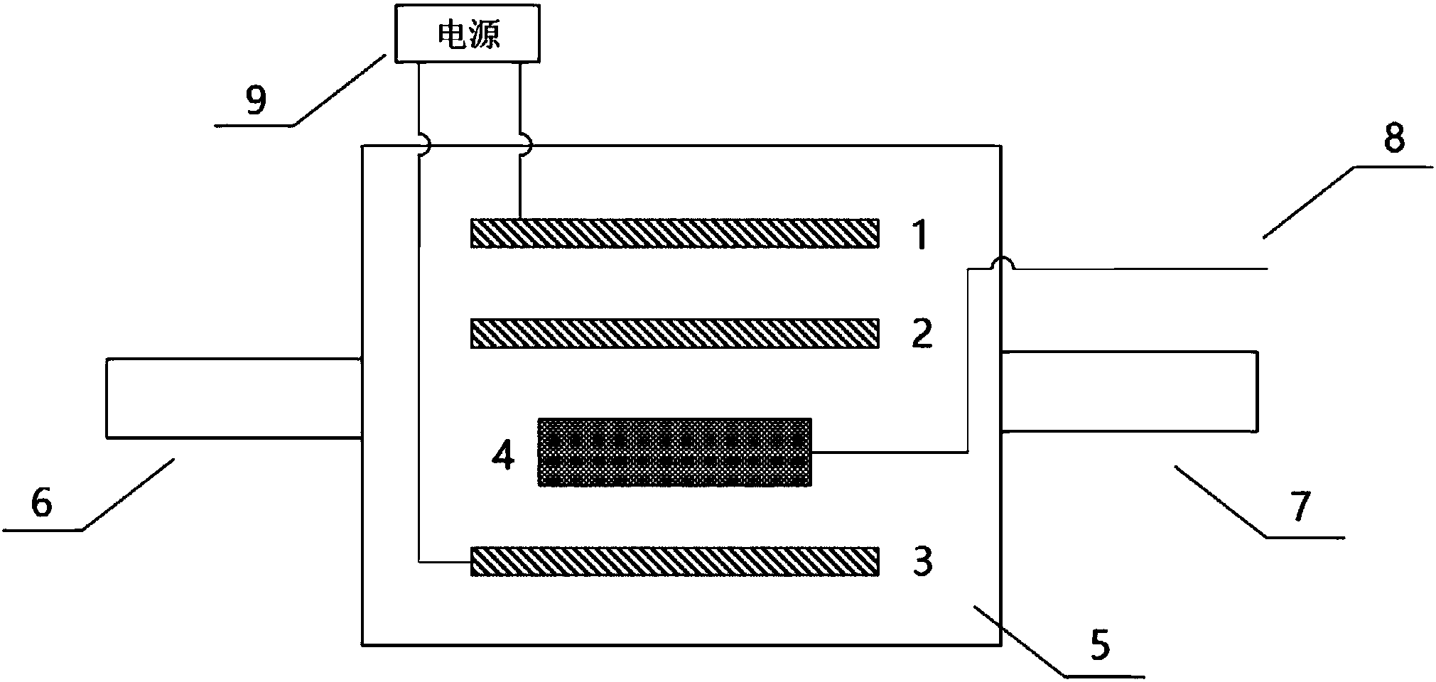
1.一種電化學-膜分離水處理裝置,其特征在于,所述裝置包括反應池(5),所述反應池(5)內設置膜組件(4),所述膜組件(4)一側由內向外平行于膜組件(4)依次設置感應電極(2)和陽極板(1),所述膜組件(4)另一側平行于膜組件(4)設置陰極板(3),所述陽極板(1)和陰極板(3)與外接電源(9)連接;
所述反應池(5)主體一側設有進水口(6);所述反應器(5)主體上開設膜組件出水口(8),所述膜組件出水口(8)與膜組件(4)相連。
2.根據權利要求1所述的電化學-膜分離水處理裝置,其特征在于,所述陽極板(1)為鈦釕電極;
優選地,所述陽極板(1)的個數≥1個。
3.根據權利要求1或2所述的電化學-膜分離水處理裝置,其特征在于,所述感應電極(2)為感應鋁電極或感應鐵電極;
優選地,所述感應電極(2)的個數≥1個。
4.根據權利要求1-3任一項所述的電化學-膜分離水處理裝置,其特征在于,所述陰極板(3)為鋁陰極、鐵陰極或不銹鋼陰極;
優選地,所述陰極板(3)的個數≥1個。
5.根據權利要求1-4任一項所述的電化學-膜分離水處理裝置,其特征在于,所述膜組件(4)為簾式平板膜或中空纖維膜;
優選地,所述膜組件(4)中的膜元件為微濾膜、超濾膜或納濾膜中任意一種或至少兩種的組合;
優選地,所述反應池(5)主體一側與進水口相對一側設有回水口(7)。
6.根據權利要求1-5任一項所述的電化學-膜分離水處理裝置的處理方法,其特征在于,所述方法為:
(a)通入污水,啟動電化學裝置,調節電化學參數和膜分離參數,進行電絮凝、電化學氧化和電解過程,在膜組件(4)表面形成濾餅層;
(b)啟動動力裝置,進行膜過濾處理,將處理后的水體從膜組件出水口(8)排出。
7.根據權利要求6所述的處理方法,其特征在于,步驟(a)中所述調節電化學參數為:調節電流密度為5A/m2~50A/m2,優選為10A/m2;
優選地,步驟(a)中所述調節膜分離參數為:調節跨膜壓差為20kPa~50kPa,優選為跨膜壓差為30kPa。
8.根據權利要求6-7任一項所述的處理方法,其特征在于,步驟(a)所述的污水處理量為200L·m-2·h-1~20000L·m-2·h-1,優選為3000L·m-2·h-1。
9.根據權利要求1-5任一項所述的電化學-膜分離水處理裝置的用途,其特征在于,所述電化學-膜分離水處理裝置應用于飲用水和污水處理領域。
說明書
一種電化學-膜分離水處理裝置及其處理方法和用途
技術領域
本發明屬于飲用水或污水處理領域,涉及一種電化學-膜分離水處理裝置及其處理方法和用途。
背景技術
超濾膜分離技術利用體積排阻效應對大于膜孔尺寸的污染物有很好的截留作用,但同時因為截留的污染物在膜表面的堆積和水體中微生物在膜表面的生長,形成膜污染,降低了膜的使用壽命,提高了膜分離技術的應用成本。為了延長膜的使用壽命,膜分離之前對水體進行預處理的手段已被證實有效。常用的預處理手段有預絮凝、預氧化、預曝氣等手段,其中預絮凝、預氧化較為普遍。
電絮凝、電氧化廣泛應用于電化學水處理領域,一直是科研研究的重點。其中電絮凝通過控制電化學參數與水體理化性質,可以調節電絮凝中的絮凝劑投加量、絮體形態與結構。隨著水質標準的日益提高,電絮凝技術需要過量投加絮凝劑,或者組合其他深度處理技術以達到排水標準。在現有技術中,膜分離被證實可以有效提高電絮凝出水水質。同時,電絮凝-膜分離的短流程工藝省去了沉淀環節,在實際應用中更具優勢。
電氧化通過控制電化學參數與水體理化性質,可以調節電氧化過程中的反應路徑與反應速率。電氧化分為直接氧化和間接氧化。直接氧化為污染物在電極表面發生電化學氧化反應。間接氧化為溶液中的氯離子首先被氧化為活性氯,然后通過活性氯進行氧化。
電化學與膜技術的結合已受到廣泛關注,也是水處理工藝改革的一個重要方向。目前,利用電化學手段緩解膜污染的原理主要有:1)增大顆粒物尺寸,減少小顆粒造成的膜孔堵塞;2)預去除部分污染物,減少膜表面污染物積累;3)調節絮體形態,形成更疏松多孔的濾餅層,降低濾餅比阻;4)改變污染物分子結構和大小,形成更親水濾餅層;5)利用電場誘導生成極化的濾餅層,提高濾餅層親水性,降低濾餅比阻;6)利用電極反應產生的微氣泡,沖刷膜表面,進一步緩解膜污染。但仍存在能耗較高的問題,并且現有電化學與膜技術相結合的方式,在緩釋膜污染方面仍有待提高。
發明內容
針對現有技術中存在的問題,本發明提供了一種電化學-膜分離水處理裝置、處理方法及其用途。本發明通過將電場效應、電化學氧化、電絮凝和電氣浮進行一體化組合,通過電氧化和電絮凝作用,改變污染物結構、調節顆粒物尺寸大小,在膜表面形成親水和多孔的濾餅層,減緩膜污染,通過膜過濾進行固液分離,進一步提升出水水質。本發明通過感應電絮凝作用調控絮體形態與結構,減少污染物在膜表面的積累,同時通過電極反應控制污染物的直接和間接氧化,改變污染物的分子結構和極性,在膜表面形成高孔隙結構和親水性的濾餅層。且該濾餅層由于受到極板間電場的極化作用,極性增強,進一步增強了濾餅層的親水特性,進一步減緩了膜污染。
為達此目的,本發明采用以下技術方案:
第一方面,本發明提供了一種電化學-膜分離水處理裝置,所述裝置包括反應池,所述反應池內設置膜組件,所述膜組件一側由內向外平行于膜組件設置感應電極和陽極板,所述膜組件另一側平行于膜組件設置陰極板,所述陽極板和陰極板與外接電源連接;
所述反應池主體一側設有進水口;所述反應器主體上開設膜組件出水口,所述膜組件出水口與膜組件相連。
本發明中,所述電化學-膜分離水處理裝置中設置感應電極,作用在于將電氧化和電絮凝過程耦合到同一個電化學反應系統。陽極作為氧化電極,直接降解部分有機物,同時產生活性氯間接氧化污染物,并抑制微生物生長;陰陽極之間設置感應電極,感應電極受到電場的誘導,發生感應電絮凝,形成粗大、多孔、疏松的絮體,在膜表面形成疏松多孔的濾餅層,阻止污染物與膜表面的直接接觸,抑制膜污染。
當陽極和感應電極同時應用于電化學膜反應器中時,其發生的電氧化和電絮凝過程對濾餅層的形成過程的調控具有協同作用。在膜表面形成的濾餅層具有更高的表面孔隙率,大大提高了濾餅層孔道的數量。同時增強了濾餅層表面的親水性。因此這種協同作用有助于減緩膜污染,提高水通量。
在電氧化與膜分離結合時,污染物被直接和間接氧化過程降解。降解過程改變了的污染物的分子結構與極性,致使生成的濾餅層具有更高的親水性。此外,間接氧化產生的活性氯可以抑制水體中微生物的生長,進一步減緩膜污染。電氧化具有提高濾餅層親水性和殺菌雙重作用,因而能夠有效降低膜污染。即,本發明將電絮凝、電氧化與膜分離進行一體化結合,通過絮凝作用和氧化作用改變水中顆粒物大小、分子結構和極性,調節濾餅層的孔隙結構和親水性,進而有效緩解膜污染,同時改善出水水質。
以下作為本發明優選的技術方案,但不作為本發明提供的技術方案的限制,通過以下技術方案,可以更好的達到和實現本發明的技術目的和有益效果。
作為本發明優選的技術方案,所述陽極板為鈦釕電極。
優選地,所述陽極板的個數≥1個。
本發明中,以鈦釕電極作為陽極,相對于傳統的鐵材、鋁材、鈦材或鋅材,鈦釕電極為尺寸穩定陽極,電極惰性較高,水溶液中的污染物優先發生電化學氧化反應。
作為本發明優選的技術方案,所述感應電極為感應鋁電極或感應鐵電極。
優選地,所述感應電極的個數≥1個。
作為本發明優選的技術方案,所述陰極板為鋁陰極、鐵陰極或不銹鋼陰極。
優選地,所述陰極板的個數≥1個。
作為本發明優選的技術方案,所述膜組件為簾式平板膜或中空纖維膜;
優選地,所述膜組件中的膜元件為微濾膜、超濾膜或納濾膜中任意一種或至少兩種的組合,所述組合典型但非限制性的實例有:微濾膜和超濾膜的組合,超濾膜和納濾膜的組合,微濾膜、超濾膜和納濾膜的組合等。
第二方面,本發明提供了上述電化學-膜分離水處理裝置的處理方法,所述方法為:
(a)通入污水,啟動電化學裝置,調節電化學參數和膜分離參數,進行電絮凝、電化學氧化和電解過程,在膜組件表面形成濾餅層;
(b)啟動動力裝置,進行膜過濾處理,將處理后的水體從膜組件出水口排出。
本發明中,采用所述裝置進行水處理過程中,在電場作用下進行預先氧化,污染物發生降解,分子結構和極性發生改變;同時,利用電化學絮凝改變顆粒物的大小,調控絮體特性,使絮體疏松多孔;絮體在水力作用下積累在膜表面,形成親水且疏松多孔的濾餅層;最后,該濾餅層在電場作用下提高了親水特性。
作為本發明優選的技術方案,步驟(a)中所述調節電絮凝參數為:調節電流密度為5A/m2~50A/m2,例如5A/m2、10A/m2、15A/m2、20A/m2、25A/m2、30A/m2、35A/m2、40A/m2、45A/m2或50A/m2等,但并不僅限于所列舉的數值,該數值范圍內其他未列舉的數值同樣適用,優選為10A/m2。
優選地,步驟(a)中所述調節膜分離參數為:調節跨膜壓差為20kPa~50kPa,例如20kPa、25kPa、27kPa、30kPa、33kPa、35kPa、40kPa、43kPa、45kPa、47kPa或50kPa等,但并不僅限于所列舉的數值,該數值范圍內其他未列舉的數值同樣適用,優選為跨膜壓差為30kPa。
本發明中,通過調節電絮凝過程中電絮凝的參數,可以控制所形成的濾餅層的孔徑與孔的空間分布,保證透水性的同時截留污染物。因而,電絮凝過程中電流密度和跨膜壓差均需控制在一定范圍內。
若電流密度過高,會使絮凝劑投加過量,形成的多余絮體反而造成膜污染;電流密度過低,會使絮凝不完全,減緩膜污染效果變差;
若跨膜壓差過高,會使出水水質變差;跨膜壓差過低,會使污水處理量降低。
作為本發明優選的技術方案,步驟(a)所述的污水處理量為200L·m-2·h-1~20000L·m-2·h-1,例如200L·m-2·h-1、500L·m-2·h-1、1000L·m-2·h-1、3000L·m-2·h-1、5000L·m-2·h-1、7000L·m-2·h-1、10000L·m-2·h-1、13000L·m-2·h-1、15000L·m-2·h-1、17000L·m-2·h-1或20000L·m-2·h-1等,但并不僅限于所列舉的數值,該數值范圍內其他未列舉的數值同樣適用,優選為3000L·m-2·h-1。
本發明中,通過所述裝置和方法,在所述電化學參數和膜分離參數條件下,形成的濾餅層與膜組件的接觸角為60°~70°。此處,所述接觸角是指在氣、液、固三相交點處所作的氣-液界面的切線穿過液體與固-液交界線之間的夾角θ,是潤濕程度的量度。所述接觸角越小,潤濕程度越大,表明其表面親水性能越好,超濾膜的抗污染能力越強。
同時,所形成的濾餅層的表觀孔隙率為16%~20%,孔徑為8nm~15nm,這表明了本發明所述方法形成的濾餅層透水性較好,且所述濾餅層的孔徑小于所用膜組件的孔徑,更有利于防止膜孔內部堵塞。
第三方面,本發明提供了上述電化學-膜分離水處理裝置的用途,所述電化學-膜分離水處理裝置應用于飲用水和污水處理領域。
與現有技術相比,本發明具有以下有益效果:
(1)本發明通過電場效應、電化學氧化和感應電絮凝作用,改變污染物分子結構、控制顆粒物尺寸大小,在膜表面形成疏松多孔的和親水性增強的濾餅層,極大緩解膜污染并提升出水水質;
(2)本發明將電絮凝、電氧化和膜分離進行了一體化組合,發明的反應器結構緊湊,相比傳統的電絮凝-膜分離或者電氧化-膜分離的分體式裝置,在有效緩解膜污染的同時還極大節省了反應器空間占地;
(3)本發明可以在反應器內的膜表面形成疏松多孔并具有高親水性的濾餅層,可減緩膜污染,提高通量(相較ECMR提高10%~15%);同時有利于水力反沖洗,反洗后膜通量恢復情況更佳,有效延長了膜使用周期。



