申請日2017.09.25
公開(公告)日2017.12.26
IPC分類號E03F5/22
摘要
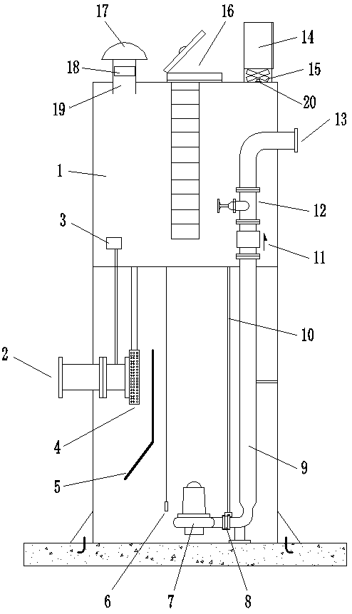
一種防澇一體化污水預制泵站,包括井筒、進水口、防水電動閥、過濾格柵、擋板、液位計、潛污泵、耦合器、出水管、導軌、止回閥、閘閥、出水口、控制系統、升降裝置、人孔、防護帽、軸流風機、通風管組成,其特征是:在井筒(1)側面安裝進水口(2)和出水口(13),進水口(2)連接防水電動閥(3),防水電動閥(3)連接過濾格柵(4),在井筒(1)內部安裝擋板(5)和液位計(6),潛污泵(7)連接耦合器(8),耦合器(8)連接出水管(9)和導軌(10),出水管(9)連接止回閥(11),止回閥(11)連接閘閥(12),閘閥(12)連接出水口(13),在井筒(1)頂部安裝升降裝置(15)、人孔(16)和通風管(19),在升降裝置(15)上安裝控制柜(14)和液位開關(20),在通風管(19)上安裝軸流風機(18)和防護帽(17)。
權利要求書
1.一種防澇一體化污水預制泵站,包括井筒、進水口、防水電動閥、過濾格柵、擋板、液位計、潛污泵、耦合器、出水管、導軌、止回閥、閘閥、出水口、控制系統、升降裝置、人孔、防護帽、軸流風機、通風管組成,其特征是:在井筒(1)側面安裝進水口(2)和出水口(13),進水口(2)連接防水電動閥(3),防水電動閥(3)連接過濾格柵(4),在井筒(1)內部安裝擋板(5)和液位計(6),潛污泵(7)連接耦合器(8),耦合器(8)連接出水管(9)和導軌(10),出水管(9)連接止回閥(11),止回閥(11)連接閘閥(12),閘閥(12)連接出水口(13),在井筒(1)頂部安裝升降裝置(15)、人孔(16)和通風管(19),在升降裝置(15)上安裝控制柜(14)和液位開關(20),在通風管(19)上安裝軸流風機(18)和防護帽(17)。
說明書
防澇一體化污水預制泵站
技術領域
本發明涉及排水領域,具體涉及一種防澇一體化污水預制泵站。
背景技術
現階段我國城市的發展日新月異,產生的廢水污水越來越多,各種環境污染問題也越來越嚴重。一般的一體化預制泵站,大多是安裝在城市低洼位置,而控制系統直接固定安裝在預制泵站的井筒上,當發生城市內澇時,控制系統容易被水淹沒,造成預制泵站無法正常工作。
發明內容
本發明的目的是提供一種具有控制系統自動升降裝置的防澇一體化污水預制泵站。
本發明的目的是這樣實現的:
一種防澇一體化污水預制泵站,包括井筒、進水口、防水電動閥、過濾格柵、擋板、液位計、潛污泵、耦合器、出水管、導軌、止回閥、閘閥、出水口、控制系統、升降裝置、人孔、防護帽、軸流風機、通風管組成,其特征是:在井筒(1)側面安裝進水口(2)和出水口(13),進水口(2)連接防水電動閥(3),防水電動閥(3)連接過濾格柵(4),在井筒(1)內部安裝擋板(5)和液位計(6),潛污泵(7)連接耦合器(8),耦合器(8)連接出水管(9)和導軌(10),出水管(9)連接止回閥(11),止回閥(11)連接閘閥(12),閘閥(12)連接出水口(13),在井筒(1)頂部安裝升降裝置(15)、人孔(16)和通風管(19),在升降裝置(15)上安裝控制柜(14)和液位開關(20),在通風管(19)上安裝軸流風機(18)和防護帽(17)。
本發明達到了結構緊湊和自動控制,延長了設備使用壽命的效果。



