申請日2017.09.25
公開(公告)日2017.12.29
IPC分類號C02F9/10
摘要
本發明涉及污水處理技術領域,且公開了一種成本低廉的污水凈化池,包括箱體,所述箱體左側的頂端固定連接有進水管,所述進水管上固定安裝有閥門一,所述箱體的頂部固定連接有貫穿并延伸至箱體內部的連接管,所述連接管位于箱體頂部外側的一端固定連接有催化劑加料盒,所述箱體的頂部固定連接有位于連接管右側的電機座。該成本低廉的污水凈化池,通過導熱片、加熱裝置和銅管的設置,讓加熱裝置加熱之后,將熱量通過銅管傳遞到導熱片,使得導熱片周圍的污水熱量增加,箱體底端的熱水向箱體的頂端上涌,使箱體頂端的冷水向下流動,從而達到生化活動活躍的效果,進而達到減少推流器而導致凈化成本低廉的效果。
權利要求書
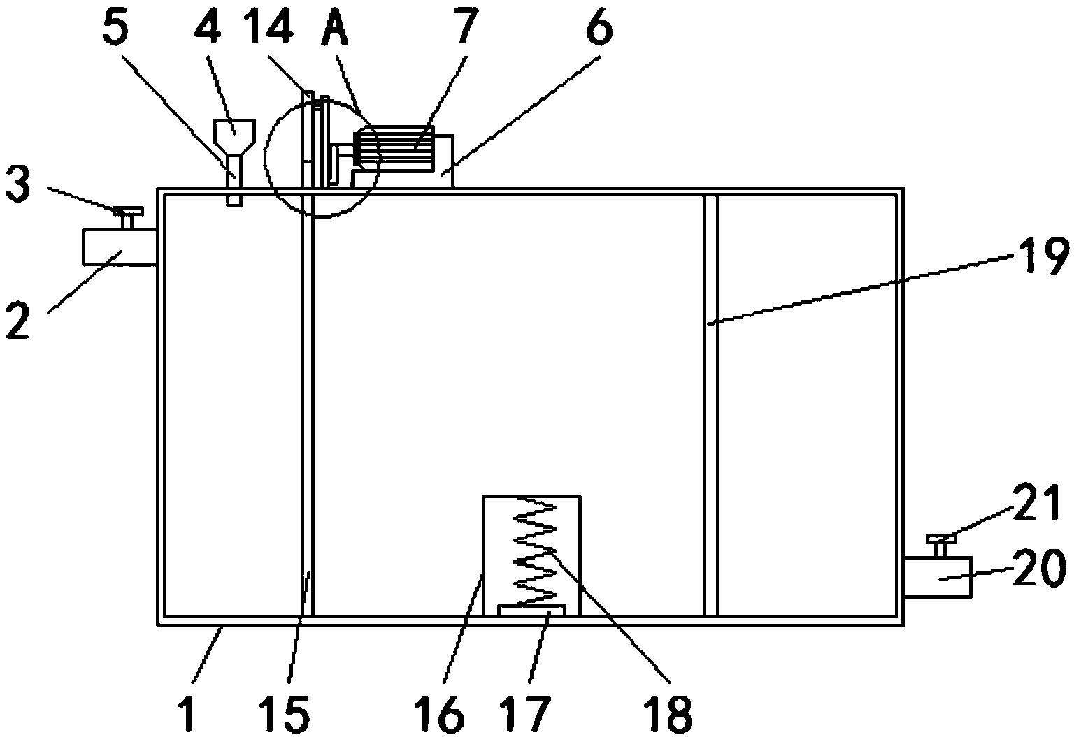
1.一種成本低廉的污水凈化池,包括箱體(1),其特征在于:所述箱體(1)左側的頂端固定連接有進水管(2),所述進水管(2)上固定安裝有閥門一(3),所述箱體(1)的頂部固定連接有貫穿并延伸至箱體(1)內部的連接管(5),所述連接管(5)位于箱體(1)頂部外側的一端固定連接有催化劑加料盒(4),所述箱體(1)的頂部固定連接有位于連接管(5)右側的電機座(6),所述電機座(6)的頂部固定安裝有電機(7),所述電機(7)的輸出軸固定連接有轉桿(8),所述轉桿(8)遠離電機(7)的一端活動連接有Y形桿(9),所述Y形桿(9)的左側固定連接有圓柱(10),所述箱體(1)的頂部固定連接有位于電機座(6)正面的連接桿一(11),所述連接桿一(11)遠離箱體(1)的一端固定連接有豎桿(12),所述箱體(1)的頂部固定連接有位于電機座(6)背面的連接桿二(13),所述連接桿二(13)遠離箱體(1)的一端與豎桿(12)固定連接,所述圓柱(10)遠離Y形桿(9)的一端固定連接有插板(14),所述插板(14)的底部固定連接有貫穿并延伸至箱體(1)內部的過濾層(15),所述箱體(1)內腔的底部固定連接有位于過濾層(15)右側的導熱片(16),所述箱體(1)內腔的底部固定安裝有位于導熱片(16)內部的加熱裝置(17),所述加熱裝置(17)的頂部固定連接有銅管(18),所述銅管(18)的頂部與導熱片(16)固定連接,所述箱體(1)內腔的底部固定連接有過濾網(19),所述過濾網(19)的頂部與箱體(1)內腔的頂部固定連接,所述箱體(1)右側的底端固定連接有出水管(20),所述出水管(20)上固定安裝有閥門二(21)。
2.根據權利要求1所述的一種成本低廉的污水凈化池,其特征在于:所述Y形桿(9)包括空槽(91)和長桿(92),所述Y形桿(9)的下端開設有空槽(91),并且轉桿(8)遠離電機(7)的一端位于空槽(91)的內部,所述Y形桿(9)的上端為長桿(92),圓柱(10)與長桿(92)左側的頂端固定連接。
3.根據權利要求1所述的一種成本低廉的污水凈化池,其特征在于:所述連接桿一(11)和連接桿二(13)的形狀均為L形,連接桿一(11)和連接桿二(13)遠離箱體(1)的一端分別與豎桿(12)的正面和豎桿(12)的背面固定連接。
4.根據權利要求1所述的一種成本低廉的污水凈化池,其特征在于:所述豎桿(12)上開設有滑槽,長桿(92)位于滑槽的內部,長桿(92)與豎桿(12)活動連接。
5.根據權利要求1所述的一種成本低廉的污水凈化池,其特征在于:所述轉桿(8)的形狀為L形,轉桿(8)的一端與電機(7)固定連接,轉桿(8)遠離電機(7)的一端位于空槽(91)的內部,與Y形桿(9)活動連接。
6.根據權利要求1所述的一種成本低廉的污水凈化池,其特征在于:所述過濾層(15)的高度大于箱體(1)的高度,過濾層(15)的頂部位于箱體(1)頂部的外側。
7.根據權利要求1所述的一種成本低廉的污水凈化池,其特征在于:所述過濾網(19)的頂部和過濾網(19)的底部在同一垂直線上,過濾網(19)位于導熱片(16)的右側。
說明書
一種成本低廉的污水凈化池
技術領域
本發明涉及污水處理技術領域,具體為一種成本低廉的污水凈化池。
背景技術
污水處理為使污水達到排水某一水體或再次使用的水質要求對其進行凈化的過程,污水處理被廣泛應用于建筑、農業、交通、能源、石化、環保、城市景觀、醫療和餐飲等各個領域,也越來越多地走進尋常百姓的日常生活,關于水污染的話題不斷被提起,特別是地下水污染問題,浙江杭州、溫州等地民眾環保意識的覺醒,對水污染的關切程度達到了空前,地表水污染顯而易見,地下水的污染卻是觸目驚心,中國十三億人口中,有百分之七十飲用地下水,六百六十多個城市中有四百多個城市以地下水為飲用水源,但是據介紹,全國百分之九十的城市地下水已受到污染。
目前現有的污水處理主要分為預處理、生化處理和泥水過濾三種,其中生化處理過程中,需要對污水池中安裝大量的推流器已保證生化活動的活躍性,但是因為污水池中污染物質復雜,容易對推流器造成腐蝕和損壞,從而導致污水處理成本高,在中國專利CN103351052 B中提出了一種污水處理池,該專利中有自動推流從而減少推流器安裝的優點,但是在自動推流過程中太依賴太陽提供的熱能進行推流,沒有根據環境的變化做考慮,故而提出一種成本低廉的污水凈化池。
發明內容
(一)解決的技術問題
針對現有技術的不足,本發明提供了一種成本低廉的污水凈化池,具備減少推流器的裝置使得凈化成本低廉等優點,解決了污水凈化成本高的問題。
(二)技術方案
為實現上述減少推流器的裝置使得凈化成本低廉目的,本發明提供如下技術方案:一種成本低廉的污水凈化池,包括箱體,所述箱體左側的頂端固定連接有進水管,所述進水管上固定安裝有閥門一,所述箱體的頂部固定連接有貫穿并延伸至箱體內部的連接管,所述連接管位于箱體頂部外側的一端固定連接有催化劑加料盒,所述箱體的頂部固定連接有位于連接管右側的電機座,所述電機座的頂部固定安裝有電機,所述電機的輸出軸固定連接有轉桿,所述轉桿遠離電機的一端活動連接有Y形桿,所述Y形桿的左側固定連接有圓柱,所述箱體的頂部固定連接有位于電機座正面的連接桿一,所述連接桿一遠離箱體的一端固定連接有豎桿,所述箱體的頂部固定連接有位于電機座背面的連接桿二,所述連接桿二遠離箱體的一端與豎桿固定連接,所述圓柱遠離Y形桿的一端固定連接有插板,所述插板的底部固定連接有貫穿并延伸至箱體內部的過濾層,所述箱體內腔的底部固定連接有位于過濾層右側的導熱片,所述箱體內腔的底部固定安裝有位于導熱片內部的加熱裝置,所述加熱裝置的頂部固定連接有銅管,所述銅管的頂部與導熱片固定連接,所述箱體內腔的底部固定連接有過濾網,所述過濾網的頂部與箱體內腔的頂部固定連接,所述箱體右側的底端固定連接有出水管,所述出水管上固定安裝有閥門二。
優選的,所述Y形桿包括空槽和長桿,所述Y形桿的下端開設有空槽,并且轉桿遠離電機的一端位于空槽的內部,所述Y形桿的上端為長桿,圓柱與長桿左側的頂端固定連接。
優選的,所述連接桿一和連接桿二的形狀均為L形,連接桿一和連接桿二遠離箱體的一端分別與豎桿的正面和豎桿的背面固定連接。
優選的,所述豎桿上開設有滑槽,長桿位于滑槽的內部,長桿與豎桿活動連接。
優選的,所述轉桿的形狀為L形,轉桿的一端與電機固定連接,轉桿遠離電機的一端位于空槽的內部,與Y形桿活動連接。
優選的,所述過濾層的高度大于箱體的高度,過濾層的頂部位于箱體頂部的外側。
優選的,所述過濾網的頂部和過濾網的底部在同一垂直線上,過濾網位于導熱片的右側。
(三)有益效果
與現有技術相比,本發明提供了一種成本低廉的污水凈化池,具備以下
有益效果:
1、該成本低廉的污水凈化池,通過導熱片、加熱裝置和銅管的設置,讓加熱裝置加熱之后,將熱量通過銅管傳遞到導熱片,使得導熱片周圍的污水熱量增加,箱體底端的熱水向箱體的頂端上涌,使箱體頂端的冷水向下流動,從而達到生化活動活躍的效果,進而達到減少推流器而導致凈化成本低廉的效果。
2、該成本低廉的污水凈化池,通過電機、轉桿、Y形桿和圓柱的設置,讓電機正常工作后,帶動轉桿轉動,使得Y形桿在豎桿的滑槽內部向上或向下移動,使得圓柱所連接的插板向上或向下移動,從而達到將過濾層向上或向下移動的效果,進而達到將過濾層取出進行清洗的效果。



