申請日2017.09.25
公開(公告)日2017.12.26
IPC分類號C02F1/52; C02F1/50
摘要
本發明提供了一種高效的生活污水凈化處理裝置,屬于污水凈化處理技術領域,包括箱體、沉淀劑箱、消毒液箱、支撐板和底板;所述沉淀劑箱固定在支撐板上,沉淀劑箱下方通入沉淀劑進液管;所述沉淀劑進液管穿過支撐板與第一密封件可拆卸連接;所述第一密封件固定在箱體的上表面,第一密封件下方固定連接有沉淀劑出液管;所述沉淀劑出液管穿過箱體及箱體內部的格柵網;本發明利用雙攪拌式沉降消毒方法對生活污水進行徹底地凈化消毒,節約了勞動成本和人工操作時間;密封件的設置防止沉淀劑和消毒液的泄露,造成不必要的污染;減震裝置可以降低裝置本身的震動幅度,避免裝置因震動造成的損壞;本發明結構簡單,設計合理。
權利要求書
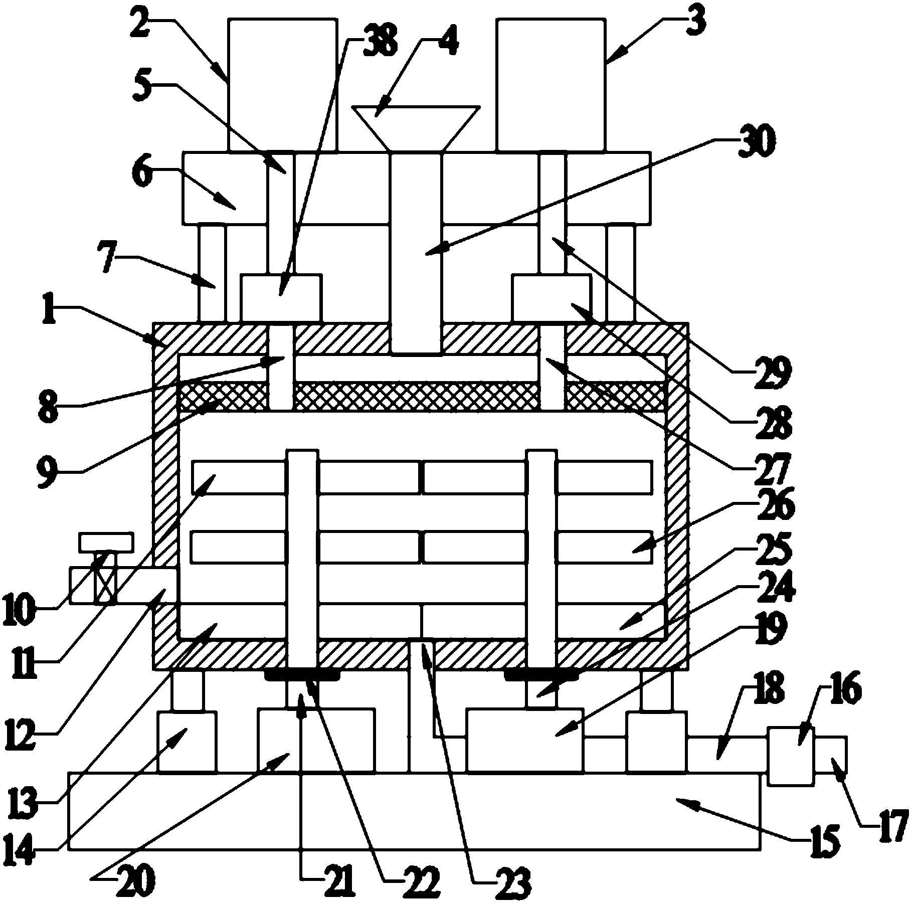
1.一種高效的生活污水凈化處理裝置,包括箱體、沉淀劑箱、消毒液箱、支撐板和底板;其特征是,所述沉淀劑箱固定在支撐板上,沉淀劑箱下方通入沉淀劑進液管;所述沉淀劑進液管穿過支撐板與第一密封件可拆卸連接;所述第一密封件固定在箱體的上表面,第一密封件下方固定連接有沉淀劑出液管;所述沉淀劑出液管穿過箱體及箱體內部的格柵網;所述消毒液箱固定連接在支撐板上,消毒液箱下方設有消毒液進液管;所述消毒液進液管穿過支撐板與第二密封件可拆卸連接;所述第二密封件固定在箱體的上表面,第二密封件下方固定連接消毒液出液管;所述消毒液出液管穿過箱體及箱體內部的格柵網;所述支撐板的正中位置上方設有進水口;所述進水口下方固定連接進水通道;所述進水通道穿過箱體;所述格柵網固定在箱體的內部上方;所述箱體的左下方設有第一轉軸;所述第一轉軸穿過箱體,且在箱體內部的軸段上固定連接有第一攪拌葉片和第一刮板;所述第一攪拌葉片分為上下兩層,每層兩片;所述第一轉軸在箱體外部的軸段上設有密封圈;所述第一轉軸的下方與第一傳動裝置固定連接;所述第一傳動裝置固定在底板上;所述箱體的右下方設有第二轉軸;所述第二轉軸穿過箱體,且在箱體內部的軸段上固定連接有第二攪拌葉片和第二刮板;所述第二攪拌葉片分為上下兩層,每層兩片;所述第二轉軸的下方與第二傳動裝置固定連接;所述第二傳動裝置固定在底板上;所述箱體的底部正中位置開有出渣口;所述出渣口與進料管固定連接;所述進料管與吸料泵相連;所述吸料泵的右側設有出料管;所述箱體的下方邊緣拐角處均勻設置四個減震裝置;所述減震裝置固定連接在底板上。
2.根據權利要求1所述的高效的生活污水凈化處理裝置,其特征是,所述第一傳動裝置包括驅動齒輪和主動齒輪;所述驅動齒輪和主動齒輪互相嚙合;所述驅動齒輪上方與第一轉軸固定連接;所述主動齒輪與外部電機相連。
3.根據權利要求1或2所述的高效的生活污水凈化處理裝置,其特征是,述減震裝置包括支撐桿、上固定板、彈簧和下固定板;所述支撐桿與上固定板固定連接;所述上固定板下方與彈簧固定相連;所述彈簧的下端與下固定板固定連接;所述下固定板設置在減震裝置的底部。
4.根據權利要求1或2所述的高效的生活污水凈化處理裝置,其特征是,所述密封件與管道的連接處設有卡槽。
說明書
高效的生活污水凈化處理裝置
技術領域
本發明涉及一種污水凈化處理技術領域,具體是一種高效的生活污水凈化處理裝置。
背景技術
生活污水主要是城市生活中使用的各種洗滌劑和污水、垃圾、糞便等,多為無毒的無機鹽類,生活污水中含氮、磷、硫多,致病細菌多;隨著人們生活水平的提高,生活污水排放越來越嚴重;現有的生活污水處理裝置其結構復雜,制造成本高,污水處理效率低。
發明內容
針對上述現有技術的不足,本發明要解決的技術問題是提供一種新型環保的高效的生活污水凈化處理裝置。
為解決上述技術問題,本發明提供了如下技術方案:
一種高效的生活污水凈化處理裝置,包括箱體、沉淀劑箱、消毒液箱、支撐板和底板;所述沉淀劑箱固定在支撐板上,沉淀劑箱下方通入沉淀劑進液管;所述沉淀劑進液管穿過支撐板與第一密封件可拆卸連接;所述第一密封件固定在箱體的上表面,第一密封件下方固定連接有沉淀劑出液管;所述沉淀劑出液管穿過箱體及箱體內部的格柵網;所述消毒液箱固定連接在支撐板上,消毒液箱下方設有消毒液進液管;所述消毒液進液管穿過支撐板與第二密封件可拆卸連接;所述第二密封件固定在箱體的上表面,第二密封件下方固定連接消毒液出液管;所述消毒液出液管穿過箱體及箱體內部的格柵網;所述支撐板的正中位置上方設有進水口;所述進水口下方固定連接進水通道;所述進水通道穿過箱體;所述格柵網固定在箱體的內部上方;所述箱體的左下方設有第一轉軸;所述第一轉軸穿過箱體,且在箱體內部的軸段上固定連接有第一攪拌葉片和第一刮板;所述第一攪拌葉片分為上下兩層,每層兩片;所述第一轉軸在箱體外部的軸段上設有密封圈;所述第一轉軸的下方與第一傳動裝置固定連接;所述第一傳動裝置固定在底板上;所述箱體的右下方設有第二轉軸;所述第二轉軸穿過箱體,且在箱體內部的軸段上固定連接有第二攪拌葉片和第二刮板;所述第二攪拌葉片分為上下兩層,每層兩片;所述第二轉軸的下方與第二傳動裝置固定連接;所述第二傳動裝置固定在底板上;所述箱體的底部正中位置開有出渣口;所述出渣口與進料管固定連接;所述進料管與吸料泵相連;所述吸料泵的右側設有出料管;所述箱體的下方邊緣拐角處均勻設置四個減震裝置;所述減震裝置固定連接在底板上。
作為本發明進一步的改進方案:所述第一傳動裝置包括驅動齒輪和主動齒輪;所述驅動齒輪和主動齒輪互相嚙合;所述驅動齒輪上方與第一轉軸固定連接;所述主動齒輪與外部電機相連。
作為本發明進一步的改進方案:述減震裝置包括支撐桿、上固定板、彈簧和下固定板;所述支撐桿與上固定板固定連接;所述上固定板下方與彈簧固定相連;所述彈簧的下端與下固定板固定連接;所述下固定板設置在減震裝置的底部。
作為本發明進一步的改進方案:所述密封件與管道的連接處設有卡槽。
與現有技術相比,本發明的有益效果是:
本發明利用雙攪拌式沉降消毒方法對生活污水進行徹底地凈化消毒,節約了勞動成本和人工操作時間;密封件的設置防止沉淀劑和消毒液的泄露,造成不必要的污染;減震裝置可以降低裝置本身的震動幅度,避免裝置因震動造成的損壞;本發明結構簡單,設計合理。



