申請日2017.09.26
公開(公告)日2017.12.26
IPC分類號C02F1/00
摘要
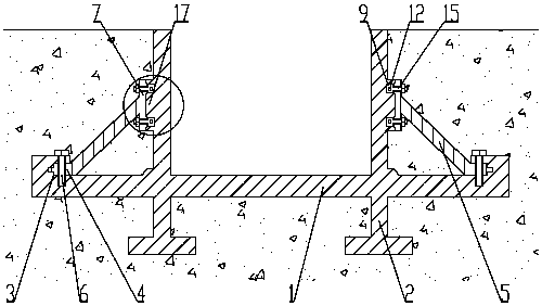
一種新型污水處理生物濾池裝置,包括池體、支撐桿、固定塊、固定桿,所述池體連接土壤,所述池體下部具有預埋架,所述池體兩端具有定位凸起槽,所述支撐桿下部具有定位凸起,所述定位凸起與定位凸起槽相適應,所述定位凸起通過定位釘連接定位凸起槽,所述定位凸起插入定位凸起槽中,所述支撐桿上部具有安裝板,所述池體兩側具有安裝凸起,所述安裝凸起與安裝板相適應,所述安裝板連接安裝凸起,所述安裝凸起兩側具有固定塊槽,所述固定塊槽與固定塊相適應,所述固定塊連接固定塊槽,所述固定塊具有安裝桿,所述安裝桿連接安裝板,所述安裝桿穿過安裝板。
權利要求書
1.一種新型污水處理生物濾池裝置,其特征是:包括池體、支撐桿、固定塊、固定桿,所述池體連接土壤,所述池體下部具有預埋架,所述池體兩端具有定位凸起槽,所述支撐桿下部具有定位凸起,所述定位凸起與定位凸起槽相適應,所述定位凸起通過定位釘連接定位凸起槽,所述定位凸起插入定位凸起槽中,所述支撐桿上部具有安裝板,所述池體兩側具有安裝凸起,所述安裝凸起與安裝板相適應,所述安裝板連接安裝凸起,所述安裝凸起兩側具有固定塊槽,所述固定塊槽與固定塊相適應,所述固定塊連接固定塊槽,所述固定塊具有安裝桿,所述安裝桿連接安裝板,所述安裝桿穿過安裝板,所述安裝桿外端連接安裝螺母,所述安裝螺母與安裝桿相互嚙合。
2.根據權利要求1所述的一種新型污水處理生物濾池裝置,其特征是: 所述固定塊內部具有固定桿槽,所述安裝凸起內部具有配合固定桿槽,所述配合固定桿槽與固定桿槽相對應,所述固定桿槽與固定桿相適應,所述固定桿依次穿過固定桿槽、配合固定桿槽,所述固定桿兩側具有固定凸起,所述固定凸起連接固定螺母,所述固定螺母與固定凸起相互嚙合。
說明書
一種新型污水處理生物濾池裝置
技術領域
本發明涉及濾池領域,尤其涉及一種新型污水處理生物濾池裝置。
背景技術
利用生物濾池過濾污水,能夠在過濾污水的同時節能、環保,是當下流行的污水處理方式,然而現有的污水處理生物濾池連接不穩固,使濾池易與土壤發生松動,因此造成污水泄露。
發明內容
本發明針對現有技術存在的上述不足,提供一種連接穩固的一種新型污水處理生物濾池裝置。
本發明的目的是通過以下技術方案來實現:
一種新型污水處理生物濾池裝置,包括池體、支撐桿、固定塊、固定桿,所述池體連接土壤,所述池體下部具有預埋架,所述池體兩端具有定位凸起槽,所述支撐桿下部具有定位凸起,所述定位凸起與定位凸起槽相適應,所述定位凸起通過定位釘連接定位凸起槽,所述定位凸起插入定位凸起槽中,所述支撐桿上部具有安裝板,所述池體兩側具有安裝凸起,所述安裝凸起與安裝板相適應,所述安裝板連接安裝凸起,所述安裝凸起兩側具有固定塊槽,所述固定塊槽與固定塊相適應,所述固定塊連接固定塊槽,所述固定塊具有安裝桿,所述安裝桿連接安裝板,所述安裝桿穿過安裝板,所述安裝桿外端連接安裝螺母,所述安裝螺母與安裝桿相互嚙合。
所述固定塊內部具有固定桿槽,所述安裝凸起內部具有配合固定桿槽,所述配合固定桿槽與固定桿槽相對應,所述固定桿槽與固定桿相適應,所述固定桿依次穿過固定桿槽、配合固定桿槽,所述固定桿兩側具有固定凸起,所述固定凸起連接固定螺母,所述固定螺母與固定凸起相互嚙合。
有益效果:
定位凸起與定位凸起槽相適應,使定位凸起槽與定位凸起連接緊密,定位凸起通過定位釘連接定位凸起槽,將定位凸起固定在定位凸起槽內,進而使池體與支撐桿連接穩固,固定塊固定在固定塊槽內,令固定塊與池體連接穩固,安裝桿穿過安裝板,安裝螺母與安裝桿相互嚙合,使安裝板與安裝凸起連接穩固,固定桿依次穿過固定桿槽、配合固定桿槽,增加了固定塊與安裝凸起連接的穩定性,固定凸起連接固定螺母,令固定桿與安裝凸起相對結構穩定,定位凸起連接定位凸起槽、安裝板連接安裝凸起,使池體與支撐桿相對結構穩定,這種污水處理生物濾池裝置連接穩固,使過濾池不易與土壤發生松動,不會因此造成污水泄露。



