公布日:2023.12.26
申請日:2023.11.22
分類號:C02F11/125(2019.01)I;C02F11/121(2019.01)I;B01D36/04(2006.01)I
摘要
本申請涉及螺旋輸送器領域,尤其涉及一種用于疊螺污泥處理器的螺旋輸送器。包括輸送管道、螺旋葉片、傳動軸、電機、接水板,接水板位于輸送管道下方,接水板的內部形成接水槽,輸送管道的底部位于接水槽內部,接水槽內的底部設有多個間隔板,相鄰間隔板之間形成沉淀槽,間隔板的上端與輸送管道的下表面間隔設置;輸送管道的下表面設有第一排水口,第一排水口的上端設有濾網,第一排水口位于接水槽的開口圍繞區域的內側;濾網具有彈性,濾網的中心向上拱起成凸面狀。泥水被輸送至經過第一排水口時,水會穿過濾網從第一排水口流出并滴落至接水槽中,經過多個沉淀槽的沉降和溢流實現對水進行逐級沉降凈化,提高了泥水初步分離工作效率。

權利要求書
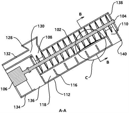
1.一種用于疊螺污泥處理器的螺旋輸送器,包括輸送管道(100)、螺旋葉片(102)、傳動軸(104)、電機(106),所述螺旋葉片(102)與所述傳動軸(104)固定連接且位于所述輸送管道(100)內部,所述傳動軸(104)與電機(106)的輸出軸連接,所述輸送管道(100)的一端設有輸入口(108),所述輸送管道(100)的另一端設有輸出口(110),其特征在于,還包括接水板(112),所述接水板(112)位于所述輸送管道(100)下方,所述接水板(112)的橫截面形狀為匚形,所述接水板(112)的內部形成接水槽(114),所述接水槽(114)的開口朝上設置,所述接水槽(114)的開口兩邊分別與所述輸送管道(100)的外側面固定連接,所述輸送管道(100)的底部位于所述接水槽(114)內部,所述接水槽(114)內的底部設有多個間隔板(116),所述間隔板(116)與所述輸送管道(100)的中心軸線垂直,各所述間隔板(116)沿所述輸送管道(100)的中心軸線排列,相鄰所述間隔板(116)之間形成沉淀槽(118),所述間隔板(116)的上端與所述輸送管道(100)的下表面間隔設置;所述輸送管道(100)的下表面設有第一排水口(120),所述第一排水口(120)的上端設有濾網(122),所述濾網(122)遮蓋所述第一排水口(120)的上端,所述濾網(122)的邊緣與所述第一排水口(120)的上端邊緣固定連接,所述第一排水口(120)位于所述接水槽(114)的開口圍繞區域的內側;所述濾網(122)具有彈性,所述濾網(122)的中心向上拱起成凸面狀,所述螺旋葉片(102)旋轉過程中能夠與所述濾網(122)擠壓并相對滑動;所述輸送管道(100)在工作過程中傾斜設置;所述螺旋葉片(102)的外圈固定連接有一層海綿片(124),所述海綿片(124)與所述輸送管道(100)的內壁壓緊配合;所述第一排水口(120)的形狀為長條形,所述第一排水口(120)的長度方向與所述輸送管道(100)的中心軸線平行,所述第一排水口(120)的一端位于所述輸送管道(100)兩端之間的中間位置,所述第一排水口(120)的另一端位于靠近所述輸出口(110)的位置,所述接水槽(114)的下端延伸至所述輸送管道(100)的下端,所述接水槽(114)的上端延伸至所述輸送管道(100)的上端;所述第一排水口(120)內設有若干根張緊絲(126),所述張緊絲(126)具有彈性,所述張緊絲(126)的兩端分別與所述第一排水口(120)的下端的兩個長邊固定連接,各所述張緊絲(126)沿所述輸送管道(100)的中心軸線排列,所述張緊絲(126)的中心向上拱起成曲線狀,所述張緊絲(126)的頂部與所述濾網(122)壓緊配合,各所述張緊絲(126)的排列間距大于所述濾網(122)的網格寬度。
2.根據權利要求1所述的用于疊螺污泥處理器的螺旋輸送器,其特征在于,所述接水板(112)由透明材料制成。
3.根據權利要求1所述的用于疊螺污泥處理器的螺旋輸送器,其特征在于,所述輸送管道(100)上表面固定連接有料斗(128),所述料斗(128)圍繞所述輸入口(108)設置,所述料斗(128)的側壁上設有第二排水口(130),所述第二排水口(130)位于所述料斗(128)的底部。
4.根據權利要求3所述的用于疊螺污泥處理器的螺旋輸送器,其特征在于,所述第二排水口(130)位于所述料斗(128)的下側,所述料斗(128)的下側面固定連接有排水管(132),所述排水管(132)的中心軸線與所述輸送管道(100)的中心軸線平行。
5.根據權利要求1所述的用于疊螺污泥處理器的螺旋輸送器,其特征在于,所述輸送管道(100)的下端固定連接有機箱(134),所述電機(106)位于所述機箱(134)內部且與所述機箱(134)固定連接,所述機箱(134)的下表面設有漏水口(136),所述漏水口(136)位于所述機箱(134)靠近所述輸送管道(100)的一端,所述接水板(112)的下端與所述機箱(134)固定連接,所述接水槽(114)的下端的端口位于所述漏水口(136)上方。
6.根據權利要求1所述的用于疊螺污泥處理器的螺旋輸送器,其特征在于,所述輸送管道(100)的下端的端口以及所述輸送管道(100)的上端的端口固定連接有端蓋(138),所述傳動軸(104)的兩端分別與兩個所述端蓋(138)轉動連接。
7.根據權利要求1所述的用于疊螺污泥處理器的螺旋輸送器,其特征在于,所述輸送管道(100)的下表面固定連接有排料管(140),所述排料管(140)圍繞所述輸出口(110)設置,所述排料管(140)與所述接水板(112)的上端固定連接。
發明內容
有鑒于此,提出一種用于疊螺污泥處理器的螺旋輸送器,實現提高泥水分離效率。
本申請提供了一種用于疊螺污泥處理器的螺旋輸送器,包括輸送管道、螺旋葉片、傳動軸、電機,所述螺旋葉片與所述傳動軸固定連接且位于所述輸送管道內部,所述傳動軸與電機的輸出軸連接,所述輸送管道的一端設有輸入口,所述輸送管道的另一端設有輸出口,還包括接水板,所述接水板位于所述輸送管道下方,所述接水板的橫截面形狀為匚形,所述接水板的內部形成接水槽,所述接水槽的開口朝上設置,所述接水槽的開口兩邊分別與所述輸送管道的外側面固定連接,所述輸送管道的底部位于所述接水槽內部,所述接水槽內的底部設有多個間隔板,所述間隔板與所述輸送管道的中心軸線垂直,各所述間隔板沿所述輸送管道的中心軸線排列,相鄰所述間隔板之間形成沉淀槽,所述間隔板的上端與所述輸送管道的下表面間隔設置;所述輸送管道的下表面設有第一排水口,所述第一排水口的上端設有濾網,所述濾網遮蓋所述第一排水口的上端,所述濾網的邊緣與所述第一排水口的上端邊緣固定連接,所述第一排水口位于所述接水槽的開口圍繞區域的內側;所述濾網具有彈性,所述濾網的中心向上拱起成凸面狀,所述螺旋葉片旋轉過程中能夠與所述濾網擠壓并相對滑動;所述輸送管道在工作過程中傾斜設置。
在上述螺旋輸送器的一些實施方式中,所述螺旋葉片的外圈固定連接有一層海綿片,所述海綿片與所述輸送管道的內壁壓緊配合。
可選的,所述第一排水口的形狀為長條形,所述第一排水口的長度方向與所述輸送管道的中心軸線平行,所述第一排水口的一端位于所述輸送管道兩端之間的中間位置,所述第一排水口的另一端位于靠近所述輸出口的位置,所述接水槽的下端延伸至所述輸送管道的下端,所述接水槽的上端延伸至所述輸送管道的上端。
可選的,所述接水板由透明材料制成。
可選的,所述第一排水口內設有若干根張緊絲,所述張緊絲具有彈性,所述張緊絲的兩端分別與所述第一排水口的下端的兩個長邊固定連接,各所述張緊絲沿所述輸送管道的中心軸線排列,所述張緊絲的中心向上拱起成曲線狀,所述張緊絲的頂部與所述濾網壓緊配合,各所述張緊絲的排列間距大于所述濾網的網格寬度。
可選的,所述輸送管道上表面固定連接有料斗,所述料斗圍繞所述輸入口設置,所述料斗的側壁上設有第二排水口,所述第二排水口位于所述料斗的底部。
可選的,所述第二排水口位于所述料斗的下側,所述料斗的下側面固定連接有排水管,所述排水管的中心軸線與所述輸送管道的中心軸線平行。
可選的,所述輸送管道的下端固定連接有機箱,所述電機位于所述機箱內部且與所述機箱固定連接,所述機箱的下表面設有漏水口,所述漏水口位于所述機箱靠近所述輸送管道的一端,所述接水板的下端與所述機箱固定連接,所述接水槽的下端的端口位于所述漏水口上方。
可選的,所述輸送管道的下端的端口以及所述輸送管道的上端的端口固定連接有端蓋,所述傳動軸的兩端分別與兩個所述端蓋轉動連接。
可選的,所述輸送管道的下表面固定連接有排料管,所述排料管圍繞所述輸出口設置,所述排料管與所述接水板的上端固定連接。
本發明的有益效果:
螺旋葉片將輸送管道內部空間分隔成串連在一起的腔體,泥沉降在腔體的底部,水浮在泥上方,腔體內的泥集中在靠近螺旋葉片外圈上表面處,當泥水被輸送至經過第一排水口時,水會穿過濾網從第一排水口流出并滴落至接水槽中,空腔內剩余的泥少部分會穿過濾網掉落至接水槽內,其余的泥會被螺旋葉片繼續向輸出口輸送,最后從輸出口排出至下方的疊螺污泥處理器的投料口內,水和少部分泥進入接水槽后,泥在沉淀槽內沉降,當沉淀槽內的水液面高于間隔板的頂邊時,水會越過間隔板向下方的沉淀槽流動,液面附近的水中泥含量較少,經過多個沉淀槽的沉降和溢流實現對水進行逐級沉降凈化,經過凈化后的水從最下方的沉淀槽頂部溢出到回收桶內,實現對泥水進行初步脫水,初步脫水過程中,不需要降低螺旋葉片的轉速,且能夠連續運行,提高了初步脫水的效率,同時還將脫水后的泥投入到疊螺污泥處理器內,減少了脫水工作的步驟,提高了脫水的整體工作效率。
(發明人:花成巍;李之鵬;曹海燕;陳娟)






