公布日:2023.12.26
申請日:2023.11.09
分類號:C02F11/13(2019.01)I;C02F11/123(2019.01)I;C02F11/147(2019.01)I;C02F3/00(2023.01)I;C02F3/12(2023.01)I;C02F3/28(2023.01)I;C10B53/00(2006.01)I;B02C19/
00(2006.01)I;B02C23/16(2006.01)I
摘要
本發明公開了一種附帶深度脫水功能的污泥處理裝置及干化炭化方法,涉及污泥處理處置及資源化利用技術領域,包括污水處理裝置、污泥一次脫水裝置、污泥干化裝置和污泥炭化裝置,所述污泥處理裝置包括污泥深度脫水裝置和粉碎篩分裝置,所述污泥深度脫水裝置包括污泥調理模塊和高壓帶機脫水模塊,所述污泥調理模塊一側與脫水裝置相連接,所述污泥調理模塊的另一側與高壓帶機脫水模塊相連接,所述高壓帶機脫水模塊的底部與污泥干化裝置相連接。本發明具通過污水處理裝置、污泥一次脫水裝置、污泥深度脫水裝置、污泥干化裝置、污泥炭化裝置和粉碎篩分裝置的設置,降低污泥含水率,提高污泥的熱值,減少后端干化炭化規模,降低碳排放。

權利要求書
1.一種附帶深度脫水功能的污泥干化炭化方法,其特征在于:該污泥干化炭化方法包括如下步驟:S1、污水處理;S2、污泥脫水;S3、污泥干化;S4、污泥炭化;S5、粉碎篩分。
2.根據權利要求1所述的一種附帶深度脫水功能的污泥干化炭化方法,其特征在于:步驟S1包括如下具體步驟:S101、采用生物法、生物膜法或厭氧生物法對污水進行處理,使污水中沉底出污泥;步驟S3包括如下具體步驟:S301、利用高溫低濕空氣與污泥進行直接或者間接熱交換,對步驟S2處理后的污泥進行干化處理;步驟S4包括如下具體步驟:S401、利用高溫低氧或者無氧氣體對步驟S301干化后污泥在炭化爐中進行直接或者間接傳熱,實現污泥炭化;步驟S5包括如下具體步驟:S501、將污泥炭化固體產物進行粉碎,并按照不同目數要求進行篩分。
3.根據權利要求2所述的一種附帶深度脫水功能的污泥干化炭化方法,其特征在于:步驟S2包括如下具體步驟:S201、對污水沉淀出的污泥進行脫水,往污泥中添加絮凝劑,將污泥含水率從99%左右降低至80%左右;S202、向步驟S201處理后的污泥中添加調理劑和骨架劑,將污泥與調理劑和骨架劑進行均勻混合;S203、對步驟S202處理后的污泥進行脫水處理,同時添加炭粉,將污泥含水率從80%左右降低至55%~60%。
4.根據權利要求2所述的一種附帶深度脫水功能的污泥干化炭化方法,其特征在于:步驟S2包括如下具體步驟:S201、對污水沉淀出的污泥進行脫水,往污泥中添加絮凝劑,將污泥含水率從99%左右降低至80%左右;S202、向步驟S201處理后的污泥中添加調理劑,將污泥與調理劑進行均勻混合;S203、對步驟S202處理后的污泥進行脫水處理,不添加炭粉,將污泥含水率從80%左右降低至65%~70%。
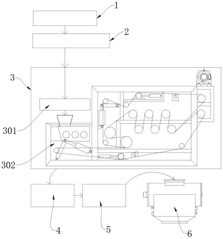
5.一種附帶深度脫水功能的污泥處理裝置,包括污水處理裝置(1)、污泥一次脫水裝置(2)、污泥干化裝置(4)和污泥炭化裝置(5),其特征在于:所述污泥處理裝置包括污泥深度脫水裝置(3)和粉碎篩分裝置(6);所述污泥深度脫水裝置(3)包括污泥調理模塊(301)和高壓帶機脫水模塊(302),所述污泥調理模塊(301),所述污泥調理模塊(301)一側與污泥一次脫水裝置(2)出口相連接,所述污泥調理模塊(301)的另一側與高壓帶機脫水模塊(302)出口相連接,所述高壓帶機脫水模塊(302)的出口與污泥干化裝置(4)相連接;所述污泥一次脫水裝置(2)的一側設置有污水處理裝置(1),所述污泥一次脫水裝置(2)的另一側設置有污泥深度脫水裝置(3),所述污泥深度脫水裝置(3)位于污泥干化裝置(4)的一側,所述污泥干化裝置(4)遠離污泥深度脫水裝置(3)的一側設置有污泥炭化裝置(5),所述粉碎篩分裝置(6)位于污泥炭化裝置(5)的一側,所述粉碎篩分裝置(6)與污泥炭化裝置(5)之間安裝有傳輸帶,污泥炭化裝置(5)將炭化的污泥由傳輸帶送入粉碎篩分裝置(6)。
6.根據權利要求5所述的一種附帶深度脫水功能的污泥處理裝置,其特征在于:所述污泥調理模塊(301)包括U型筒體(3014),所述U型筒體(3014)的頂部設置有加料口(3011),所述加料口(3011)的一側設置有加藥口(3012),所述U型筒體(3014)的內壁設置有攪拌軸(3013),所述攪拌軸(3013)包括右側攪拌軸(30131)和左側攪拌軸(30132),所述右側攪拌軸(30131)的一端設置有右側攪拌葉片(30133),所述左側攪拌軸(30132)的一端設置有左側攪拌葉片(30134);所述高壓帶機脫水模塊(302)包括進料口(3021),所述進料口(3021)的底部設置有三軸布料裝置(3022),所述三軸布料裝置(3022)的底部設置有下濾布張緊裝置(30232),所述下濾布張緊裝置(30232)的一側設置有下濾布糾偏裝置(30242),所述下濾布糾偏裝置(30242)的頂部設置有上濾布張緊裝置(30231),所述上濾布張緊裝置(30231)的一側設置有上濾布糾偏裝置(30241),所述上濾布糾偏裝置(30241)遠離上濾布張緊裝置(30231)的一側設置有上濾布清洗裝置(30251),所述下濾布糾偏裝置(30242)遠離下濾布張緊裝置(30232)的一側設置有下濾布清洗裝置(30252),所述上濾布清洗裝置(30251)的底部設置有壓濾輥筒裝置(3026),所述上濾布清洗裝置(30251)的頂部設置有濾布驅動裝置(3027),所述壓濾輥筒裝置(3026)的外壁纏繞設置有上濾布(30281)和下濾布(30282)。
7.根據權利要求5所述的一種附帶深度脫水功能的污泥處理裝置,其特征在于:所述粉碎篩分裝置(6)包括粉碎機構(601)和篩分機構(602),所述粉碎機構(601)的底部與篩分機構(602)相連接,所述粉碎機構(601)包括罐體(60101),所述罐體(60101)的底部與篩分機構(602)相連接,所述罐體(60101)的頂部設置有進料斗(60102),所述罐體(60101)的一側設置有電機(60103),所述電機(60103)的輸出軸設置有動力轉桿(60104),所述動力轉桿(60104)與罐體(60101)內壁相連接,所述轉桿(60104)的一端設置有粉碎轉盤(60105),所述粉碎轉盤(60105)的一側設置有活動轉盤(60107)。
8.根據權利要求7所述的一種附帶深度脫水功能的污泥處理裝置,其特征在于:所述活動轉盤(60107)遠離粉碎轉盤(60105)的一側設置有定位機構(60106),所述罐體(60101)的底部設置有濾網(60108),所述濾網(60108)的內側與粉碎轉盤(60105)相連接。
9.根據權利要求7所述的一種附帶深度脫水功能的污泥處理裝置,其特征在于:所述粉碎轉盤(60105)包括連接套筒(601051),所述連接套筒(601051)的內壁與動力轉桿(60104)相連接,所述連接套筒(601051)的外壁設置有動力轉盤(601052),所述動力轉盤(601052)的一側開設有通孔(601053),所述動力轉盤(601053)的外壁設置有固定凸塊(601054),所述定位機構(60106)包括定位套筒(601061),所述定位套筒(601061)的內壁與動力轉桿(60104)相連接,所述定位套筒(601061)的外壁開設有滑槽(601062),所述定位套筒(601061)的外壁設置有伸縮套筒(601063),所述伸縮套筒(601063)的內壁設置有彈簧(601064),所述活動轉盤(60107)包括限位套筒(601071),所述限位套筒(601071)的內壁通過滑槽(601062)與定位套筒(601061)卡接,所述限位套筒(601071)的外壁設置有擠壓轉盤(601072),所述擠壓轉盤(601072)的外壁設置有擠壓凸塊(601073)。
10.根據權利要求5所述的一種附帶深度脫水功能的污泥處理裝置,其特征在于:所述篩分機構(602)包括箱體(60201),所述箱體(60201)與罐體(60101)相連接,所述箱體(60201)的底部設置有出料斗(60202),所述箱體(60201)的一側設置有分料口(60203),所述箱體(60201)的另一側設置有振篩模組(60204),所述箱體(60201)的內壁設置有分篩網(60205)。
發明內容
本發明的目的在于提供一種附帶深度脫水功能的污泥處理裝置及干化炭化方法,以解決上述背景技術中提出的問題。
為了解決上述技術問題,本發明提供如下技術方案:
一種附帶深度脫水功能的污泥干化炭化方法,該污泥干化炭化方法包括如下步驟:
S1、污水處理;
S2、污泥脫水;
S3、污泥干化;
S4、污泥炭化;
S5、粉碎篩分。
步驟S1包括如下具體步驟:
S101、采用生物法、生物膜法或厭氧生物法對污水進行處理,使污水中沉底出污泥,對污水中的污泥進行沉降,降低污水中污泥的含量,隨后將污水底部的污泥進行集中處理;
步驟S3包括如下具體步驟:
S301、利用高溫低濕空氣與污泥進行直接或者間接熱交換,對步驟S2處理后的污泥進行干化處理,通過污泥干化裝置,對污泥進行干化燃燒,通過燃燒形成高溫低濕空氣,并將其與高壓帶機脫水模塊處理后的污泥在干化爐中進行直接或者間接熱交換,干化后污泥溫度升高含水率降低。
步驟S4包括如下具體步驟:
S401、利用高溫低氧或者無氧氣體與步驟S301干化后污泥在炭化爐中進行直接或者間接傳熱,實現污泥炭化,污泥炭化裝置包含污泥炭化燃燒器、炭化爐、尾氣處理裝置,燃燒器對干化后的污泥進行加熱色號是耐高溫,炭化爐降低污泥燃燒環境的氧氣含量,構成低氧的炭化環境,尾氣處理裝置對污泥炭化產生的有害氣體進行處理。
步驟S5包括如下具體步驟:
S501、將污泥炭化固體產物進行粉碎,并按照不同目數要求進行篩分,對炭化的污泥進行充分粉碎,隨后將炭粉篩分為不同目數,根據炭粉的目數進行回收利用。
步驟S2包括如下具體步驟:
S201、對污水沉淀出的污泥進行脫水,往污泥中添加絮凝劑,將污泥含水率從99%左右降低至80%左右,絮凝劑為聚丙烯酰胺(PAM),對污泥中的水體進行初步脫水,降低后續加工的工作壓力和工作量;
S202、向步驟S201處理后的污泥中添加調理劑和骨架劑,將污泥與調理劑和骨架劑進行均勻混合,通過污泥調理模塊將污泥與調理劑和骨架劑進行均勻混合,實現污泥胞外聚合物(EPS)破壁,釋放胞內水,提高污泥的不可壓縮性;
S203、對步驟S202處理后的污泥進行脫水處理,同時添加炭粉,將污泥含水率從80%左右降低至55%~60%。
步驟S2包括如下具體步驟:
S201、對污水沉淀出的污泥進行脫水,往污泥中添加絮凝劑,將污泥含水率從99%左右降低至80%左右,絮凝劑為聚丙烯酰胺(PAM),對污泥中的水體進行初步脫水;
S202、向步驟S201處理后的污泥中添加調理劑,將污泥與調理劑進行均勻混合;
S203、對步驟S202處理后的污泥進行脫水處理,不添加炭粉,將污泥含水率從80%左右降低至65%~70%。
一種附帶深度脫水功能的污泥處理裝置,包括污水處理裝置、污泥一次脫水裝置、污泥干化裝置和污泥炭化裝置;
所述污泥處理裝置包括污泥深度脫水裝置和粉碎篩分裝置;
所述污泥深度脫水裝置包括污泥調理模塊和高壓帶機脫水模塊,所述污泥調理模塊,所述污泥調理模塊一側與污泥一次脫水裝置出口相連接,所述污泥調理模塊的另一側與高壓帶機脫水模塊進口相連接,所述高壓帶機脫水模塊的出口與污泥干化裝置相連接;
所述污泥一次脫水裝置的一側設置有污水處理裝置,所述污泥一次脫水裝置的另一側設置有污泥深度脫水裝置,所述污泥深度脫水裝置位于污泥干化裝置的一側,所述污泥干化裝置遠離污泥深度脫水裝置的一側設置有污泥炭化裝置,所述粉碎篩分裝置位于污泥炭化裝置的一側,所述粉碎篩分裝置與污泥炭化裝置之間安裝有傳輸帶,污泥炭化裝置將炭化的污泥由傳輸帶送入粉碎篩分裝置。
所述污泥調理模塊包括U型筒體,所述U型筒體的頂部設置有加料口,所述加料口的一側設置有加藥口,所述U型筒體的內壁設置有攪拌軸,所述攪拌軸包括右側攪拌軸和左側攪拌軸,所述右側攪拌軸的一端設置有右側攪拌葉片,所述左側攪拌軸的一端設置有左側攪拌葉片;
所述高壓帶機脫水模塊包括進料口,所述進料口的底部設置有三軸布料裝置,所述三軸布料裝置的底部設置有下濾布張緊裝置,所述下濾布張緊裝置的一側設置有下濾布糾偏裝置,所述下濾布糾偏裝置的頂部設置有上濾布張緊裝置,所述上濾布張緊裝置的一側設置有上濾布糾偏裝置,所述上濾布糾偏裝置遠離上濾布張緊裝置的一側設置有上濾布清洗裝置,所述下濾布糾偏裝置遠離下濾布張緊裝置的一側設置有下濾布清洗裝置,所述上濾布清洗裝置的底部設置有壓濾輥筒裝置,所述上濾布清洗裝置的頂部設置有濾布驅動裝置,所述壓濾輥筒裝置的外壁纏繞設置有上濾布和下濾布;
污泥進入U型筒體,通過驅動裝置驅動攪拌軸轉動,將污泥與調理劑和骨架劑均勻混合,同時將混合后的混合物輸送至出泥口,攪拌軸位于U型筒體內部,攪拌軸與驅動裝置通過聯軸器連接;
所述高壓帶機脫水模塊一方面可實現污泥在濾布寬度方向上的均勻分布,形成濾布-污泥-濾布三明治夾心結構;另一方面通過輥筒的轉動和濾布張力的施加實現對夾在濾布中間的污泥正向和切向的二維壓濾,使污泥含水率從80%左右降低至55%~70%;
污泥均勻布料裝置位于所述污泥進料口下方,采用三軸設計,實現將污泥均勻布置在下濾布的有效寬度上,上下濾布糾偏裝置位于所述上下濾布清洗裝置和上下濾布張緊裝置之間,通過光電信號和氣缸伸出縮回運動實現濾布自動檢測和自動糾偏。
濾布張緊裝置位于污泥進料口之前,確保污泥進入上下濾布并形成“三明治”結構后保持張力,所述上下濾布壓濾輥筒裝置,通過上下或者左右錯開布置,上下濾布與污泥形成的“三明治”穿過所述濾布壓濾輥筒裝置,形成S型布置,并使污泥受到濾布張力轉化而來的正向壓力和切向剪切力,從而使污泥完成脫水減量;所述上下濾布驅動裝置位于所述上下濾布清洗裝置和所述上下濾布壓濾輥筒裝置之間,通過減速電機帶動上下驅動輥軸,帶動上下濾布運動,上下濾布清洗裝置位于所述上下濾布驅動裝置和上下濾布糾偏裝置之間,通過扇形出水的噴嘴排列,實時對上下濾布進行沖洗,保證濾布的潔凈程度,從而保證污泥脫水減量效果。
所述三軸布料裝置由布料、輥軸和電機組成,輥軸的外壁與布料貼合,電機的輸出軸與輥軸的中心轉桿連接,啟動電機帶動輥軸轉動,用于對污泥進行傳送;
所述上濾布張緊裝置和下濾布張緊裝置由濾布、輥軸和液壓缸組成,輥軸的外壁與濾布貼合,輥軸的兩端與液壓缸的輸出端連接,通過伸縮液壓缸調整濾布與輥軸外壁的張緊程度;
所述上濾布糾偏裝置和下濾布糾偏裝置由濾布、傳感器、液壓缸和輥軸組成,濾布纏繞在輥軸的外壁,液壓缸設置在輥軸的兩端,傳感器設置在輥軸的兩端,通過傳感器對濾布在輥軸上轉動的位置進行檢測,在濾布向輥軸一端偏移后,伸縮液壓缸帶動輥軸進行偏轉,調整濾布在輥軸上的位置;
所述上濾布清洗裝置和下濾布清洗裝置由水泵、噴頭和水箱組成,水箱內存儲有水體,水箱的頂部與水泵連通,水泵的一端與噴頭連接,水泵將水箱中的水體由噴頭噴出,通過噴頭對濾布進行沖洗;
所述壓濾輥筒裝置由輥軸和濾布組成,多個輥軸交錯排布,將濾布交錯纏繞在輥軸的外壁,將兩個濾布纏繞在同一輥軸的同一側,使得兩個濾布之間構成夾角,將污泥放入兩濾布之間通過轉動輥軸,將兩濾布之間的污泥進行壓濾;
所述濾布驅動裝置由電機和輥軸組成,電機的輸出軸與輥軸的中心軸連接,通過啟動電機帶動輥軸轉動,為壓濾輥筒裝置提供動力。
所述粉碎篩分裝置包括粉碎機構和篩分機構,所述粉碎機構的底部與篩分機構相連接,所述粉碎機構包括罐體,所述罐體的底部與篩分機構相連接,所述罐體的頂部設置有進料斗,所述罐體的一側設置有電機,所述電機的輸出軸設置有動力轉桿,所述動力轉桿與罐體內壁相連接,所述轉桿的一端設置有粉碎轉盤,所述粉碎轉盤的一側設置有活動轉盤。通過電機帶動動力轉桿轉動,使得動力轉桿帶動粉碎轉盤順著罐體的內壁轉動,粉碎轉盤與罐體的內壁貼合,同時粉碎轉盤關于動力轉桿傾斜設置,在轉動的同時,粉碎轉盤能夠將沉積在罐體底部的炭粉揚起,保證炭化污泥的充分粉碎加工。
所述活動轉盤遠離粉碎轉盤的一側設置有定位機構,所述罐體的底部設置有濾網,所述濾網的內側與粉碎轉盤相連接。通過粉碎轉盤轉動配合一側的活動轉盤,將活動轉盤與活動轉盤之間的炭粉進行加工,活動轉盤同樣關于罐體的內壁傾斜設置,活動轉盤通過定位機構相對罐體靜止,使得粉碎轉盤順著活動轉盤一側環形移動,便于對炭粉的多層級均勻的擠壓粉碎。
所述粉碎轉盤包括連接套筒,所述連接套筒的內壁與動力轉桿相連接,所述連接套筒的外壁設置有動力轉盤,所述動力轉盤的一側開設有通孔,所述動力轉盤的外壁設置有固定凸塊。通過動力轉盤一側的通孔,便于罐體內炭化污泥向動力轉盤兩側流動,便于粉碎篩分裝置對炭化污泥的均勻加工。
所述定位機構包括定位套筒,所述定位套筒的內壁與動力轉桿相連接,所述定位套筒的外壁開設有滑槽,所述定位套筒的外壁設置有伸縮套筒,所述伸縮套筒的內壁設置有彈簧。滑槽設置有若干個,相鄰滑槽的同一端連通,定位套筒的內壁通過卡塊與滑槽卡接,在粉碎轉盤轉動時,由于粉碎轉盤傾斜設置,粉碎轉盤的一側推動活動轉盤順著滑槽滑動,同時壓縮彈簧,同時在粉碎轉盤轉動對活動轉盤產生轉動摩擦力,活動轉盤通過滑槽的同一端連通的槽口小角度轉動,將炭粉推動至濾網上,同時減少炭粉在活動轉盤一側夾縫的殘留。
所述活動轉盤包括限位套筒,所述限位套筒的內壁通過滑槽與定位套筒卡接,所述限位套筒的外壁設置有擠壓轉盤,所述擠壓轉盤的外壁設置有擠壓凸塊。擠壓凸塊與固定凸塊平行設置,粉碎轉盤轉動時,擠壓凸塊與固定凸塊發生擠壓,同時擠壓凸塊與固定凸塊均經過圓角設置,在擠壓凸塊與固定凸塊擠壓過后,對活動轉盤和粉碎轉盤的表面產生振動,減少炭粉的粘黏,提高粉碎篩分裝置的自清理能力。
所述篩分機構包括箱體,所述箱體與罐體相連接,所述箱體的底部設置有出料斗,所述箱體的一側設置有分料口,所述箱體的另一側設置有振篩模組,所述箱體的內壁設置有分篩網。經過濾網的炭粉掉落至分篩網上,分篩網設置為弧形,且分篩網關于水平面傾斜設置,通過振篩模組震動分篩網將分篩網上的炭粉進行篩分,分篩網設置有兩個,關于箱體的內壁上下分布,兩個分篩網的傾斜角度交錯設置,通過分料口對炭粉進行收集,隨后根據不同目數的炭粉進行回收利用。
與現有技術相比,本發明所達到的有益效果是:
1、通過污水處理裝置、污泥一次脫水裝置、污泥深度脫水裝置、污泥干化裝置、污泥炭化裝置和粉碎篩分裝置的設置,降低污泥含水率,提高污泥的熱值,減少后端干化炭化規模,降低投資和運行費用,降低建設過程和運行過程的碳排放水平,能夠有效回用炭化產物,可作為污水處理過程中的碳源,亦可作為高壓帶機脫水過程中的骨架劑和干化炭化過程所需燃料,實現炭粉的內部循環利用,降低碳排放。
2、通過污泥深度脫水裝置的設置,加速了污泥中水分的排出,提高了污泥排水效率,通過將污泥與調理劑和骨架劑進行均勻混合,實現污泥胞外聚合物破壁,釋放胞內水,提高污泥的不可壓縮性,便于本裝置對污泥后續的炭化處理。
3、通過粉碎篩分裝置的設置,提高了對炭化污泥的粉碎效率,節約了工作人員的操作時間,粉碎轉盤轉動對活動轉盤產生轉動摩擦力,活動轉盤通過滑槽的同一端連通的槽口小角度轉動,將罐體底部的炭粉推動至濾網上,同時減少炭粉在活動轉盤一側夾縫的殘留,在擠壓凸塊與固定凸塊擠壓過后,對活動轉盤和粉碎轉盤的表面產生振動,減少炭粉的粘黏,提高本裝置的自清理能力。
(發明人:魏宏斌;胡維杰;曹晶;阮燕霞;生駿;楊文文;張鵬飛;唐秀華;金則陳;劉立文)






