公布日:2024.06.28
申請日:2024.04.25
分類號:C02F1/00(2023.01)I;B01D29/03(2006.01)I;B01D29/64(2006.01)I
摘要
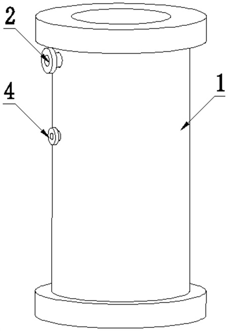
本發明涉及一種無紡布壓縮毛巾生產污水處理裝置,包括:處理套筒,其為圓柱形空心結構;混合模塊,其安裝在處理套筒中部上方,混合模塊用于對化學試劑與生產污水進行攪拌混合;過濾模塊,其安裝在處理套筒中部下方,過濾模塊用于對混合完畢的污水中的雜質進行過濾;清理模塊,其安裝在處理套筒中部,清理模塊用于對過濾模塊表面的雜質進行清理。本發明可以實現對無紡布壓縮毛巾生產過程中產生的生產污水中的有機物雜質進行連續清除處理的功能,同時對過濾完雜質的濾網表面進行充分掃刷清理。

權利要求書
1.一種無紡布壓縮毛巾生產污水處理裝置,其特征在于,包括:處理套筒(1),其為圓柱形空心結構;混合模塊(2),其安裝在處理套筒(1)中部上方,混合模塊(2)用于對化學試劑與生產污水進行攪拌混合;過濾模塊(3),其安裝在處理套筒(1)中部下方,過濾模塊(3)用于對混合完畢的污水中的雜質進行過濾;清理模塊(4),其安裝在處理套筒(1)中部,清理模塊(4)用于對過濾模塊(3)表面的雜質進行清理。
2.根據權利要求1所述的一種無紡布壓縮毛巾生產污水處理裝置,其特征在于,所述混合模塊(2)包括進液管道(21)、儲水架(22)、驅動電機(23)和攪拌架(24),所述處理套筒(1)中部上方安裝有儲水架(22),儲水架(22)內部為空心結構,儲水架(22)內部下端設置有圓形通槽,儲水架(22)與處理套筒(1)之間安裝有進液管道(21),進液管道(21)與儲水架(22)內部相連通,儲水架(22)中部通過軸承安裝有攪拌架(24),處理套筒(1)側壁內安裝有驅動電機(23),驅動電機(23)輸出軸與攪拌架(24)端部相連接。
3.根據權利要求1所述的一種無紡布壓縮毛巾生產污水處理裝置,其特征在于,所述過濾模塊(3)包括螺紋桿(31)、滑動桿(32)、滑動架(33)和過濾單元(34),所述處理套筒(1)中部下方均勻設置有空槽,空槽內均勻安裝有螺紋桿(31)和滑動桿(32),處理套筒(1)內安裝有電機,電機輸出軸與螺紋桿(31)相連接,滑動桿(32)上滑動設置有滑動架(33),滑動架(33)為環形結構,滑動架(33)與螺紋桿(31)之間通過螺紋配合的方式相連接,滑動架(33)上均勻設置有過濾槽,過濾槽與清理槽相對應設置,過濾槽內安裝有過濾單元(34)。
4.根據權利要求3所述的一種無紡布壓縮毛巾生產污水處理裝置,其特征在于,所述過濾單元(34)包括過濾架(341)、滑塊(342)、卡接架(343)、復位彈簧(344)和擠壓架(345),所述過濾槽中部滑動設置有過濾架(341),過濾架(341)中部安裝有濾網,過濾架(341)上對稱安裝有滑塊(342),滑動架(33)上均勻設置有滑槽,滑槽內滑動設置有卡接架(343),卡接架(343)截面為梯形結構,卡接架(343)外端部與滑塊(342)相配合,卡接架(343)上對稱安裝有滑動塊,滑動塊與滑槽內壁之間安裝有復位彈簧(344),清理模塊(4)下端安裝有擠壓架(345),擠壓架(345)內部為空心結構,擠壓架(345)與卡接架(343)內端部相配合。
5.根據權利要求1所述的一種無紡布壓縮毛巾生產污水處理裝置,其特征在于,所述清理模塊(4)包括安裝架(41)、固定架(42)、清理單元(43)、排液管道(44)、隔板架(45)和收集單元(46),所述處理套筒(1)中部安裝有安裝架(41),安裝架(41)中部安裝有固定架(42),固定架(42)內部為空心結構,儲水架(22)、安裝架(41)與固定架(42)之間安裝有進液管道(21),進液管道(21)上端安裝有閥門開關,閥門開關與過濾模塊(3)電連接,固定架(42)中部上方安裝有清理單元(43),進液管道(21)外端安裝有隔板架(45),隔板架(45)外端安裝有收集單元(46),清理單元(43)、隔板架(45)與收集單元(46)之間相配合。
6.根據權利要求5所述的一種無紡布壓縮毛巾生產污水處理裝置,其特征在于,所述清理單元(43)包括伸縮氣缸(431)、環形架(432)、轉動架(433)、清理架(434)、清理毛刷(435)和電動轉盤(436),所述固定架(42)內壁上對稱安裝有伸縮氣缸(431),伸縮氣缸(431)端部安裝有環形架(432),環形架(432)中部內側安裝有電動轉盤(436),環形架(432)中部外側安裝有轉動架(433),轉動架(433)下端均勻安裝有清理架(434),清理架(434)與環形架(432)相連接,清理架(434)下端均勻安裝有清理毛刷(435)。
7.根據權利要求5所述的一種無紡布壓縮毛巾生產污水處理裝置,其特征在于,所述隔板架(45)上均勻設置有清理槽,清理槽與清理架(434)相配合,相鄰的清理槽之間設置有安裝槽。
8.根據權利要求7所述的一種無紡布壓縮毛巾生產污水處理裝置,其特征在于,所述安裝槽與收集單元(46)相連通,安裝槽為由內而外的傾斜結構,安裝槽內安裝有清理板,清理板呈梳齒狀結構。
9.根據權利要求5所述的一種無紡布壓縮毛巾生產污水處理裝置,其特征在于,所述收集單元(46)包括連接架(461)和收集管道(462),所述隔板架(45)外端安裝有連接架(461),連接架(461)為環形空心結構,處理套筒(1)與連接架(461)之間安裝有收集管道(462)。
發明內容
為了能夠實現對無紡布壓縮毛巾生產過程中產生的生產污水中的有機物雜質進行連續清除處理的功能,同時對過濾完雜質的濾網表面進行充分掃刷清理。
本申請提供的一種無紡布壓縮毛巾生產污水處理裝置采用如下的技術方案:
一種無紡布壓縮毛巾生產污水處理裝置,包括:處理套筒,其為圓柱形空心結構;混合模塊,其安裝在處理套筒中部上方,混合模塊用于對化學試劑與生產污水進行攪拌混合;過濾模塊,其安裝在處理套筒中部下方,過濾模塊用于對混合完畢的污水中的雜質進行過濾;清理模塊,其安裝在處理套筒中部,清理模塊用于對過濾模塊表面的雜質進行清理。
通過采用上述技術方案,將無紡布壓縮毛巾的生產污水通入混合模塊內,隨后將化學試劑通入混合模塊內,混合模塊對生產污水與化學試劑進行充分攪拌混合,隨后對生產污水進行靜置一段時間,靜置完畢后的生產污水進入處理套筒中部,此時生產污水中的有機物與化學試劑反應后生成顆粒雜質,利于對有機物雜質的去除,同時過濾模塊向上運動對生產污水中的雜質進行過濾,當過濾模塊運動到清理模塊下端時,生產污水過濾完畢,清理模塊對過濾模塊上端進行掃刷清理,同時對清理完畢的雜質進行收集。
優選的,所述混合模塊包括進液管道、儲水架、驅動電機和攪拌架,所述處理套筒中部上方安裝有儲水架,儲水架內部為空心結構,儲水架內部下端設置有圓形通槽,儲水架與處理套筒之間安裝有進液管道,進液管道與儲水架內部相連通,儲水架中部通過軸承安裝有攪拌架,處理套筒側壁內安裝有驅動電機,驅動電機輸出軸與攪拌架端部相連接。
通過采用上述技術方案,將生產污水通入儲水架內后,將化學試劑經進液管道通入儲水架內,啟動驅動電機,攪拌架對儲水架內的生產污水與化學試劑進行充分攪拌混合,隨后對混合完畢的生產污水進行靜置,靜置完畢后,生產污水中的有機物雜質會形成顆粒雜質,隨后過濾模塊向上運動,此時清理模塊上端處于打開狀態,儲水架中的生產污水進入處理套筒內;儲水架內的生產污水下料完畢后,質會形成顆粒雜質,隨后過濾模塊向上運動,此時清理模塊上端處于關閉狀態,隨后繼續向儲水架內通入生產污水與化學試劑,且生產污水與化學試劑混合靜置的時間等于過濾模塊對生產污水的過濾時間加上清理模塊對過濾模塊的清理時間,從而保證對生產污水進行連續過濾,提高生產污水處理的效率。
優選的,所述過濾模塊包括螺紋桿、滑動桿、滑動架和過濾單元,所述處理套筒中部下方均勻設置有空槽,空槽內均勻安裝有螺紋桿和滑動桿,處理套筒內安裝有電機,電機輸出軸與螺紋桿相連接,滑動桿上滑動設置有滑動架,滑動架為環形結構,滑動架與螺紋桿之間通過螺紋配合的方式相連接,滑動架上均勻設置有過濾槽,過濾槽與清理槽相對應設置,過濾槽內安裝有過濾單元。
通過采用上述技術方案,當生產污水與化學試劑混合靜置完畢后,啟動電機,電機帶動螺紋桿轉動,此時儲水架內的生產污水從清理模塊中部進入處理套筒中部下方,同時螺紋桿帶動滑動架向上運動,滑動架滑動在滑動桿上,防止滑動架在上下運動的過程中出現晃動的現象,生產污水經過濾單元過濾后向下排出,隨后在處理套筒下端對過濾完畢的生產污水進行收集;當滑動架運動到清理模塊下端時,過濾單元繼續向上運動,利于清理模塊對過濾模塊上端進行清理,清理完畢后,過濾模塊向下運動,螺紋桿轉動帶動滑動架運動到處理套筒中部下方。
優選的,所述過濾單元包括過濾架、滑塊、卡接架、復位彈簧和擠壓架,所述過濾槽中部滑動設置有過濾架,過濾架中部安裝有濾網,過濾架上對稱安裝有滑塊,滑動架上均勻設置有滑槽,滑槽內滑動設置有卡接架,卡接架截面為梯形結構,卡接架外端部與滑塊相配合,卡接架上對稱安裝有滑動塊,滑動塊與滑槽內壁之間安裝有復位彈簧,清理模塊下端安裝有擠壓架,擠壓架內部為空心結構,擠壓架與卡接架內端部相配合。
通過采用上述技術方案,當滑動架向上運動對生產污水進行過濾時,生產污水中的雜質停留在濾網上;當生產污水過濾完畢后,滑動架運動到清理模塊下端,此時擠壓架對卡接架內端部進行擠壓,卡接架在滑槽內向外滑動,使得滑塊沿卡接架外端部斜面向上滑動,從而帶動過濾架向上運動,當過濾架運動到清理模塊中部時,清理模塊對濾網上的雜質進行清理;當過濾架清理完畢后,滑動架向下運動,卡接架在滑槽內向內滑動,復位彈簧復位,從而帶動過濾架向下運動至過濾槽內。
優選的,所述清理模塊包括安裝架、固定架、清理單元、排液管道、隔板架和收集單元,所述處理套筒中部安裝有安裝架,安裝架中部安裝有固定架,固定架內部為空心結構,儲水架、安裝架與固定架之間安裝有進液管道,進液管道上端安裝有閥門開關,閥門開關與過濾模塊電連接,固定架中部上方安裝有清理單元,進液管道外端安裝有隔板架,隔板架外端安裝有收集單元,清理單元、隔板架與收集單元之間相配合。
通過采用上述技術方案,混合模塊內混合靜置完畢的生產污水經排液管道向下運動;當過濾架對生產污水過濾完畢時,滑動架帶動過濾架向上運動,當過濾架運動到隔板架中部,同時清理單元上端部向上運動,當清理單元下端面、隔板架上端面與過濾架上端面平齊時,清理單元開始轉動,從而對過濾架上的雜質進行清掃,防止雜質粘附在濾網上,清掃完畢的雜質收集在收集單元內。
優選的,所述清理單元包括伸縮氣缸、環形架、轉動架、清理架、清理毛刷和電動轉盤,所述固定架內壁上對稱安裝有伸縮氣缸,伸縮氣缸端部安裝有環形架,環形架中部內側安裝有電動轉盤,環形架中部外側安裝有轉動架,轉動架下端均勻安裝有清理架,清理架與環形架相連接,清理架下端均勻安裝有清理毛刷。
通過采用上述技術方案,對過濾模塊表面進行清理時,當滑動架帶動過濾架運動到隔板架下端,過濾架繼續向上運動,此時伸縮氣缸帶動環形架向上運動,直至過濾架上端面、隔板架上端面與清理毛刷下端面平齊,隨后電動轉盤帶動轉動架與清理架轉動,使得清理毛刷對濾網表面進行掃刷,掃刷后的雜質進入收集單元內。
優選的,所述隔板架上均勻設置有清理槽,清理槽與清理架相配合,相鄰的清理槽之間設置有安裝槽。
通過采用上述技術方案,當滑動架帶動過濾架運動到隔板架下端時,過濾架繼續向上運動進入到清理槽內,使得清理毛刷下端面、隔板架上端面與過濾架上端面平齊,利于清理架對過濾架表面的雜質進行充分掃刷清理;當清理架對過濾架表面進行轉動掃刷時,掃刷后的雜質被帶入到安裝槽中,隨后收集單元對安裝槽內的雜質進行準確充分收集。
優選的,所述安裝槽與收集單元相連通,安裝槽為由內而外的傾斜結構,安裝槽內安裝有清理板,清理板呈梳齒狀結構。
通過采用上述技術方案,安裝槽中部內端均勻安裝有噴水架,當電動轉盤帶動清理架轉動時,清理架下端的清理毛刷對過濾架上的雜質進行充分掃刷,掃刷后的雜質進入安裝槽內,當清理架在清理板上端經過時,清理板對清理毛刷上粘附的雜質進行刮掃,使得清理毛刷表面始終保持干凈的狀態,同時噴水架向外噴水,使得安裝槽內壁上粘附的雜質進入收集單元內。
優選的,所述收集單元包括連接架和收集管道,所述隔板架外端安裝有連接架,連接架為環形空心結構,處理套筒與連接架之間安裝有收集管道。
通過采用上述技術方案,當過濾架上的雜質充分進入安裝槽內后,噴水架噴水將安裝槽內壁上粘附的雜質充分準確沖入連接架內,隨后經收集管道對連接架內的雜質進行吸附收集。
綜上所述,本申請包括以下至少一種有益技術效果:
1.本發明設置了過濾單元,當滑動架向上運動對生產污水進行過濾時,生產污水中的雜質停留在濾網上;當生產污水過濾完畢后,滑動架運動到清理模塊下端,此時擠壓架對卡接架內端部進行擠壓,卡接架在滑槽內向外滑動,使得滑塊沿卡接架外端部斜面向上滑動,從而帶動過濾架向上運動,當過濾架運動到清理模塊中部時,清理模塊對濾網上的雜質進行清理;當過濾架清理完畢后,滑動架向下運動,卡接架在滑槽內向內滑動,復位彈簧復位,從而帶動過濾架向下運動至過濾槽內。
2.本發明設置了清理單元,對過濾模塊表面進行清理時,當滑動架帶動過濾架運動到隔板架下端,過濾架繼續向上運動,此時伸縮氣缸帶動環形架向上運動,直至過濾架上端面、隔板架上端面與清理毛刷下端面平齊,隨后電動轉盤帶動轉動架與清理架轉動,使得清理毛刷對濾網表面進行掃刷,掃刷后的雜質進入收集單元內。
3.本發明設置了隔板架,當滑動架帶動過濾架運動到隔板架下端時,過濾架繼續向上運動進入到清理槽內,使得清理毛刷下端面、隔板架上端面與過濾架上端面平齊,利于清理架對過濾架表面的雜質進行充分掃刷清理;當清理架對過濾架表面進行轉動掃刷時,掃刷后的雜質被帶入到安裝槽中,隨后收集單元對安裝槽內的雜質進行準確充分收集;當過濾架對生產污水進行過濾時,清理架將清理槽堵住,防止生產污水進入清理模塊中部。
(發明人:田雨;王笑甜;劉偉)






