公布日:2024.06.28
申請日:2024.05.28
分類號:C02F1/00(2023.01)I;C02F1/52(2023.01)I;C02F3/34(2023.01)I;E02B15/10(2006.01)I;B01F27/71(2022.01)I;B01F33/503(2022.01)I
摘要
本發明涉及污水處理技術領域,尤其是一種河道污水生態處理裝置,包括主體架,主體架的一端內側設有浮物阻攔組件,浮物阻攔組件用于阻攔水面上漂浮的雜物,主體架的頂部設有撒藥組件,撒藥組件用于將粉末狀藥劑撒入水中,主體架的另一端內側設有攪勻組件,攪勻組件用于將河道污水和藥劑混合攪勻,攪勻組件包括螺旋混合組件、下壓混合組件,螺旋混合組件用于驅動撒藥組件進行撒藥,浮物阻攔組件用于調節下壓混合組件的所處高度。本發明,通過設置主體架、浮物阻攔組件、撒藥組件、攪勻組件、螺旋混合組件、下壓混合組件,使得本發明具有污水生態處理、自動撒藥、自動攪勻、浮物阻攔、自行調節、自行驅動的功能。

權利要求書
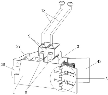
1.一種河道污水生態處理裝置,包括主體架(1),其特征在于,所述主體架(1)的一端內側設有浮物阻攔組件,所述浮物阻攔組件用于阻攔水面上漂浮的雜物,所述主體架(1)的頂部設有撒藥組件,所述撒藥組件用于將粉末狀藥劑撒入水中,所述主體架(1)的另一端內側設有攪勻組件,所述攪勻組件用于將河道污水和藥劑混合攪勻,所述攪勻組件包括螺旋混合組件、下壓混合組件,所述螺旋混合組件用于驅動撒藥組件進行撒藥,所述浮物阻攔組件用于調節下壓混合組件的所處高度,所述主體架(1)靠近浮物阻攔組件的一端設有引流組件;所述浮物阻攔組件包括兩個升降桿(2),兩個所述升降桿(2)分別滑動在主體架(1)內相對應的兩側上,兩個所述升降桿(2)之間固定設有擋架(5),所述擋架(5)上設有若干安裝孔,所述安裝孔的內側固定設有擋網(6),所述升降桿(2)一側上固定設有漂浮塊(7);所述撒藥組件包括兩個撒料軸(8),所述主體架(1)相遠離的兩側上設有兩個軸孔,所述撒料軸(8)轉動在軸孔的內側,所述撒料軸(8)的上方設有料倉(9),所述料倉(9)的內側固定設有兩個密封條(10),所述料倉(9)、密封條(10)滑動在撒料軸(8)的外周上,所述撒料軸(8)的外周上設有若干容納槽(11),兩個所述撒料軸(8)之間通過鏈條和鏈輪傳動連接,所述料倉(9)相遠離的兩側固定設有支撐架(12),所述支撐架(12)固定在主體架(1)的上側,所述料倉(9)一側設有振打組件,所述料倉(9)的內側設有移動框(15),所述移動框(15)相遠離的兩側固定設有H型塊(16),所述料倉(9)相遠離的兩側上設有滑動孔,所述H型塊(16)滑動在滑動孔的內側,所述移動框(15)的內側固定設有加料斗(17),所述加料斗(17)的外周上轉動設有加料管(18),所述加料管(18)的頂部外周上固定設有漏斗(19);所述螺旋混合組件包括混合管(26),所述混合管(26)的一端固定設有進水斗(27),所述進水斗(27)固定在主體架(1)的內側,所述混合管(26)的外周上固定設有若干支撐桿(28),所述支撐桿(28)一端固定在主體架(1)的內壁上,所述混合管(26)的內側設有混合軸(29),所述混合軸(29)的外周上固定設有螺旋槳(30),所述混合軸(29)的外周上轉動設有連接座(31)、傳動盒(32),所述連接座(31)一端固定在混合管(26)的內壁上,所述混合管(26)的外周上設有貫穿孔,所述傳動盒(32)固定在貫穿孔的內側,所述傳動盒(32)固定在混合管(26)的外周上,所述傳動盒(32)的上側固定設有蓋板(33),所述蓋板(33)的下側轉動設有豎立軸(34),所述豎立軸(34)的外周上轉動設有若干支撐座(35),所述支撐座(35)固定在傳動盒(32)的內壁上,所述豎立軸(34)的外周與混合軸(29)的外周之間通過錐齒輪傳動連接,所述豎立軸(34)的外周上固定設有蝸桿(36),所述傳動盒(32)的內側設有蝸輪(37),所述蝸輪(37)的內側固定設有連接軸(38),所述蝸桿(36)與蝸輪(37)之間通過嚙合傳動連接,所述傳動盒(32)相遠離的兩側上設有通孔,所述主體架(1)的一側設有連接孔,所述連接軸(38)轉動在通孔和連接孔的內側,所述連接軸(38)的外周與一個撒料軸(8)的外周之間通過鏈條和鏈輪傳動連接;所述下壓混合組件包括兩個T型軸盤(40),所述升降桿(2)的一側設有圓孔,所述T型軸盤(40)轉動在圓孔的內側,兩個所述T型軸盤(40)之間固定設有若干旋轉壓板(41)。
2.根據權利要求1所述的一種河道污水生態處理裝置,其特征在于,所述振打組件包括振打棘輪(20),所述振打棘輪(20)固定在撒料軸(8)的外周上,所述料倉(9)的外壁上固定設有振打套(21),所述振打套(21)的內側滑動設有導向桿(22),所述導向桿(22)的底部轉動設有轉動輪(23),所述轉動輪(23)能夠與振打棘輪(20)相接觸,所述導向桿(22)的上端固定設有振打塊(24),所述振打塊(24)能夠與振打套(21)相接觸,所述振打塊(24)的上側與一個支撐架(12)的一側之間固定設有彈簧(25)。
3.根據權利要求1所述的一種河道污水生態處理裝置,其特征在于,所述主體架(1)的一側外壁上固定設有防護罩(39)。
4.根據權利要求1所述的一種河道污水生態處理裝置,其特征在于,所述引流組件包括兩個引流板(42),所述引流板(42)的一側固定設有若干轉動座(43),所述主體架(1)一端設有若干安裝槽,所述轉動座(43)轉動在安裝槽的內側,所述引流板(42)的一側設有兩個滑槽,所述滑槽的內側滑動設有滑塊(44),所述滑塊(44)的一側轉動設有定位架(45),所述定位架(45)另一端轉動在主體架(1)的外壁上,所述滑塊(44)與引流板(42)之間通過螺栓可拆卸連接。
發明內容
本發明的目的是為了解決目前在對河道中的污水進行生態處理時,通常是由人工將粉末顆粒狀的藥劑撒入污水中,這種撒藥方式需要耗費大量人力,而且人工將藥劑撒入污水中后,會出現上方污水中的藥劑濃度高于下方污水中的藥劑濃度,然后則需要較長的時間才能使得污水中的藥劑自行混合均勻,無法快速使得污水和藥劑混合均勻,從而會出現河道污水處理不均勻、污水處理效果不佳的情況的缺點,而提出的一種河道污水生態處理裝置。
為了實現上述目的,本發明采用了如下技術方案:
設計一種河道污水生態處理裝置,包括主體架,所述主體架的一端內側設有浮物阻攔組件,所述浮物阻攔組件用于阻攔水面上漂浮的雜物,所述主體架的頂部設有撒藥組件,所述撒藥組件用于將粉末狀藥劑撒入水中,所述主體架的另一端內側設有攪勻組件,所述攪勻組件用于將河道污水和藥劑混合攪勻,所述攪勻組件包括螺旋混合組件、下壓混合組件,所述螺旋混合組件用于驅動撒藥組件進行撒藥,所述浮物阻攔組件用于調節下壓混合組件的所處高度,所述主體架靠近浮物阻攔組件的一端設有引流組件。
優選的,所述浮物阻攔組件包括兩個升降桿,兩個所述升降桿分別滑動在主體架內相對應的兩側上,兩個所述升降桿之間固定設有擋架,所述擋架上設有若干安裝孔,所述安裝孔的內側固定設有擋網,所述升降桿一側上固定設有漂浮塊。
優選的,所述撒藥組件包括兩個撒料軸,所述主體架相遠離的兩側上設有兩個軸孔,所述撒料軸轉動在軸孔的內側,所述撒料軸的上方設有料倉,所述料倉的內側固定設有兩個密封條,所述料倉、密封條滑動在撒料軸的外周上,所述撒料軸的外周上設有若干容納槽,兩個所述撒料軸之間通過鏈條和鏈輪傳動連接,所述料倉相遠離的兩側固定設有支撐架,所述支撐架固定在主體架的上側,所述料倉一側設有振打組件,所述料倉的內側設有移動框,所述移動框相遠離的兩側固定設有H型塊,所述料倉相遠離的兩側上設有滑動孔,所述H型塊滑動在滑動孔的內側,所述移動框的內側固定設有加料斗,所述加料斗的外周上轉動設有加料管,所述加料管的頂部外周上固定設有漏斗。
優選的,所述振打組件包括振打棘輪,所述振打棘輪固定在撒料軸的外周上,所述料倉的外壁上固定設有振打套,所述振打套的內側滑動設有導向桿,所述導向桿的底部轉動設有轉動輪,所述轉動輪能夠與振打棘輪相接觸,所述導向桿的上端固定設有振打塊,所述振打塊能夠與振打套相接觸,所述振打塊的上側與一個支撐架的一側之間固定設有彈簧。
優選的,所述螺旋混合組件包括混合管,所述混合管的一端固定設有進水斗,所述進水斗固定在主體架的內側,所述混合管的外周上固定設有若干支撐桿,所述支撐桿一端固定在主體架的內壁上,所述混合管的內側設有混合軸,所述混合軸的外周上固定設有螺旋槳,所述混合軸的外周上轉動設有連接座、傳動盒,所述連接座一端固定在混合管的內壁上,所述混合管的外周上設有貫穿孔,所述傳動盒固定在貫穿孔的內側,所述傳動盒固定在混合管的外周上,所述傳動盒的上側固定設有蓋板,所述蓋板的下側轉動設有豎立軸,所述豎立軸的外周上轉動設有若干支撐座,所述支撐座固定在傳動盒的內壁上,所述豎立軸的外周與混合軸的外周之間通過錐齒輪傳動連接,所述豎立軸的外周上固定設有蝸桿,所述傳動盒的內側設有蝸輪,所述蝸輪的內側固定設有連接軸,所述蝸桿與蝸輪之間通過嚙合傳動連接,所述傳動盒相遠離的兩側上設有通孔,所述主體架的一側設有連接孔,所述連接軸轉動在通孔和連接孔的內側,所述連接軸的外周與一個撒料軸的外周之間通過鏈條和鏈輪傳動連接。
優選的,所述下壓混合組件包括兩個T型軸盤,所述升降桿的一側設有圓孔,所述T型軸盤轉動在圓孔的內側,兩個所述T型軸盤之間固定設有若干旋轉壓板。
優選的,所述主體架的一側外壁上固定設有防護罩。
優選的,所述引流組件包括兩個引流板,所述引流板的一側固定設有若干轉動座,所述主體架一端設有若干安裝槽,所述轉動座轉動在安裝槽的內側,所述引流板的一側設有兩個滑槽,所述滑槽的內側滑動設有滑塊,所述滑塊的一側轉動設有定位架,所述定位架另一端轉動在主體架的外壁上,所述滑塊與引流板之間通過螺栓可拆卸連接。
本發明提出的一種河道污水生態處理裝置,有益效果在于:
1、通過設置主體架、撒藥組件、螺旋混合組件,使得本發明具有污水生態處理、自動撒藥的功能,可以自動將粉末顆粒狀藥劑連續均勻地撒入水中,不需要人工撒藥,可節省人力。
2、通過設置主體架、攪勻組件、螺旋混合組件、下壓混合組件,使得本發明具有自動攪勻、均勻混合的功能,可以將落入水中的藥劑和污水混合均勻,從而可以保證河道內的藥劑濃度均勻,可使得河道污水處理均勻,具有良好的污水處理效果。
3、通過設置主體架、浮物阻攔組件、引流組件,使得本發明具有浮物阻攔、引流的,可以阻攔住水面上的一些漂浮物,從而可以防止藥劑落在漂浮物上,還可以增加主體架內水的流量。
4、通過設置主體架、浮物阻攔組件、撒藥組件、螺旋混合組件、下壓混合組件,使得本發明具有自行調節、自行驅動的功能,浮物阻攔組件可以自行調節下壓混合組件的所處高度,從而可以保證下壓混合組件不會因為被水淹沒而失去作用,螺旋混合組件可以驅動撒藥組件自動撒藥,從而不需要消耗能源,綠色節能。
(發明人:肖金;翟巧鳳;宗芮;史乃迎;杜昌宇;郭家龍;傅成民;張光玉)






