公布日:2024.06.28
申請日:2024.05.10
分類號:C02F1/52(2023.01)I;C02F1/00(2023.01)I;C02F11/13(2019.01)I;B02C18/14(2006.01)I;B02C18/00(2006.01)I
摘要
本發明公開了一種智能污水處理一體化設備,屬于污水處理技術領域,包括:機體,所述機體內部從上到下依次開設有上驅動腔和底端傾斜的處理腔,上驅動腔頂端為開口結構設置以連通外界與上驅動腔,處理腔頂端為開口結構設置以連通上驅動腔與處理腔,所述上驅動腔內部設置有絮凝筒體,絮凝筒體頂端與上驅動腔開口間通過軸承連接,且底端延伸至處理腔內且與處理腔開口間通過軸承連接;本發明設置過濾網自清潔結構,能夠在污水處理完成后自動對過濾網進行清潔,省去人為清潔步驟,及污水處理和絮團自清潔為一體,提高設備智能化程度,同時能夠減輕工作人員的工作強度。

權利要求書
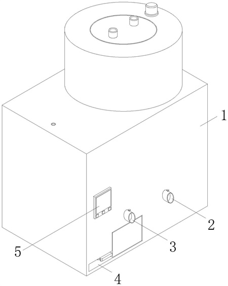
1.一種智能污水處理一體化設備,其特征在于,包括:機體(1),所述機體(1)內部從上到下依次開設有上驅動腔(17)和底端傾斜的處理腔(11),上驅動腔(17)頂端為開口結構設置以連通外界與上驅動腔(17),處理腔(11)頂端為開口結構設置以連通上驅動腔(17)與處理腔(11),所述上驅動腔(17)內部設置有絮凝筒體(6),絮凝筒體(6)頂端與上驅動腔(17)開口間通過軸承連接,且底端延伸至處理腔(11)內且與處理腔(11)開口間通過軸承連接,所述絮凝筒體(6)頂端對稱固接有連通絮凝筒體(6)的上帶閥門進污水管(18)和上帶閥門進絮凝劑管(19),所述絮凝筒體(6)底端固接有上帶閥門排水管(7),所述處理腔(11)內部位于上帶閥門排水管(7)下方從上到下依次設置有刮板(8)和固接有過濾網(9),所述機體(1)內部從靠近到遠離處理腔(11)側分別開設有第一連通口(10)和底端傾斜的烘干腔(16),第一連通口(10)頂端高于刮板(8),且底端與過濾網(9)頂端平齊,所述第一連通口(10)內部設置有密封門(20),所述烘干腔(16)內部從上到下依次設置有抵接塊(21)和平行設置的多個粉碎軸(12),所述粉碎軸(12)外側壁等間距固接有多個粉碎刀片(13),所述機體(1)內部位于烘干腔(16)下方開設有下驅動腔(4),所述下驅動腔(4)內部設置有加熱箱(15),所述加熱箱(15)內部等間距固接有多個電加熱管(14),所述機體(1)側壁對應處理腔(11)傾斜底端固接有下帶閥門排水管(2),所述機體(1)側壁對應烘干腔(16)傾斜底端固接有帶閥門排干化污泥粉末管(3),所述機體(1)操作端外側壁固接有可編程控制器(5);第一轉動驅動機構,驅動絮凝筒體(6)轉動,以混合絮凝筒體(6)內的污水和絮凝劑,使絮凝劑與污水充分接觸,使污水內的微小懸浮顆粒聚集形成較大絮團,方便分離;第一移動驅動機構,驅動刮板(8)移動,刮除過濾網(9)上過濾的絮團,通過第一連通口(10)排至烘干腔(16)內,實現過濾網(9)自動清潔,同時刮板(8)可復位;活動機構,使密封門(20)具有活動功能,能夠隨刮板(8)移動打開第一連通口(10),同時能夠隨刮板(8)復位自動復位;升降驅動機構,驅動抵接塊(21)升降,不影響密封門(20)需要活動時的活動功能,同時對不需要活動時的密封門(20)進行限位,避免密封門(20)活動;第二轉動驅動機構,驅動多個粉碎軸(12)同時轉動,以帶動多個粉碎刀片(13)轉動,烘干時充當攪拌結構加速烘干,烘干后充當粉碎結構粉碎干化污泥,使其形成干化污泥粉末,以便進行回收利用處理;第二移動驅動機構,驅動加熱箱(15)移動,方便電加熱管(14)進行維護或檢修;上帶閥門進污水管(18)、上帶閥門進絮凝劑管(19)、上帶閥門排水管(7)、下帶閥門排水管(2)和帶閥門排干化污泥粉末管(3)的閥門均為電動閥門,上帶閥門進污水管(18)、上帶閥門進絮凝劑管(19)、上帶閥門排水管(7)、下帶閥門排水管(2)和帶閥門排干化污泥粉末管(3)閥門、電加熱管(14)、第一轉動驅動機構、第一移動驅動機構和第二移動驅動機構與可編程控制器(5)電連接。
2.根據權利要求1所述的一種智能污水處理一體化設備,其特征在于:所述第一轉動驅動機構包括固接在機體(1)頂端的電機(101)、設置在上驅動腔(17)內部的第一驅動軸(103)和固定套接在絮凝筒體(6)外側壁上的外齒環(104),第一驅動軸(103)頂端通過聯軸器與電機(101)輸出端連接,第一驅動軸(103)底端通過軸承與機體(1)內壁連接,所述第一驅動軸(103)上固定套接有與外齒環(104)嚙合連接的第一齒輪(102),電機(101)與可編程控制器(5)電連接。
3.根據權利要求2所述的一種智能污水處理一體化設備,其特征在于:所述第一移動驅動機構包括開設在機體(1)內部位于第一驅動軸(103)下方的第一側驅動腔(201)、固接在處理腔(11)內部位于上帶閥門排水管(7)下方的擋架(204)以及設置在擋架(204)內部的第一螺桿(205),第一驅動軸(103)底端延伸至第一側驅動腔(201)內,所述第一側驅動腔(201)內部位于第一驅動軸(103)下方固接有固定架(210),所述固定架(210)內部通過軸承連接有第二驅動軸(209),所述第二驅動軸(209)頂端延伸至固定架(210)上方并與第一驅動軸(103)底端裝配有第一活動連接結構,所述第二驅動軸(209)底端延伸至固定架(210)下方并固定套接有第一錐形輪(202),擋架(204)頂端為V型結構設置,所述第一螺桿(205)一端貫穿機體(1)延伸至第一側驅動腔(201)并固定套接有與第一錐形輪(202)嚙合連接的第二錐形輪(203),第一螺桿(205)通過軸承與機體(1)貫穿段連接,第一螺桿(205)另一端穿過第一連通口(10)延伸至烘干腔(16)內并通過軸承與機體(1)內壁連接,刮板(8)通過傳動螺母傳動連接在第一螺桿(205)上,第一活動連接機構與可編程控制器(5)電連接。
4.根據權利要求3所述的一種智能污水處理一體化設備,其特征在于:所述第一活動連接機構包括固接在第一驅動軸(103)底端的安裝座(206)以及開設在第二驅動軸(209)頂端的插接槽(211),所述安裝座(206)內部固接有電缸(207),所述電缸(207)輸出端延伸至安裝座(206)下方固接有與插接槽(211)配合插接的插接軸(208),電缸(207)與可編程控制器(5)電連接。
5.根據權利要求3所述的一種智能污水處理一體化設備,其特征在于:所述活動機構包括密封門(20)通過開孔套接方式活動連接在第一螺桿(205)上以及彈性連接在第一螺桿(205)外位于密封門(20)靠近烘干腔(16)側壁與烘干腔(16)遠離密封門(20)側壁間的連接彈簧(301)。
6.根據權利要求3所述的一種智能污水處理一體化設備,其特征在于:所述升降驅動機構包括開設在機體(1)內部從靠近到遠離烘干腔(16)側的與烘干腔(16)連通的第二連通口(404)和與第二連通口(404)連通的第二側驅動腔(401)、通過軸承連接在烘干腔(16)頂端的第二螺桿(409)以及開設在烘干腔(16)靠近處理腔(11)側壁上的活動槽(410),所述第一螺桿(205)延伸至第二側驅動腔(401)內并固定套接有第三錐形輪(402),所述第二側驅動腔(401)頂端通過軸承連接有第三驅動軸(406),所述第三驅動軸(406)上從上到下依次固定套接有第二齒輪(405)和與第三錐形輪(402)嚙合連接的第四錐形輪(403),所述第二螺桿(409)上固定套接有第三齒輪(408),所述第二齒輪(405)與第三齒輪(408)外套接有嚙合傳動的第一傳動齒帶(407),抵接塊(21)通過傳動螺母傳動連接在第二螺桿(409)上,所述活動槽(410)內部固接有活動桿(411),抵接塊(21)通過開孔套接方式活動連接在活動桿(411)上。
7.根據權利要求6所述的一種智能污水處理一體化設備,其特征在于:所述第二轉動驅動機構包括固定套接在粉碎軸(12)延伸至第二側驅動腔(401)內軸上的第四齒輪(501)、固定套接在中間粉碎軸(12)延伸至第二側驅動腔(401)軸上的第五錐形輪(502)以及固定套接在第三驅動軸(406)上位于第四錐形輪(403)下方與第五錐形輪(502)嚙合連接的第六錐形輪(503),第五錐形輪(502)遠離第四齒輪(501),多個所述第四齒輪(501)外套接有嚙合傳動的第二傳動齒帶(504)。
8.根據權利要求6所述的一種智能污水處理一體化設備,其特征在于:所述第二移動驅動機構包括通過軸承連接在機體(1)上的第四驅動軸(603)以及固接在加熱箱(15)靠近第四驅動軸(603)側外壁上的齒條(601),所述第四驅動軸(603)頂端延伸至第二側驅動腔(401)內且與第三驅動軸(406)間裝配有第二活動連接機構,第二活動連接機構與第一活動連接機構的結構相同,所述第四驅動軸(603)底端延伸至下驅動腔(4)內并固定套接有與齒條(601)嚙合連接的第五齒輪(602)。
發明內容
為解決上述背景技術中提出的問題。本發明提供了一種智能污水處理一體化設備,具有能夠在污水處理完成后自動對過濾網進行清潔,省去人為清潔步驟,及污水處理和絮團自清潔為一體,提高設備智能化程度,同時能夠減輕工作人員的工作強度的特點。
為實現上述目的,本發明提供如下技術方案:一種智能污水處理一體化設備,包括:
機體,所述機體內部從上到下依次開設有上驅動腔和底端傾斜的處理腔,上驅動腔頂端為開口結構設置以連通外界與上驅動腔,處理腔頂端為開口結構設置以連通上驅動腔與處理腔,所述上驅動腔內部設置有絮凝筒體,絮凝筒體頂端與上驅動腔開口間通過軸承連接,且底端延伸至處理腔內且與處理腔開口間通過軸承連接,所述絮凝筒體頂端對稱固接有連通絮凝筒體的上帶閥門進污水管和上帶閥門進絮凝劑管,所述絮凝筒體底端固接有上帶閥門排水管,所述處理腔內部位于上帶閥門排水管下方從上到下依次設置有刮板和固接有過濾網,所述機體內部從靠近到遠離處理腔側分別開設有第一連通口和底端傾斜的烘干腔,第一連通口頂端高于刮板,且底端與過濾網頂端平齊,所述第一連通口內部設置有密封門,所述烘干腔內部從上到下依次設置有抵接塊和平行設置的多個粉碎軸,所述粉碎軸外側壁等間距固接有多個粉碎刀片,所述機體內部位于烘干腔下方開設有下驅動腔,所述下驅動腔內部設置有加熱箱,所述加熱箱內部等間距固接有多個電加熱管,所述機體側壁對應處理腔傾斜底端固接有下帶閥門排水管,所述機體側壁對應烘干腔傾斜底端固接有帶閥門排干化污泥粉末管,所述機體操作端外側壁固接有可編程控制器;
第一轉動驅動機構,驅動絮凝筒體轉動,以混合絮凝筒體內的污水和絮凝劑,使絮凝劑與污水充分接觸,使污水內的微小懸浮顆粒聚集形成較大絮團,方便分離;
第一移動驅動機構,驅動刮板移動,刮除過濾網上過濾的絮團,通過第一連通口排至烘干腔內,實現過濾網自動清潔,同時刮板可復位;
活動機構,使密封門具有活動功能,能夠隨刮板移動打開第一連通口,同時能夠隨刮板復位自動復位;
升降驅動機構,驅動抵接塊升降,不影響密封門需要活動時的活動功能,同時對不需要活動時的密封門進行限位,避免密封門活動;
第二轉動驅動機構,驅動多個粉碎軸同時轉動,以帶動多個粉碎刀片轉動,烘干時充當攪拌結構加速烘干,烘干后充當粉碎結構粉碎干化污泥,使其形成干化污泥粉末,以便進行回收利用處理;
第二移動驅動機構,驅動加熱箱移動,方便電加熱管進行維護或檢修;
上帶閥門進污水管、上帶閥門進絮凝劑管、上帶閥門排水管、下帶閥門排水管和帶閥門排干化污泥粉末管的閥門均為電動閥門,上帶閥門進污水管、上帶閥門進絮凝劑管、上帶閥門排水管、下帶閥門排水管和帶閥門排干化污泥粉末管閥門、電加熱管、第一轉動驅動機構、第一移動驅動機構和第二移動驅動機構與可編程控制器電連接。
進一步的,所述第一轉動驅動機構包括固接在機體頂端的電機、設置在上驅動腔內部的第一驅動軸和固定套接在絮凝筒體外側壁上的外齒環,第一驅動軸頂端通過聯軸器與電機輸出端連接,第一驅動軸底端通過軸承與機體內壁連接,所述第一驅動軸上固定套接有與外齒環嚙合連接的第一齒輪,電機與可編程控制器電連接。
進一步的,所述第一移動驅動機構包括開設在機體內部位于第一驅動軸下方的第一側驅動腔、固接在處理腔內部位于上帶閥門排水管下方的擋架以及設置在擋架內部的第一螺桿,第一驅動軸底端延伸至第一側驅動腔內,所述第一側驅動腔內部位于第一驅動軸下方固接有固定架,所述固定架內部通過軸承連接有第二驅動軸,所述第二驅動軸頂端延伸至固定架上方并與第一驅動軸底端裝配有第一活動連接結構,所述第二驅動軸底端延伸至固定架下方并固定套接有第一錐形輪,擋架頂端為V型結構設置,所述第一螺桿一端貫穿機體延伸至第一側驅動腔并固定套接有與第一錐形輪嚙合連接的第二錐形輪,第一螺桿通過軸承與機體貫穿段連接,第一螺桿另一端穿過第一連通口延伸至烘干腔內并通過軸承與機體內壁連接,刮板通過傳動螺母傳動連接在第一螺桿上,第一活動連接機構與可編程控制器電連接。
進一步的,所述第一活動連接機構包括固接在第一驅動軸底端的安裝座以及開設在第二驅動軸頂端的插接槽,所述安裝座內部固接有電缸,所述電缸輸出端延伸至安裝座下方固接有與插接槽配合插接的插接軸,電缸與可編程控制器電連接。
進一步的,所述活動機構包括密封門通過開孔套接方式活動連接在第一螺桿上以及彈性連接在第一螺桿外位于密封門靠近烘干腔側壁與烘干腔遠離密封門側壁間的連接彈簧。
進一步的,所述升降驅動機構包括開設在機體內部從靠近到遠離烘干腔側的與烘干腔連通的第二連通口和與第二連通口連通的第二側驅動腔、通過軸承連接在烘干腔頂端的第二螺桿以及開設在烘干腔靠近處理腔側壁上的活動槽,所述第一螺桿延伸至第二側驅動腔內并固定套接有第三錐形輪,所述第二側驅動腔頂端通過軸承連接有第三驅動軸,所述第三驅動軸上從上到下依次固定套接有第二齒輪和與第三錐形輪嚙合連接的第四錐形輪,所述第二螺桿上固定套接有第三齒輪,所述第二齒輪與第三齒輪外套接有嚙合傳動的第一傳動齒帶,抵接塊通過傳動螺母傳動連接在第二螺桿上,所述活動槽內部固接有活動桿,抵接塊通過開孔套接方式活動連接在活動桿上。
進一步的,所述第二轉動驅動機構包括固定套接在粉碎軸延伸至第二側驅動腔內軸上的第四齒輪、固定套接在中間粉碎軸延伸至第二側驅動腔軸上的第五錐形輪以及固定套接在第三驅動軸上位于第四錐形輪下方與第五錐形輪嚙合連接的第六錐形輪,第五錐形輪遠離第四齒輪,多個所述第四齒輪外套接有嚙合傳動的第二傳動齒帶。
進一步的,所述第二移動驅動機構包括通過軸承連接在機體上的第四驅動軸以及固接在加熱箱靠近第四驅動軸側外壁上的齒條,所述第四驅動軸頂端延伸至第二側驅動腔內且與第三驅動軸間裝配有第二活動連接機構,第二活動連接機構與第一活動連接機構的結構相同,所述第四驅動軸底端延伸至下驅動腔內并固定套接有與齒條嚙合連接的第五齒輪。
與現有技術相比,本發明的有益效果是:
1、本發明設置過濾網自清潔結構,能夠在污水處理完成后自動對過濾網進行清潔,省去人為清潔步驟,及污水處理和絮團自清潔為一體,提高設備智能化程度,同時能夠減輕工作人員的工作強度。
2、本發明過濾網上的絮團通過移動式刮板刮除,頂開密封門通過第一連通口掉落至烘干腔內實現自清潔,同時設置隨動式抵接塊,能夠在密封門需要打開時脫離密封門使其具有活動功能,同時在密封門不需要打開時抵住密封門使其具有限位功能,避免密封門在污水沖刷作用下頂開,提高設備的使用效果。
3、本發明設置多個電加熱管,同時設置多個轉動式粉碎軸,轉動式粉碎軸上設置多個粉碎刀片,能夠對絮團進行烘干,粉碎刀片在絮團未干化時充當攪拌作用,加速絮團干化,在絮團干化時充當粉碎作用,將干化絮團粉碎成干化污泥粉末,以便減輕后期回收工作強度和便于回收利用。
4、本發明設置加熱箱可移動,方便對加熱箱內的電加熱管進行維護或檢修。
(發明人:廖曉應;潘樂;潘云)






