公布日:2024.06.28
申請日:2024.05.28
分類號:C02F7/00(2006.01)I
摘要
氣液回收式污水曝氣裝置,污水處理技術領域,包括集水箱,集水箱內豎直轉動設有升降的進氣管,進氣管的下端部固接有分布腔殼,分布腔殼的上方跟隨其升降有氣泡粉碎盤,氣泡粉碎盤獨立轉動設置,氣泡粉碎盤的下表面圍繞分布腔殼由內向外設有若干圈粉碎針,集水箱處于分布腔殼上方的區域固接有集氣反流盤,集氣反流盤通過反流結構與進氣管的內腔相連通。本發明解決了傳統技術中曝氣結構分布的氣泡直接漂浮到液面,無法完全的充分利用添加劑,造成添加劑添加量過大,提高了污水處理成本的問題。

權利要求書
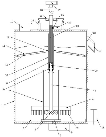
1.氣液回收式污水曝氣裝置,其特征在于:包括集水箱(1),所述集水箱(1)內豎直轉動設有升降的進氣管(2),所述進氣管(2)的下端部固接有分布腔殼(3),所述分布腔殼(3)的上方跟隨其升降有氣泡粉碎盤(4),所述氣泡粉碎盤(4)獨立轉動設置,所述氣泡粉碎盤(4)的下表面圍繞所述分布腔殼(3)由內向外設有若干圈粉碎針(5),所述集水箱(1)處于所述分布腔殼(3)上方的區域固接有集氣反流盤(14),所述集氣反流盤(14)通過反流結構與所述進氣管(2)的內腔相連通,集氣反流盤(14)呈錐形設置,所述集氣反流盤(14)沿徑向開設有若干個過流通道(21),并通過相鄰過流通道(21)之間的區域形成集氣段(22),所述集氣段(22)的下表面開設有集氣導流槽(15),所述反流結構包括轉動套裝于所述進氣管(2)上的包覆管(16),所述包覆管(16)貫穿所述集氣反流盤(14)的中心位置并與所述集氣反流盤(14)相固接,所述包覆管(16)對應每個所述集氣導流槽(15)開設有相連通的通孔(17),所述包覆管(16)的內壁對應每個所述通孔(17)沿軸向開設有通氣槽(18),所述進氣管(2)的管壁上對應每個所述通氣槽(18)開設有相連通的回流孔(19),所述包覆管(16)通過相鄰通氣槽(18)之間的區域封閉所述回流孔(19),所述集水箱(1)的內底面轉動設有與所述氣泡粉碎盤(4)同步轉動設置的驅動盤(6),所述氣泡粉碎盤(4)沿豎向滑動安裝于所述驅動盤(6)上,所述驅動盤(6)的外壁上圍設有若干個弧形設置的擾流板(8),所述擾流板(8)的下邊沿與所述集水箱(1)的內底面摩擦接觸,所述進氣管(2)設有文丘里管管段(20),所述回流孔(19)開設于所述文丘里管管段(20)上。
2.根據權利要求1所述的氣液回收式污水曝氣裝置,其特征在于:所述集水箱(1)處于液面以上的區域固接有浮渣溢流孔(12),所述集水箱(1)的外壁上傾斜向下固接有與所述浮渣溢流孔(12)相連通的浮渣導出筒(13)。
3.根據權利要求2所述的氣液回收式污水曝氣裝置,其特征在于:所述進氣管(2)的上端部延伸至所述集水箱(1)的上方,所述進氣管(2)的上端口內轉動插裝有進入管(26),所述進氣管(2)與所述進入管(26)之間滑動連接,所述進入管(26)的上端口連接有三通閥(27)。
4.根據權利要求3所述的氣液回收式污水曝氣裝置,其特征在于:所述驅動盤(6)的上表面圍設有若干個豎直設置的驅動柱(7),所述氣泡粉碎盤(4)對應每個所述驅動柱(7)開設有滑孔。
5.根據權利要求4所述的氣液回收式污水曝氣裝置,其特征在于:所述集水箱(1)的外頂面固接有驅動機(24),所述驅動機(24)的輸出軸固接有驅動齒輪(25),所述驅動齒輪(25)的軸線與所述進氣管(2)軸線平行設置,所述進氣管(2)的外壁上圍設有齒紋槽(23),所述驅動齒輪(25)與所述齒紋槽(23)滑動嚙合。
6.根據權利要求5所述的氣液回收式污水曝氣裝置,其特征在于:所述進氣管(2)靠近上端部的外壁上轉動設有支撐盤(28),所述支撐盤(28)的相對外壁上分別固接有連接桿,所述集水箱(1)的外頂面對應每個所述連接桿豎直固接有伸縮缸(29),所述伸縮缸(29)的伸縮端與所述連接桿相固接。
發明內容
針對現有技術中的缺陷,本發明提供氣液回收式污水曝氣裝置,用以解決傳統技術中曝氣結構分布的氣泡直接漂浮到液面,無法完全的充分利用添加劑,造成添加劑添加量過大,提高了污水處理成本;以及在加入添加劑時易堵塞曝氣石孔隙的問題。
為實現上述目的,本發明提供如下技術方案:
氣液回收式污水曝氣裝置,包括集水箱,所述集水箱內豎直轉動設有升降的進氣管,所述進氣管的下端部固接有分布腔殼,所述分布腔殼的上方跟隨其升降有氣泡粉碎盤,所述氣泡粉碎盤獨立轉動設置,所述氣泡粉碎盤的下表面圍繞所述分布腔殼由內向外設有若干圈粉碎針,
所述集水箱處于所述分布腔殼上方的區域固接有集氣反流盤,所述集氣反流盤通過反流結構與所述進氣管的內腔相連通。
作為一種優化的方案,所述集水箱的內底面轉動設有與所述氣泡粉碎盤同步轉動設置的驅動盤,所述氣泡粉碎盤沿豎向滑動安裝于所述驅動盤上。
作為一種優化的方案,所述驅動盤的外壁上圍設有若干個弧形設置的擾流板,所述擾流板的下邊沿與所述集水箱的內底面摩擦接觸。
作為一種優化的方案,集氣反流盤呈錐形設置,所述集氣反流盤沿徑向開設有若干個過流通道,并通過相鄰過流通道之間的區域形成集氣段,所述集氣段的下表面開設有集氣導流槽。
作為一種優化的方案,所述反流結構包括轉動套裝于所述進氣管上的包覆管,所述包覆管貫穿所述集氣反流盤的中心位置并與所述集氣反流盤相固接,所述包覆管對應每個所述集氣導流槽開設有相連通的通孔,所述包覆管的內壁對應每個所述通孔沿軸向開設有通氣槽,所述進氣管的管壁上對應每個所述通氣槽開設有相連通的回流孔,所述包覆管通過相鄰通氣槽之間的區域封閉所述回流孔。
作為一種優化的方案,所述進氣管設有文丘里管管段,所述回流孔開設于所述文丘里管管段上。
作為一種優化的方案,所述集水箱處于液面以上的區域固接有浮渣溢流孔,所述集水箱的外壁上傾斜向下固接有與所述浮渣溢流孔相連通的浮渣導出筒。
作為一種優化的方案,所述進氣管的上端部延伸至所述集水箱的上方,所述進氣管的上端口內轉動插裝有進入管,所述進氣管與所述進入管之間滑動連接,所述進入管的上端口連接有三通閥。
作為一種優化的方案,所述驅動盤的上表面圍設有若干個豎直設置的驅動柱,所述氣泡粉碎盤對應每個所述驅動柱開設有滑孔。
作為一種優化的方案,所述集水箱的外頂面固接有驅動機,所述驅動機的輸出軸固接有驅動齒輪,所述驅動齒輪的軸線與所述進氣管軸線平行設置,所述進氣管的外壁上圍設有齒紋槽,所述驅動齒輪與所述齒紋槽滑動嚙合。
作為一種優化的方案,所述進氣管靠近上端部的外壁上轉動設有支撐盤,所述支撐盤的相對外壁上分別固接有連接桿,所述集水箱的外頂面對應每個所述連接桿豎直固接有伸縮缸,所述伸縮缸的伸縮端與所述連接桿相固接。
與現有技術相比,本發明的有益效果是:
利用污水進入筒將污水引入至集水箱內,通過設置三通閥,利用三通閥另外兩個端口分別連接氣源和添加劑,可以實現對添加劑和氣源進行導入,對污水進行曝氣處理時,氣體通過進氣管進入,通過進氣管底部的分布腔殼實現對進入的氣體進行初步分散,通過驅動電機帶動驅動盤高速旋轉,驅動盤利用驅動柱帶動氣泡粉碎盤旋轉,利用粉碎針實現對氣泡進行細化擊散,保證了氣泡的細化度,由于利用氣泡粉碎盤實現氣泡的細化,所以分布孔的孔徑較大,可以替代傳統技術中孔隙較小的曝氣石,并且可以克服添加劑對曝氣石孔隙的堵塞影響,也可以克服污水中的雜質堵塞分布孔的問題;
當需要調節曝氣結構在集水箱內的液層高度時,利用伸縮缸伸縮帶動進氣管升降,進而實現帶動分布腔殼的升降,實現對曝氣高度進行調節,與此同時,由于氣泡粉碎盤利用滑孔滑動安裝在驅動柱上,所以分布腔殼在升降過程中會推動氣泡粉碎盤一同升降,實現了分布腔殼在不同高度下,仍可以利用氣泡粉碎盤將其分散的氣泡進行擊散細化,擴大的使用范圍;
通過在集水箱內設置集氣反流盤,集氣反流盤上設有集氣段,利用集氣段的下表面開設有集氣導流槽,可以實現對上浮過程中的部分氣泡進行收集,并利用反流結構實現將收集的氣泡導入至進氣管內,實現對氣泡進行收集回流,實現對添加劑進行回收利用,降低添加劑的浪費,通過相鄰集氣段的過流通道可以實現部分氣泡穿過集氣反流盤上浮,實現將污水中的雜質帶入到污水液面上,通過設置高于液面的浮渣溢流孔流出,并利用浮渣導出筒排出至集水箱外;
其中進氣管利用驅動機實現帶動其旋轉設置,可以實現調節回流孔是否與包覆管內的通氣槽相連通,當進氣管旋轉一定角度后,回流孔位于相鄰通氣槽之間的區域時,可以關閉收集的氣泡進入至進氣管內,當回流孔與通氣槽相重齊時,利用文丘里管管段實現將通氣槽內的氣泡引入至進氣管內,當驅動機帶動進氣管一直旋轉時,實現了收集的氣泡間斷式進入至進氣管內,實現對收集氣泡的量進行調節,擴大的使用范圍。
(發明人:王凱;王榮浩;王榮翔;王榮正;趙海偉)






