公布日:2023.12.08
申請日:2023.09.09
分類號:C02F1/40(2023.01)I;C02F103/16(2006.01)N
摘要
本發明公開了一種鍍鋅廢水刮吸結合式快速除油裝置,包括圓環形的廢水池、主軸、旋轉驅動裝置、旋轉架、第一升降驅動裝置、升降架、外吸收集管、第二升降驅動裝置、內吸收集管、多個在外環腔內活動的刮吸組件和旋轉接頭。通過設置圓環形廢水池,利用旋轉驅動裝置驅動主軸、旋轉架旋轉,使得刮吸組件的除油范圍覆蓋整個外環腔,可提高除油效率;除油時先通過吸油的方式去除初始廢水中較多的油液,從而實現較厚油層的快速除油,提高除油效率,最后進行刮吸結合方式除油,去除廢水中剩余的不宜抽吸的薄油層,減少廢水中最終殘留的油液量,可提高除油效果。

權利要求書
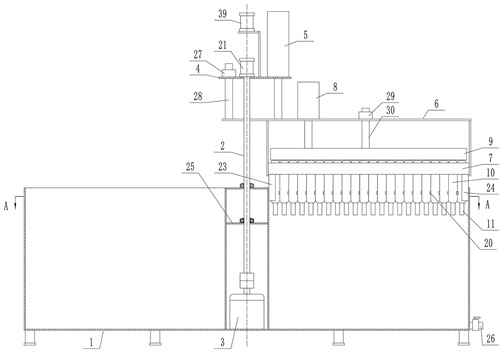
1.一種鍍鋅廢水刮吸結合式快速除油裝置,其特征在于,包括:廢水池(1),所述廢水池(1)呈圓環形結構,廢水池(1)的外環部分形成儲蓄廢水的外環腔,廢水池(1)的內環部分形成與外環腔相分隔的內環腔;主軸(2),所述主軸(2)同軸轉動安裝在內環腔中;旋轉驅動裝置(3),所述旋轉驅動裝置(3)輸出端與主軸(2)傳動連接;旋轉架(4),所述旋轉架(4)位于廢水池(1)上方且與主軸(2)上端固定連接;第一升降驅動裝置(5),所述第一升降驅動裝置(5)固定安裝在旋轉架(4)上;升降架(6),所述升降架(6)與第一升降驅動裝置(5)輸出端連接且由第一升降驅動裝置(5)驅動豎直升降;外吸收集管(7),所述外吸收集管(7)與升降架(6)固定連接;第二升降驅動裝置(8),所述第二升降驅動裝置(8)固定安裝在升降架(6)上;內吸收集管(9),所述內吸收集管(9)位于外吸收集管(7)正上方,內吸收集管(9)與第二升降驅動裝置(8)輸出端連接且由第二升降驅動裝置(8)驅動豎直升降;多個在外環腔內活動的刮吸組件,所述刮吸組件包括外吸管(10)、內吸管(11)、安裝板(12)、限位凸起(13)、第一彈性件(14)、第二彈性件(15)、壓板(16)、滑動套(17)、滑動密封板(18)、錐形塞(19),外吸管(10)頂端與外吸收集管(7)密封固定連接,外吸管(10)底部呈錐形縮口結構,外吸管(10)上開設有吸油口(20),安裝板(12)和限位凸起(13)固定安裝在外吸管(10)內壁上,第一彈性件(14)上端安裝在安裝板(12)上,內吸管(11)同軸設置在外吸管(10)內,內吸管(11)頂端穿過外吸收集管(7)且與內吸收集管(9)密封固定連接,內吸管(11)與外吸收集管(7)滑動密封連接,壓板(16)固定安裝在內吸管(11)上,滑動套(17)滑動套(17)裝在內吸管(11)上且位于壓板(16)下方,滑動密封板(18)與滑動套(17)固定連接,滑動密封板(18)與第一彈性件(14)下端連接,滑動密封板(18)與限位凸起(13)抵接時密封吸油口(20),錐形塞(19)滑動密封安裝在內吸管(11)上,第二彈性件(15)上端與滑動套(17)連接下端與錐形塞(19)連接,錐形塞(19)移動至最低點時密封外吸管(10)底部的錐形縮口結構;各刮吸組件的外吸管(10)依次連接呈沿廢水池(1)徑向方向分布在外吸收集管(7)底部;旋轉接頭(21),所述旋轉接頭(21)固定安裝在旋轉架(4)上且與主軸(2)同軸設置,外吸收集管(7)和內吸收集管(9)均通過旋轉接頭(21)與負壓源(22)連通。
2.根據權利要求1所述的鍍鋅廢水刮吸結合式快速除油裝置,其特征在于,距廢水池(1)中心最近的外吸管(10)上固定有內刮板(23),內刮板(23)與廢水池(1)的內圓外壁接觸配合,距廢水池(1)中心最遠的外吸管(10)上固定有外刮板(24),外刮板(24)與廢水池(1)的外圓內壁接觸配合。
3.根據權利要求1所述的鍍鋅廢水刮吸結合式快速除油裝置,其特征在于,所述外吸管(10)截面呈圓形,相鄰兩個外吸管(10)間圍成V形空間,吸油口(20)朝向V形空間。
4.根據權利要求1所述的鍍鋅廢水刮吸結合式快速除油裝置,其特征在于,所述內環腔內固定有橫板(25),橫板(25)上安裝有軸承,主軸(2)通過軸承轉動安裝在橫板(25)上。
5.根據權利要求1所述的鍍鋅廢水刮吸結合式快速除油裝置,其特征在于,所述外環腔底部設有排水口(26),排水口(26)上安裝有排水閥。
6.根據權利要求1所述的鍍鋅廢水刮吸結合式快速除油裝置,其特征在于,所述旋轉驅動裝置(3)固定安裝在內環腔內,旋轉驅動裝置(3)通過聯軸器與主軸(2)傳動連接。
7.根據權利要求1所述的鍍鋅廢水刮吸結合式快速除油裝置,其特征在于,所述旋轉架(4)上固定安裝有第一導向套(27),第一導向套(27)內滑動安裝有第一導向桿(28),第一導向桿(28)下端與升降架(6)固定連接;所述升降架(6)上固定安裝有第二導向套(29),第二導向套(29)內滑動安裝有第二導向桿(30),第二導向桿(30)下端與內吸收集管(9)固定連接。
8.根據權利要求1所述的鍍鋅廢水刮吸結合式快速除油裝置,其特征在于,所述旋轉接頭(21)為四通路旋轉接頭,外吸收集管(7)通過外吸負壓管(31)與旋轉接頭(21)的第一輸入端連通,內吸收集管(9)通過內吸負壓管(32)與旋轉接頭(21)的第二輸入端連通;還包括廢油收集容器(33),所述廢油收集容器(33)頂部與負壓源(22)連通,廢油收集容器(33)連接有廢油收集主管(34),旋轉接頭(21)的第一輸出端通過外吸輸送管(35)與廢油收集主管(34)連通,外吸輸送管(35)上安裝有外吸控制閥(36),旋轉接頭(21)的第二輸出端通過內吸輸送管(37)與廢油收集主管(34)連通,內吸輸送管(37)上安裝有內吸控制閥(38)。
9.根據權利要求1所述的鍍鋅廢水刮吸結合式快速除油裝置,其特征在于,所述旋轉架(4)上安裝有與主軸(2)同軸設置的電滑環(39),第一升降驅動裝置(5)和第二升降驅動裝置(8)均為電動缸,第一升降驅動裝置(5)和第二升降驅動裝置(8)與電滑環(39)電連接。
10.根據權利要求1所述的鍍鋅廢水刮吸結合式快速除油裝置,其特征在于,所述旋轉架(4)上安裝有與主軸(2)同軸設置的氣滑環,第一升降驅動裝置(5)和第二升降驅動裝置(8)均為氣缸,第一升降驅動裝置(5)和第二升降驅動裝置(8)通過氣滑環與氣源連通。
發明內容
基于此,有必要針對上述技術問題,提供一種鍍鋅廢水刮吸結合式快速除油裝置。
為了實現上述目的,本發明提供了一種鍍鋅廢水刮吸結合式快速除油裝置,包括:廢水池,所述廢水池呈圓環形結構,廢水池的外環部分形成儲蓄廢水的外環腔,廢水池的內環部分形成與外環腔相分隔的內環腔;主軸,所述主軸同軸轉動安裝在內環腔中;旋轉驅動裝置,所述旋轉驅動裝置輸出端與主軸傳動連接;旋轉架,所述旋轉架位于廢水池上方且與主軸上端固定連接;第一升降驅動裝置,所述第一升降驅動裝置固定安裝在旋轉架上;升降架,所述升降架與第一升降驅動裝置輸出端連接且由第一升降驅動裝置驅動豎直升降;外吸收集管,所述外吸收集管與升降架固定連接;第二升降驅動裝置,所述第二升降驅動裝置固定安裝在升降架上;內吸收集管,所述內吸收集管位于外吸收集管正上方,內吸收集管與第二升降驅動裝置輸出端連接且由第二升降驅動裝置驅動豎直升降;多個在外環腔內活動的刮吸組件,所述刮吸組件包括外吸管、內吸管、安裝板、限位凸起、第一彈性件、第二彈性件、壓板、滑動套、滑動密封板、錐形塞,外吸管頂端與外吸收集管密封固定連接,外吸管底部呈錐形縮口結構,外吸管上開設有吸油口,安裝板和限位凸起固定安裝在外吸管內壁上,第一彈性件上端安裝在安裝板上,內吸管同軸設置在外吸管內,內吸管頂端穿過外吸收集管且與內吸收集管密封固定連接,內吸管與外吸收集管滑動密封連接,壓板固定安裝在內吸管上,滑動套滑動套裝在內吸管上且位于壓板下方,滑動密封板與滑動套固定連接,滑動密封板與第一彈性件下端連接,滑動密封板與限位凸起抵接時密封吸油口,錐形塞滑動密封安裝在內吸管上,第二彈性件上端與滑動套連接下端與錐形塞連接,錐形塞移動至最低點時密封外吸管底部的錐形縮口結構;各刮吸組件的外吸管依次連接呈沿廢水池徑向方向分布在外吸收集管底部;旋轉接頭,所述旋轉接頭固定安裝在旋轉架上且與主軸同軸設置,外吸收集管和內吸收集管均通過旋轉接頭與負壓源連通。
優選的,距廢水池中心最近的外吸管上固定有內刮板,內刮板與廢水池的內圓外壁接觸配合,距廢水池中心最遠的外吸管上固定有外刮板,外刮板與廢水池的外圓內壁接觸配合。
優選的,所述外吸管截面呈圓形,相鄰兩個外吸管間圍成V形空間,吸油口朝向V形空間。
優選的,所述內環腔內固定有橫板,橫板上安裝有軸承,主軸通過軸承轉動安裝在橫板上。
優選的,所述外環腔底部設有排水口,排水口上安裝有排水閥。
優選的,所述旋轉驅動裝置固定安裝在內環腔內,旋轉驅動裝置通過聯軸器與主軸傳動連接。
優選的,所述旋轉架上固定安裝有第一導向套,第一導向套內滑動安裝有第一導向桿,第一導向桿下端與升降架固定連接;所述升降架上固定安裝有第二導向套,第二導向套內滑動安裝有第二導向桿,第二導向桿下端與內吸收集管固定連接。
優選的,所述旋轉接頭為四通路旋轉接頭,外吸收集管通過外吸負壓管與旋轉接頭的第一輸入端連通,內吸收集管通過內吸負壓管與旋轉接頭的第二輸入端連通;還包括廢油收集容器,所述廢油收集容器頂部與負壓源連通,廢油收集容器連接有廢油收集主管,旋轉接頭的第一輸出端通過外吸輸送管與廢油收集主管連通,外吸輸送管上安裝有外吸控制閥,旋轉接頭的第二輸出端通過內吸輸送管與廢油收集主管連通,內吸輸送管上安裝有內吸控制閥。
優選的,所述旋轉架上安裝有與主軸同軸設置的電滑環,第一升降驅動裝置和第二升降驅動裝置均為電動缸,第一升降驅動裝置和第二升降驅動裝置與電滑環電連接。
優選的,所述旋轉架上安裝有與主軸同軸設置的氣滑環,第一升降驅動裝置和第二升降驅動裝置均為氣缸,第一升降驅動裝置和第二升降驅動裝置通過氣滑環與氣源連通。
相對于現有技術,本技術方案至少具有以下一種有益效果:1、通過設置圓環形廢水池,利用旋轉驅動裝置驅動主軸、旋轉架旋轉,使得刮吸組件的除油范圍覆蓋整個外環腔,可提高除油效率;2、除油時先通過吸油的方式去除初始廢水中較多的油液,從而實現較厚油層的快速除油,提高除油效率,最后進行刮吸結合方式除油,去除廢水中剩余的不宜抽吸的薄油層,減少廢水中最終殘留的油液量,可提高除油效果;3、快速吸油時,先進行大口吸油,通過滑動密封板密封吸油口,使得外吸管底端作為唯一負壓吸油端,浸入廢水上層的浮油液面中,便于吸入油液;浮油厚度由厚變薄時,通過錐形塞密封外吸管底端,滑動密封板開啟吸油口,切換成小口慢速吸油,吸油口以側吸的方式吸入油液,可減少過多廢水的吸入。
(發明人:劉高行;樊杰風;翟永超;溫佳騰;高紅濤)






