公布日:2023.12.08
申請日:2023.09.07
分類號:C02F9/00(2023.01)I;C02F1/44(2023.01)N;C02F1/52(2023.01)N;C02F1/66(2023.01)N;C02F103/16(2006.01)N;C02F1/04(2023.01)N
摘要
本申請涉及一種電鍍廢水全膜法回用工藝,其包括以下步驟:S1:廢水收集,將原水收集到調節池內,對非均勻穩定排放的廢水進行水質水量的均化調節,形成一級廢水;S2:反應處理,將一級廢水送至反應處理裝置內進行處理,使均化調節后的廢水形成泥水混合物,泥水混合物為二級廢水;S3:初步過濾,將二級廢水送至管式超濾裝置內,管式超濾裝置將二級廢水中的污泥過濾排出,剩余的廢水為三級廢水;S4:反滲透,將三級廢水送至反滲透裝置,反滲透裝置三級廢水處理形成為淡水和結晶鹽;S5:將S4中處理形成的淡水進行回用。本申請具有更好的對含鎳廢水進行處理的效果。

權利要求書
1.一種電鍍廢水全膜法回用工藝,其特征在于,包括以下步驟:S1:廢水收集,將原水收集到調節池(11)內,對非均勻穩定排放的廢水進行水質水量的均化調節,形成一級廢水;S2:反應處理,將一級廢水送至反應處理裝置(2)內進行處理,使均化調節后的廢水形成泥水混合物,泥水混合物為二級廢水;S3:初步過濾,將二級廢水送至管式超濾裝置(12)內,管式超濾裝置(12)將二級廢水中的污泥過濾排出,剩余的廢水為三級廢水;S4:反滲透,將三級廢水送至反滲透裝置(13),反滲透裝置(13)三級廢水處理形成為淡水和結晶鹽;S5:將S4中處理形成的淡水進行回用。
2.根據權利要求1所述的一種電鍍廢水全膜法回用工藝,其特征在于,所述反滲透裝置(13)包括反滲透RO膜反滲透單元(131)和蒸發結晶器(132),三級廢水先通過反滲透RO膜反滲透單元(131)然后再通過蒸發結晶器(132)。
3.根據權利要求1所述的一種電鍍廢水全膜法回用工藝,其特征在于,所述管式超濾裝置(12)包括管式膜原水池(121)、供水泵(122)、循環泵(123)和管式超濾膜膜管(124),所述供水泵(122)與所述管式膜原水池(121)的出水端連接;所述循環泵(123)與所述供水泵(122)連接;所述管式超濾膜膜管(124)與所述循環泵(123)連接;小部分三級廢水回流至所述循環泵(123)中,小部分三級廢水與污泥排出,剩余的其它三級廢水送至反滲透裝置(13)中。
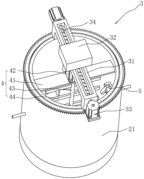
4.根據權利要求1所述的一種電鍍廢水全膜法回用工藝,其特征在于,所述反應處理裝置(2)包括反應池(21)、加料機構(3)和攪拌機構(4),所述加料機構(3)包括運動塊(31)、加料箱(32)、第一運動組件(33)和第二運動組件(34),所述運動塊(31)通過所述第一運動組件(33)設置在所述反應池(21)上;所述加料箱(32)滑移設置在所述運動塊(31)上;所述第二運動組件(34)設置在所述運動塊(31)上且與所述加料箱(32)連接;所述攪拌機構(4)設置在所述反應池(21)上。
5.根據權利要求4所述的一種電鍍廢水全膜法回用工藝,其特征在于,所述反應池(21)的側壁上設置有進料機構(5),所述進料機構(5)包括固定塊(51)、出料管(52)、第一調節組件(55)、進料管(53)和波紋管(54);所述固定塊(51)設置在所述反應池(21)上,所述出料管(52)通過所述第一調節組件(55)轉動設置在所述固定塊(51)上;所述進料管(53)設置在所述反應池(21)上,所述波紋管(54)連接所述進料管(53)和所述出料管(52)。
6.根據權利要求4所述的一種電鍍廢水全膜法回用工藝,其特征在于,所述攪拌機構(4)包括支撐板(41)、第一電機(42)、攪拌軸(43)和攪拌葉(44),所述支撐板(41)設置在所述反應池(21)上,所述第一電機(42)設置在所述支撐板(41)上,所述攪拌軸(43)轉動設置在所述支撐板(41)上且與所述第一電機(42)的輸出軸連接;所述攪拌葉(44)設置在所述攪拌軸(43)上。
7.根據權利要求6所述的一種電鍍廢水全膜法回用工藝,其特征在于,所述反應池(21)上設置有攪勻機構(6),所述攪勻機構(6)包括第一連接塊(61)、第二連接塊(62)、連接桿(63)、攪勻板(64)、攪勻葉(65)和第二調節組件(66),所述第一連接塊(61)設置在所述攪拌軸(43)上,所述第一連接塊(61)上開設有連接槽;所述第二連接塊(62)設置在所述攪勻板(64)上,所述第二連接塊(62)上開設有放置所述第一連接塊(61)的容納槽(621);所述連接桿(63)滑移設置在所述第二連接塊(62)上且與所述連接槽卡接;所述第二調節組件(66)設置在所述第二連接塊(62)上且與所述連接桿(63)連接;所述攪勻葉(65)設置在所述攪勻板(64)上。
8.根據權利要求7所述的一種電鍍廢水全膜法回用工藝,其特征在于,所述反應池(21)上設置有同步機構(7),所述同步機構(7)包括第一轉盤(71)、第二轉盤(72)、第三轉盤(73)、同步帶(74)、第二電機(75)、同步軸(76)、調節塊(77)和氣缸(78),所述第二電機(75)設置在所述反應池(21)上,所述第一轉盤(71)設置在所述第二電機(75)上;所述同步軸(76)固定設置在所述攪勻板(64)上,所述第二轉盤(72)設置在所述同步軸(76)上;所述氣缸(78)設置在所述反應池(21)上,所述調節塊(77)設置在所述氣缸(78)的活塞桿上,所述第三轉盤(73)轉動設置在所述調節塊(77)上;所述第一轉盤(71)和所述第三轉盤(73)的橫截面比所述第二轉盤(72)的橫截面大;所述同步帶(74)套設置在所述第一轉盤(71)和所述第三轉盤(73)上,且所述第二轉盤(72)能夠抵觸所述同步帶(74)。
發明內容
為了更好的對含鎳廢水進行處理,本申請提供一種電鍍廢水全膜法回用工藝。
本申請提供的一種電鍍廢水全膜法回用工藝采用如下的技術方案:一種電鍍廢水全膜法回用工藝,包括以下步驟:S1:廢水收集,將原水收集到調節池內,對非均勻穩定排放的廢水進行水質水量的均化調節,形成一級廢水;S2:反應處理,將一級廢水送至反應處理裝置內進行處理,使均化調節后的廢水形成泥水混合物,泥水混合物為二級廢水;S3:初步過濾,將二級廢水送至管式超濾裝置內,管式超濾裝置將二級廢水中的污泥過濾排出,剩余的廢水為三級廢水;S4:反滲透,將三級廢水送至反滲透裝置,反滲透裝置三級廢水處理形成為淡水和結晶鹽;S5:將S4中處理形成的淡水進行回用。
通過采用上述技術方案,將原水收集到調節池內,對非均勻穩定排放的廢水進行水質水量的均化調節,形成一級廢水;然后將一級廢水送至反應處理裝置內進行處理,使均化調節后的廢水形成為二級廢水;將二級廢水送至管式超濾裝置內,管式超濾裝置將二級廢水中的污泥過濾排出,剩余的廢水為三級廢水;將三級廢水送至反滲透裝置,反滲透裝置將三級廢水處理形成為淡水和結晶鹽;最后將淡水進行回用;對廢水的水質均化調節能夠避免流量或濃度波動對絡合鎳廢水處理系統產生高、低負荷沖擊影響,因此本申請設置的電鍍廢水全膜法回用工藝能夠更好的對含鎳廢水進行處理。
可選的,所述反滲透裝置包括反滲透RO膜反滲透單元和蒸發結晶器,三級廢水先通過反滲透RO膜反滲透單元然后再通過蒸發結晶器。
通過采用上述技術方案,三級廢水先通過反滲透RO膜反滲透單元然后再通過蒸發結晶器;RO膜反滲透單元將三級廢水中的鹽類進行濃縮,并形成濃鹽水;蒸發結晶器對濃鹽水進行濃縮,形成過飽和鹽溶液,從而實現結晶鹽和淡水的分離。
可選的,所述管式超濾裝置包括管式膜原水池、供水泵、循環泵和管式超濾膜膜管,所述供水泵與所述管式膜原水池的出水端連接;所述循環泵與所述供水泵連接;所述管式超濾膜膜管與所述循環泵連接;小部分三級廢水回流至所述循環泵中,小部分三級廢水與污泥排出,剩余的其它三級廢水送至反滲透裝置中。
通過采用上述技術方案,二級廢水進入管式膜原水池內,供水泵根據管式膜原水池液位計自動啟停,液位高于中液位時,供水泵啟動,液位低于低液位時,供水泵停止;循環泵根據供水泵的啟停自動運行,供水泵啟動1分鐘后,循環泵啟動,供水泵停止時,循環泵停止;廢水通過供水泵提升至循環泵,通過循環泵增大進入膜管的流量,二級廢水以大流量進入管式超濾膜膜管內,在壓力、大流速沖刷的作用下進行錯流過濾形成三級廢水;小部分三級廢水回流至循環泵的前段保持循環流量,小部分三級廢水與污泥的形式排出管式超濾膜膜管,剩余的其它三級廢水送至反反滲透裝置內進行處理。
可選的,所述反應處理裝置包括反應池、加料機構和攪拌機構,所述加料機構包括運動塊、加料箱、第一運動組件和第二運動組件,所述運動塊通過所述第一運動組件設置在所述反應池上;所述加料箱滑移設置在所述運動塊上;所述第二運動組件設置在所述運動塊上且與所述加料箱連接;所述攪拌機構設置在所述反應池上。
通過采用上述技術方案,啟動第一運動組件,第一運動組件帶動運動塊轉動,啟動第二運動組件,第二運動組件帶動加料箱相對運動塊運動,使加料箱能夠運動到反應池的不同位置;然后用攪拌機構對一級廢水進行攪拌;先通過加料箱朝反應池內投入氫氧化鈉,使一級廢水中的鎳反應生成氫氧化鎳沉淀;然后加入聚合氯化鋁進行混凝反應,形成較大的絮體,便于后續管式超濾裝置更好的分離;因此設置的反應處理裝置能夠更好的對一級廢水進行處理,節約時間提高了處理效率。
可選的,所述反應池的側壁上設置有進料機構,所述進料機構包括固定塊、出料管、第一調節組件、進料管和波紋管;所述固定塊設置在所述反應池上,所述出料管通過所述第一調節組件轉動設置在所述固定塊上;所述進料管設置在所述反應池上,所述波紋管連接所述進料管和所述出料管。
通過采用上述技術方案,當需要調節PH的時候,將氫氧化鈉溶液通過進料管進入到波紋管內,然后再進入到出料管內,最后通過出料管流到反應池內;啟動第一調節組件,第一調節組件帶動出料管轉動,使出料管在反應池內不同位置流出氫氧化鈉溶液,從而使一級廢水更好的與氫氧化鈉反應;設置的進料機構能夠縮短對第一廢水的處理時間,從而提高效率。
可選的,所述攪拌機構包括支撐板、第一電機、攪拌軸和攪拌葉,所述支撐板設置在所述反應池上,所述第一電機設置在所述支撐板上,所述攪拌軸轉動設置在所述支撐板上且與所述第一電機的輸出軸連接;所述攪拌葉設置在所述攪拌軸上。
通過采用上述技術方案,啟動第一電機,第一電機的輸出軸帶動攪拌軸轉動,攪拌軸上的攪拌葉就會轉動。
可選的,所述反應池上設置有攪勻機構,所述攪勻機構包括第一連接塊、第二連接塊、連接桿、攪勻板、攪勻葉和第二調節組件,所述第一連接塊設置在所述攪拌軸上,所述第一連接塊上開設有連接槽;所述第二連接塊設置在所述攪勻板上,所述第二連接塊上開設有放置所述第一連接塊的容納槽;所述連接桿滑移設置在所述第二連接塊上且與所述連接槽卡接;所述第二調節組件設置在所述第二連接塊上且與所述連接桿連接;所述攪勻葉設置在所述攪勻板上。
通過采用上述技術方案,當朝反應池內加入聚合氯化鋁形成的泥水混合物中的固體會沉淀在反應池的池底,攪拌軸上的攪拌葉不能很好的對沉淀的泥水混合物進行攪拌;這時先使攪拌軸停止轉動,然后啟動第二調節組件,第二調節帶動連接桿運動,使連接桿與連接槽卡接,實現第一連接塊和第二連接塊的連接;再啟動第一電機帶動攪拌軸轉動,調節軸上的第一連接塊帶動第二連接塊轉動,第二連接板上的攪勻板和攪勻葉就會對沉淀的泥水混合物行攪拌,從而使一級廢水更好的與聚合氯化鋁反應。
可選的,所述反應池上設置有同步機構,所述同步機構包括第一轉盤、第二轉盤、第三轉盤、同步帶、第二電機、同步軸、調節塊和氣缸,所述第二電機設置在所述反應池上,所述第一轉盤設置在所述第二電機上;所述同步軸固定設置在所述攪勻板上,所述第二轉盤設置在所述同步軸上;所述氣缸設置在所述反應池上,所述調節塊設置在所述氣缸的活塞桿上,所述第三轉盤轉動設置在所述調節塊上;所述第一轉盤和所述第三轉盤的橫截面比所述第二轉盤的橫截面大;所述同步帶套設置在所述第一轉盤和所述第三轉盤上,且所述第二轉盤能夠抵觸所述同步帶。
通過采用上述技術方案,最開始第二轉盤抵緊同步帶;當朝反應池內加入聚合氯化鋁的時候,啟動第二電機,第二電機上的第一轉盤帶動同步帶轉動,第同步帶就會帶動第二轉盤和第三轉盤轉動,第二轉盤帶動同步軸轉動,同步軸帶動攪勻板轉動,當攪勻板與攪拌軸同速的時候,再使連接桿與第一連接塊上的連接槽卡接;當連接桿與連接槽卡接后,啟動氣缸,氣缸的活塞桿帶動調節塊運動,調節塊上第三轉盤帶動同步帶的位置發生變化,使第二轉盤不再抵緊同步帶,最后關閉第二電機;因此設置的同步機構能夠在攪拌軸不用停止轉動的時候,就實現攪勻板和攪拌軸的連接。
綜上所述,本申請包括以下至少一種有益技術效果:1.設置的電鍍廢水全膜法回用工藝能夠更好的對含鎳廢水進行處理;2.設置的反應處理裝置能夠更好的對一級廢水進行處理,節約時間提高了處理效率。
(發明人:王娓娜;劉方榮;張帆;符成偉;禹暉;文丹楓)






