公布日:2023.12.29
申請日:2023.10.08
分類號:C02F3/12(2023.01)I
摘要
本發明公開了一種一體化好氧顆粒污泥反應器,涉及污水處理設備技術領域,包括反應筒、污水分散送入機構和旋動曝氣機構,反應筒包含有筒體,筒體內頂部設置有內筒體,所述筒體底部內壁固定連接錐形導泥罩的頂部邊沿,所述錐形導泥罩將筒體內分隔為上側的污水污泥反應腔和下側的污泥儲備腔,污水分散送入機構包含有分散送水組件、布水組件和布水方向調整組件。該一體化好氧顆粒污泥反應器,曝氣管和曝氣頭隨著空心轉軸的轉動向內筒體中曝氣,同時阻氣罩對向上溢出的空氣進行阻滯,讓空氣和污水充分接觸,增加污水中的含氧量,好氧顆粒污泥培養花費的時間短,污水處理負荷高,空間占用小,借助污泥清理排放機構方便清理排出好氧顆粒污泥。

權利要求書
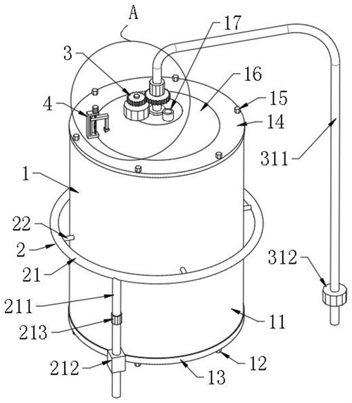
1.一種一體化好氧顆粒污泥反應器,其特征在于,包括:反應筒(1),包含有筒體(11)、錐形導泥罩(18)和內筒體(19),所述筒體(11)的底部固定連接有底蓋(13),所述筒體(11)的頂部固定連接有頂蓋(14),筒體(11)內頂部設置有內筒體(19),所述內筒體(19)的外側和筒體(11)的內側之間留有環形的回水通道,所述筒體(11)底部內壁固定連接錐形導泥罩(18)的頂部邊沿,所述錐形導泥罩(18)將筒體(11)內分隔為上側的污水污泥反應腔和下側的污泥儲備腔,且錐形導泥罩(18)的底部中心開設有沉泥孔,所述筒體(11)的頂部一側連接有清水排出管道(7);污水分散送入機構(2),包含有分散送水組件、布水組件和布水方向調整組件,筒體(11)上安裝有分散送水組件,分散送水組件連接布水組件,所述布水方向調整組件安裝在內筒體(19)的底部,且布水方向調整組件連接布水組件;旋動曝氣機構(3),一端安裝在筒體(11)內。
2.根據權利要求1所述的一種一體化好氧顆粒污泥反應器,其特征在于:所述反應筒(1)還包含有排氣罩(16)和排氣管(17),所述頂蓋(14)的上表面中部向上凸起形成排氣罩(16),排氣罩(16)的頂部連接排氣管(17)的底部。
3.根據權利要求1所述的一種一體化好氧顆粒污泥反應器,其特征在于:所述分散送水組件包含有環形管道(21)、分散水管(22)、送水管道(211)、污水泵(212)和單向閥(213),所述筒體(11)的外側設置有環形管道(21),所述環形管道(21)的內側環形陣列設置有四個分散水管(22),四個分散水管(22)遠離環形管道(21)的一端分別穿過筒體(11)和內筒體(19)延伸至內筒體(19)的內部,環形管道(21)的底部通過送水管道(211)連接污水泵(212)的出水口,所述送水管道(211)上串接有單向閥(213)。
4.根據權利要求3所述的一種一體化好氧顆粒污泥反應器,其特征在于:所述布水組件包含有L形布水彎管(23)和布水頭(24),每個分散水管(22)位于內筒體(19)內的一端分別轉動連接L形布水彎管(23)的一端,所述L形布水彎管(23)的另一端固定連接有布水頭(24)。
5.根據權利要求4所述的一種一體化好氧顆粒污泥反應器,其特征在于:所述布水方向調整組件包含有端面齒環(25)、安裝環(26)、從動齒輪(27)、主動齒輪(28)、布水方向控制電機(29)和電機座(210),每個L形布水彎管(23)靠近分散水管(22)一端的外周側分別固定套接有從動齒輪(27),所述內筒體(19)的底部內壁固定連接有安裝環(26),所述安裝環(26)的內側轉動連接有端面齒環(25),所述端面齒環(25)的頂部與從動齒輪(27)的底部嚙合連接,內筒體(19)的底部外側通過電機座(210)固定連接有布水方向控制電機(29),布水方向控制電機(29)的輸出軸延伸至內筒體(19)內并且固定連接有主動齒輪(28),主動齒輪(28)的底部與端面齒環(25)的頂部嚙合連接。
6.根據權利要求2所述的一種一體化好氧顆粒污泥反應器,其特征在于:所述旋動曝氣機構(3)包含有空心轉軸(31)、阻氣罩(32)、攪動葉片(33)、軸承(36)、送氣組件、旋轉動力組件和均勻曝氣組件,所述排氣罩(16)的中心通過軸承(36)轉動連接空心轉軸(31)的頂部,空心轉軸(31)的頂端分別連接送氣組件和旋轉動力組件,所述空心轉軸(31)位于內筒體(19)的內部中心,且空心轉軸(31)上固定套接有三個等距離分布的阻氣罩(32),三個阻氣罩(32)的直徑從下到上依次增大,且每個阻氣罩(32)的底部外周側環形陣列設置有攪動葉片(33),且空心轉軸(31)位于每個阻氣罩(32)下側的位置分別安裝有均勻曝氣組件。
7.根據權利要求6所述的一種一體化好氧顆粒污泥反應器,其特征在于:所述均勻曝氣組件包含有曝氣管(34)和曝氣頭(35),所述空心轉軸(31)位于每個阻氣罩(32)下側的位置分別環形陣列固定連接曝氣管(34)的一端,每個曝氣管(34)的底部分別等距離的固定連接有曝氣頭(35)。
8.根據權利要求6所述的一種一體化好氧顆粒污泥反應器,其特征在于:還包括阻氣罩頂沉淀清理機構(4),所述阻氣罩頂沉淀清理機構(4)包含有立桿(41)、側連桿(42)、清理刮條(43)、滑套(44)和清理控制組件,所述排氣罩(16)的邊沿鑲嵌有豎向的滑套(44),滑套(44)內豎向滑動連接有立桿(41),立桿(41)的頂部連接清理控制組件,所述立桿(41)的底部延伸至內筒體(19)內,且立桿(41)的側面等距離的設置有三個側連桿(42),三個側連桿(42)分別連接有三個傾斜的清理刮條(43),且三個清理刮條(43)分別與三個阻氣罩(32)的上側對應設置。
9.根據權利要求1所述的一種一體化好氧顆粒污泥反應器,其特征在于:還包括污泥儲存控制機構(5),所述筒體(11)的內壁對應污泥儲備腔中部的位置安裝有污泥儲存控制機構(5),所述污泥儲存控制機構(5)中的錐形塞(51)對應錐形導泥罩(18)底部中心的沉泥孔。
10.根據權利要求1所述的一種一體化好氧顆粒污泥反應器,其特征在于:還包括污泥清理排放機構(6),所述底蓋(13)上安裝有污泥清理排放機構(6)。
發明內容
本發明要解決的技術問題是克服現有的缺陷,提供一種一體化好氧顆粒污泥反應器,曝氣管和曝氣頭隨著空心轉軸的轉動向內筒體中曝氣,同時阻氣罩對向上溢出的空氣進行阻滯,讓空氣和污水充分接觸,增加污水中的含氧量,好氧顆粒污泥培養花費的時間短,污水處理負荷高,空間占用小,好氧顆粒污泥隨著空心轉軸上攪動葉片和曝氣管攪動產生的離心力落到筒體底部,然后通過沉泥孔落入污泥儲備腔,借助污泥清理排放機構方便清理排出好氧顆粒污泥,可以有效解決背景技術中的問題。
為實現上述目的,本發明提供如下技術方案:一種一體化好氧顆粒污泥反應器,包括:
反應筒,包含有筒體、錐形導泥罩和內筒體,所述筒體的底部通過螺絲一固定連接有底蓋,所述筒體的頂部通過螺絲二固定連接有頂蓋,筒體內頂部設置有內筒體,所述內筒體的外側和筒體的內側之間留有環形的回水通道,所述筒體底部內壁固定連接錐形導泥罩的頂部邊沿,所述錐形導泥罩將筒體內分隔為上側的污水污泥反應腔和下側的污泥儲備腔,且錐形導泥罩的底部中心開設有沉泥孔,所述筒體的頂部一側連接有清水排出管道;
污水分散送入機構,包含有分散送水組件、布水組件和布水方向調整組件,筒體上安裝有分散送水組件,分散送水組件連接布水組件,所述布水方向調整組件安裝在內筒體的底部,且布水方向調整組件連接布水組件;
旋動曝氣機構,一端安裝在筒體內。
分散送水組件將外部污水分散送入內筒體內底部,然后通過布水組件流入內筒體內,布水組件將污水沿著內筒體內壁的切線方向送入內筒體,在內筒體內形成螺旋水流,布水方向調整組件可以調整布水組件出水的仰角,從而可以改變內筒體內螺旋水流向上流動的速度,可以根據不同污水中雜質的含量調整螺旋水流向上流動的速度,旋動曝氣機構在內筒體內轉動,旋動的過程中向污水中曝氣,增加污水中的含氧量,促進好氧污泥顆粒的培養,進水中的有機物和氨氮在好氧顆粒污泥的作用下進行去除,內筒體內螺旋水流產生離心力,讓培養的好氧污泥顆粒在內筒體內中部聚集,然后下沉至筒體內底部的錐形導泥罩上,然后通過沉泥孔可以進入污泥儲備腔內被收集,然后內筒體內向上的水流從頂部溢出流動內筒體的外側和筒體的內側之間的回水通道,然后回流至內筒體內底部,形成一個水流循環,讓污水被旋動曝氣機構循環曝氣,污水處理負荷高,空間占用小,好氧污泥顆粒沉降完成后,上層的清水可以通過清水排出管道排出,可以在清水排出管道上設置控制閥門,控制清水排出管道的開閉。
進一步的,所述反應筒還包含有排氣罩和排氣管,所述頂蓋的上表面中部向上凸起形成排氣罩,排氣罩的頂部連接排氣管的底部,旋動曝氣機構曝出的空氣從污水中上溢,匯集到排氣罩內,然后從排氣管處排出,如果排出的空氣氣味大,可以對排氣管內排出的空氣進行過濾處理。
進一步的,所述分散送水組件包含有環形管道、分散水管、送水管道、污水泵和單向閥,所述筒體的外側設置有環形管道,所述環形管道的內側環形陣列設置有四個分散水管,四個分散水管遠離環形管道的一端分別穿過筒體和內筒體延伸至內筒體的內部,環形管道的底部通過送水管道連接污水泵的出水口,所述送水管道上串接有單向閥。
污水泵的進水口連接外部污水源,然后通過送水管道送入環形管道內,然后通過分散水管從多個方向送入筒體內底部,最終通過布水組件將水送入筒體內,借助布水組件促進筒體內水流呈螺旋狀,能產生離心力,讓培養出的好氧顆粒污泥更容易沉淀,也能與旋動曝氣機構曝出的空氣充分接觸,借助單向閥僅允許送水管道內從下向上流水,避免污水泵停止工作后,送水管道被污水返流,分散水管同時也起到將內筒體固定支撐在筒體內的作用,且內筒體與筒體同圓心設置。
進一步的,所述布水組件包含有L形布水彎管和布水頭,每個分散水管位于內筒體內的一端分別轉動連接L形布水彎管的一端,所述L形布水彎管的另一端固定連接有布水頭。L形布水彎管的設置可以使布水頭的出水方向與內筒體的內壁切線方向平行,讓布水頭噴出的水在內筒體內呈螺旋方向流動,利于內筒體的離心力讓好氧顆粒污泥聚集在中部沉降。
進一步的,所述布水方向調整組件包含有端面齒環、安裝環、從動齒輪、主動齒輪、布水方向控制電機和電機座,每個L形布水彎管靠近分散水管一端的外周側分別固定套接有從動齒輪,所述內筒體的底部內壁固定連接有安裝環,所述安裝環的內側轉動連接有端面齒環,所述端面齒環的頂部與從動齒輪的底部嚙合連接,內筒體的底部外側通過電機座固定連接有布水方向控制電機,布水方向控制電機的輸出軸延伸至內筒體內并且固定連接有主動齒輪,主動齒輪的底部與端面齒環的頂部嚙合連接。
電機座用于安裝布水方向控制電機,布水方向控制電機需要做防水措施,采用防水型伺服電機,布水方向控制電機工作帶動主動齒輪轉動,主動齒輪帶動端面齒環沿著安裝環轉動,從而帶動各個從動齒輪轉動,從而帶動L形布水彎管相對于分散水管轉動,讓布水頭朝上傾斜,同步改變各個布水頭出水端的俯仰角度,當布水頭出水端的仰角變大,則內筒體內水流向上移動的速度變大,當布水頭出水端的仰角度變小,則內筒體內水流向上移動的速度變小,可以根據污水中有機物和氨氮來選擇布水頭出水端的仰角,如果污水中有機物和氨氮含量大,則減小布水頭出水端的仰角,可以增加好氧顆粒污泥的培養時間,污水處理效果更好,如果污水中有機物和氨氮含量少,則增大布水頭出水端的仰角。
進一步的,所述旋動曝氣機構包含有空心轉軸、阻氣罩、攪動葉片、軸承、送氣組件、旋轉動力組件和均勻曝氣組件,所述排氣罩的中心通過軸承轉動連接空心轉軸的頂部,空心轉軸的頂端分別連接送氣組件和旋轉動力組件,所述空心轉軸位于內筒體的內部中心,且空心轉軸上固定套接有三個等距離分布的阻氣罩,三個阻氣罩的直徑從下到上依次增大,且每個阻氣罩的底部外周側環形陣列設置有攪動葉片,且空心轉軸位于每個阻氣罩下側的位置分別安裝有均勻曝氣組件。
送氣組件向空心轉軸內送入空氣,然后通過均勻曝氣組件均勻送入內筒體內的污水中,旋轉動力組件帶動空心轉軸通過軸承相對于排氣罩轉動,可以讓均勻曝氣組件曝出的空氣與內筒體內的污水充分接觸,促進好氧顆粒污泥的培養,阻氣罩可以對曝出的空氣在污水中阻滯,三個阻氣罩直徑依次向上增大,上側的阻氣罩可以對下側阻氣罩溢出的空氣進行再次阻滯,讓空氣與污水充分接觸,提高污水中的含氧量,加快好氧顆粒污泥的反應,攪動葉片隨著阻氣罩的轉動對內筒體內的污水進行攪動,促進污水的旋動。
進一步的,所述均勻曝氣組件包含有曝氣管和曝氣頭,所述空心轉軸位于每個阻氣罩下側的位置分別環形陣列固定連接曝氣管的一端,每個曝氣管的底部分別等距離的固定連接有曝氣頭?招霓D軸內的空氣進入到曝氣管內,然后通過曝氣頭曝出,曝氣管隨著空心轉軸的轉動也可以對污水進行攪動。
進一步的,還包括阻氣罩頂沉淀清理機構,所述阻氣罩頂沉淀清理機構包含有立桿、側連桿、清理刮條、滑套和清理控制組件,所述排氣罩的邊沿鑲嵌有豎向的滑套,滑套內豎向滑動連接有立桿,立桿的頂部連接清理控制組件,所述立桿的底部延伸至內筒體內,且立桿的側面等距離的設置有三個側連桿,三個側連桿分別連接有三個傾斜的清理刮條,且三個清理刮條分別與三個阻氣罩的上側對應設置。清理控制組件可以帶動立桿壓著滑套上下活動,當需要清理阻氣罩上側沉積的好氧顆粒污泥時,清理控制組件帶動立桿下移,立桿通過側連桿帶動清理刮條下移,使各個清理刮條的底部分別接觸各個阻氣罩的頂部,隨著個阻氣罩的轉動,清理刮條將阻氣罩上沉積的污泥清理下去。
進一步的,還包括污泥儲存控制機構,所述筒體的內壁對應污泥儲備腔中部的位置安裝有污泥儲存控制機構,所述污泥儲存控制機構中的錐形塞對應錐形導泥罩底部中心的沉泥孔。污泥儲存控制機構可以對沉泥孔進行封堵,選擇是否讓沉積的好氧顆粒污泥通過沉泥孔落入污泥儲備腔。
進一步的,還包括污泥清理排放機構,所述底蓋上安裝有污泥清理排放機構。污泥清理排放機構可以將污泥儲備腔內的好氧顆粒污泥從污泥儲備腔中排出。
與現有技術相比,本發明的有益效果是:本一體化好氧顆粒污泥反應器,具有以下好處:
1、曝氣管和曝氣頭隨著空心轉軸的轉動向內筒體中曝氣,同時阻氣罩對向上溢出的空氣進行阻滯,讓空氣和污水充分接觸,增加污水中的含氧量,好氧顆粒污泥培養花費的時間短,污水處理負荷高,空間占用;
2、好氧顆粒污泥隨著空心轉軸上攪動葉片和曝氣管攪動產生的離心力落到筒體底部,然后通過沉泥孔落入污泥儲備腔,借助污泥清理排放機構方便清理排出好氧顆粒污泥;
3、分散送水組件將外部污水分散送入內筒體內底部,然后通過布水組件流入內筒體內,布水組件將污水沿著內筒體內壁的切線方向送入內筒體,在內筒體內形成螺旋水流,布水方向調整組件可以調整布水組件出水的仰角,從而可以改變內筒體內螺旋水流向上流動的速度,可以根據不同污水中雜質的含量調整螺旋水流向上流動的速度。
(發明人:倪康祥;陽重陽;馬東方;鄧根明;謝永貴;何雄健;廖鳳珍;梁輝政)






