公布日:2023.11.17
申請日:2023.08.17
分類號:B01D25/21(2006.01)I;B01D25/32(2006.01)I
摘要
本發明涉及壓濾裝置技術領域,具體為一種化工污水處理用板框壓濾裝置,包括壓濾機架,所述壓濾機架的一端固定設置有上凸拱架,所述上凸拱架的下端外側固定設置有彎折承載板,所述彎折承載板的一側端部固定設置有支撐軌桿,所述壓濾機架的一側靠近上凸拱架的一端固定設置有上移驅動條,在進行壓濾工作的時候,在液壓推桿的作用下可以帶動第一濾餅推送板和第二濾餅推送板往壓濾機架的兩端進行移動,同時帶動第三壓濾推送板移動到內凹配合槽中,這樣壓濾完成后,液壓推桿帶動三者反向移動,進而使得濾餅在三者的作用下集中在一起,然后在第三壓濾推送板的作用下從濾餅推出口處被推出,無需人為進行清理。

權利要求書
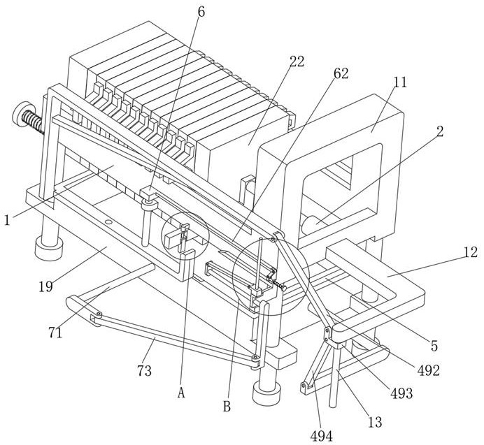
1.一種化工污水處理用板框壓濾裝置,包括壓濾機架(1),其特征在于:所述壓濾機架(1)的一端固定設置有上凸拱架(11),所述上凸拱架(11)的下端外側固定設置有彎折承載板(12),所述彎折承載板(12)的一側端部固定設置有支撐軌桿(13),所述壓濾機架(1)的一側靠近上凸拱架(11)的一端固定設置有上移驅動條(14),所述上移驅動條(14)上遠離上凸拱架(11)的一端設置有上移驅動斜面(15),且上移驅動條(14)靠近上凸拱架(11)的一端上側固定設置有上凸承板(16),下側固定設置有下伸側板(17),所述下伸側板(17)上開設有配合通孔(171),所述配合通孔(171)上側的下伸側板(17)上固定設置有上頂承板(172),所述上頂承板(172)上固定設置有配合滑桿(173),所述壓濾機架(1)的一側固定設置有配合固定塊(18),所述配合固定塊(18)上開設有下插連孔(181),且配合固定塊(18)與上移驅動條(14)處于壓濾機架(1)的同一側,壓濾機架(1)的下端固定設置有濾餅承接盒(19),所述濾餅承接盒(19)的兩端對稱開設有端部連孔(191),且濾餅承接盒(19)的一側開設有內凹配合槽(192),所述內凹配合槽(192)中開設有活動插孔(193),且內凹配合槽(192)與上移驅動條(14)處于壓濾機架(1)的同一側,濾餅承接盒(19)的另一側開設有濾餅推出口(194),所述上凸拱架(11)的內側下端固定安裝有液壓推桿(2),所述液壓推桿(2)的端部固定設置有L型帶動板(21),所述L型帶動板(21)上固定設置有活動擠壓板(22),且L型帶動板(21)上遠離液壓推桿(2)的一側開設有鉸接凹槽(23),所述鉸接凹槽(23)的上頂面上開設有安裝通孔(24),所述壓濾機架(1)上安裝有濾餅便捷清理機構。
2.根據權利要求1所述的一種化工污水處理用板框壓濾裝置,其特征在于:所述濾餅便捷清理機構包括配合鉸架(3)、第一濾餅推送板(4)、復位彈簧(43)、第二濾餅推送板(5)、活動定位塊(6)、反推彈簧(67)和第三濾餅推送板(7),所述配合鉸架(3)插接在鉸接凹槽(23)中,且配合鉸架(3)的上端固定設置有安裝插桿(31),所述安裝插桿(31)插接在安裝通孔(24)中,且安裝插桿(31)的上端固定設置有限位頂塊(32),所述限位頂塊(32)處于鉸接凹槽(23)的外側上端。
3.根據權利要求2所述的一種化工污水處理用板框壓濾裝置,其特征在于:所述限位頂塊(32)的一側固定設置有側推塊(33),所述側推塊(33)的下端安裝有轉動輪(34),所述配合鉸架(3)的下端鉸接有鉸接帶動板(35),所述鉸接帶動板(35)的上下兩端分別設置成圓弧面(36),且鉸接帶動板(35)部分凸出在鉸接凹槽(23)的下方,鉸接帶動板(35)處于豎直狀態時與鉸接凹槽(23)的內端面相接觸。
4.根據權利要求3所述的一種化工污水處理用板框壓濾裝置,其特征在于:所述第一濾餅推送板(4)安裝在濾餅承接盒(19)的內部遠離上凸拱架(11)的一端,且第一濾餅推送板(4)上固定設置有第一活動插桿(41),所述第一活動插桿(41)插接在遠離上凸拱架(11)一端的端部連孔(191)中,且第一活動插桿(41)上固定設置有限位端塊(42),所述限位端塊(42)處于濾餅承接盒(19)的外側,且第一活動插桿(41)上套接有復位彈簧(43)。
5.根據權利要求4所述的一種化工污水處理用板框壓濾裝置,其特征在于:所述第一濾餅推送板(4)的一側固定設置有側凸條(44),所述側凸條(44)上固定設置有被驅動長板(45),所述被驅動長板(45)上開設有定位插孔(46),且被驅動長板(45)上遠離第一濾餅推送板(4)的一端固定設置有上凸貼合板(47),所述上凸貼合板(47)的上側靠近第一濾餅推送板(4)的一端設置有配合斜面(48),所述側凸條(44)上遠離第一濾餅推送板(4)的一側固定設置有上立連板(49),所述上立連板(49)的上端固定設置有水平延伸板(491)。
6.根據權利要求5所述的一種化工污水處理用板框壓濾裝置,其特征在于:所述水平延伸板(491)上遠離第一濾餅推送板(4)的一端鉸接有第一配合驅動桿(492),所述第一配合驅動桿(492)的下端鉸接有銜接滑動塊(493),所述銜接滑動塊(493)的下端鉸接有第二配合驅動桿(494),且銜接滑動塊(493)套接在支撐軌桿(13)上,所述第二配合驅動桿(494)的下端鉸接有第二濾餅推送板(5)。
7.根據權利要求6所述的一種化工污水處理用板框壓濾裝置,其特征在于:所述第二濾餅推送板(5)插接在濾餅承接盒(19)的內部靠近上凸拱架(11)的一端,且第二濾餅推送板(5)上固定設置有第二活動插桿(51),所述第二活動插桿(51)插接在靠近上凸拱架(11)一端的端部連孔(191)中,且第二活動插桿(51)上固定設置有側凸銜接板(52),所述側凸銜接板(52)處于濾餅承接盒(19)的外側,且側凸銜接板(52)與第二配合驅動桿(494)相鉸接。
8.根據權利要求7所述的一種化工污水處理用板框壓濾裝置,其特征在于:所述活動定位塊(6)處于配合固定塊(18)的上側,且活動定位塊(6)的下端固定設置有活動定位桿件(61),所述活動定位桿件(61)沒有插接在定位插孔(46)中時,其下端面與被驅動長板(45)的上端面相接觸,且活動定位桿件(61)插接在下插連孔(181)中,活動定位塊(6)的一端固定設置有外伸連桿(62),所述外伸連桿(62)上遠離活動定位塊(6)的一端鉸接有第三配合驅動桿(63),所述第三配合驅動桿(63)的下端鉸接有活動板架(64)。
9.根據權利要求8所述的一種化工污水處理用板框壓濾裝置,其特征在于:所述活動板架(64)上固定設置有支撐活動桿(65),所述支撐活動桿(65)插接在上凸承板(16)上,且支撐活動桿(65)上遠離活動板架(64)的一端固定設置有固定端板(66),且支撐活動桿(65)上套接有反推彈簧(67)。
10.根據權利要求9所述的一種化工污水處理用板框壓濾裝置,其特征在于:所述第三濾餅推送板(7)插接在內凹配合槽(192)中,且第三濾餅推送板(7)上固定設置有第三活動插桿(71),所述第三活動插桿(71)插接在活動插孔(193)中,且第三活動插桿(71)上固定設置有銜接帶動板(72),所述銜接帶動板(72)處于濾餅承接盒(19)的外側,且銜接帶動板(72)上鉸接有第四配合驅動桿(73),所述第四配合驅動桿(73)的另一端鉸接有配合長條板(74),所述配合長條板(74)的上端固定設置有配合圓柱桿(75),所述配合圓柱桿(75)上遠離配合長條板(74)的一端固定設置有被頂板架(76),且配合圓柱桿(75)插接在配合通孔(171)中,所述被頂板架(76)的上端鉸接有第五配合驅動桿(77),所述第五配合驅動桿(77)的另一端鉸接有配重滑動塊(78),所述配重滑動塊(78)上開設有配合滑孔(79),所述配合滑孔(79)中插接有配合滑桿(173)。
發明內容
本發明的目的在于提供一種化工污水處理用板框壓濾裝置,以解決上述背景技術中提出的問題。
為實現上述目的,本發明提供如下技術方案:一種化工污水處理用板框壓濾裝置,包括壓濾機架,所述壓濾機架的一端固定設置有上凸拱架,所述上凸拱架的下端外側固定設置有彎折承載板,所述彎折承載板的一側端部固定設置有支撐軌桿,所述壓濾機架的一側靠近上凸拱架的一端固定設置有上移驅動條,所述上移驅動條上遠離上凸拱架的一端設置有上移驅動斜面,且上移驅動條靠近上凸拱架的一端上側固定設置有上凸承板,下側固定設置有下伸側板,所述下伸側板上開設有配合通孔,所述配合通孔上側的下伸側板上固定設置有上頂承板,所述上頂承板上固定設置有配合滑桿,所述壓濾機架的一側固定設置有配合固定塊,所述配合固定塊上開設有下插連孔,且配合固定塊與上移驅動條處于壓濾機架的同一側,壓濾機架的下端固定設置有濾餅承接盒,所述濾餅承接盒的兩端對稱開設有端部連孔,且濾餅承接盒的一側開設有內凹配合槽,所述內凹配合槽中開設有活動插孔,且內凹配合槽與上移驅動條處于壓濾機架的同一側,濾餅承接盒的另一側開設有濾餅推出口,所述上凸拱架的內側下端固定安裝有液壓推桿,所述液壓推桿的端部固定設置有L型帶動板,所述L型帶動板上固定設置有活動擠壓板,且L型帶動板上遠離液壓推桿的一側開設有鉸接凹槽,所述鉸接凹槽的上頂面上開設有安裝通孔,所述壓濾機架上安裝有濾餅便捷清理機構。
優選的,所述濾餅便捷清理機構包括配合鉸架、第一濾餅推送板、復位彈簧、第二濾餅推送板、活動定位塊、反推彈簧和第三濾餅推送板,所述配合鉸架插接在鉸接凹槽中,且配合鉸架的上端固定設置有安裝插桿,所述安裝插桿插接在安裝通孔中,且安裝插桿的上端固定設置有限位頂塊,所述限位頂塊處于鉸接凹槽的外側上端。
優選的,所述限位頂塊的一側固定設置有側推塊,所述側推塊的下端安裝有轉動輪,所述配合鉸架的下端鉸接有鉸接帶動板,所述鉸接帶動板的上下兩端分別設置成圓弧面,且鉸接帶動板部分凸出在鉸接凹槽的下方,鉸接帶動板處于豎直狀態時與鉸接凹槽的內端面相接觸。
優選的,所述第一濾餅推送板安裝在濾餅承接盒的內部遠離上凸拱架的一端,且第一濾餅推送板上固定設置有第一活動插桿,所述第一活動插桿插接在遠離上凸拱架一端的端部連孔中,且第一活動插桿上固定設置有限位端塊,所述限位端塊處于濾餅承接盒的外側,且第一活動插桿上套接有復位彈簧。
優選的,所述第一濾餅推送板的一側固定設置有側凸條,所述側凸條上固定設置有被驅動長板,所述被驅動長板上開設有定位插孔,且被驅動長板上遠離第一濾餅推送板的一端固定設置有上凸貼合板,所述上凸貼合板的上側靠近第一濾餅推送板的一端設置有配合斜面,所述側凸條上遠離第一濾餅推送板的一側固定設置有上立連板,所述上立連板的上端固定設置有水平延伸板。
優選的,所述水平延伸板上遠離第一濾餅推送板的一端鉸接有第一配合驅動桿,所述第一配合驅動桿的下端鉸接有銜接滑動塊,所述銜接滑動塊的下端鉸接有第二配合驅動桿,且銜接滑動塊套接在支撐軌桿上,所述第二配合驅動桿的下端鉸接有第二濾餅推送板。
優選的,所述第二濾餅推送板插接在濾餅承接盒的內部靠近上凸拱架的一端,且第二濾餅推送板上固定設置有第二活動插桿,所述第二活動插桿插接在靠近上凸拱架一端的端部連孔中,且第二活動插桿上固定設置有側凸銜接板,所述側凸銜接板處于濾餅承接盒的外側,且側凸銜接板與第二配合驅動桿相鉸接。
優選的,所述活動定位塊處于配合固定塊的上側,且活動定位塊的下端固定設置有活動定位桿件,所述活動定位桿件沒有插接在定位插孔中時,其下端面與被驅動長板的上端面相接觸,且活動定位桿件插接在下插連孔中,活動定位塊的一端固定設置有外伸連桿,所述外伸連桿上遠離活動定位塊的一端鉸接有第三配合驅動桿,所述第三配合驅動桿的下端鉸接有活動板架。
優選的,所述活動板架上固定設置有支撐活動桿,所述支撐活動桿插接在上凸承板上,且支撐活動桿上遠離活動板架的一端固定設置有固定端板,且支撐活動桿上套接有反推彈簧。
優選的,所述第三濾餅推送板插接在內凹配合槽中,且第三濾餅推送板上固定設置有第三活動插桿,所述第三活動插桿插接在活動插孔中,且第三活動插桿上固定設置有銜接帶動板,所述銜接帶動板處于濾餅承接盒的外側,且銜接帶動板上鉸接有第四配合驅動桿,所述第四配合驅動桿的另一端鉸接有配合長條板,所述配合長條板的上端固定設置有配合圓柱桿,所述配合圓柱桿上遠離配合長條板的一端固定設置有被頂板架,且配合圓柱桿插接在配合通孔中,所述被頂板架的上端鉸接有第五配合驅動桿,所述第五配合驅動桿的另一端鉸接有配重滑動塊,所述配重滑動塊上開設有配合滑孔,所述配合滑孔中插接有配合滑桿。
與現有技術相比,本發明的有益效果是:本發明結構設置合理,功能性強,具有以下優點:1.在進行壓濾工作的時候,在液壓推桿的作用下可以帶動第一濾餅推送板和第二濾餅推送板往壓濾機架的兩端進行移動,同時帶動第三壓濾推送板移動到內凹配合槽中,這樣壓濾完成后,液壓推桿帶動三者反向移動,進而使得濾餅在三者的作用下集中在一起,然后在第三壓濾推送板的作用下從濾餅推出口處被推出,無需人為進行清理,方便快捷,大大提升了濾餅清理的工作效率。
2.在壓濾的過程中,液壓推桿帶動鉸接帶動板進行移動,使得鉸接帶動板與上凸貼合板進行接觸,進而在上凸貼合板的作用下使得鉸接帶動板進行轉動,順利越過上凸貼合板,便于壓濾完成之后,鉸接帶動板帶動第一濾餅推送板進行移動,同時在第一濾餅推送板的作用下可以帶動第二濾餅推送板進行移動,使得兩者相向運動,將濾餅集中在一起,便于將其推送出去。
3.第一濾餅推送板和第二濾餅推送板相向運動到工作位置之后,鉸接帶動板與上凸貼合板分離,然后隨著L型帶動板的繼續移動,其會推動被頂板架進行移動,進而在第五配合驅動桿的作用下將帶動第三濾餅推送板往濾餅推出口的方向移動,進而將濾餅推出,省時省力。
(發明人:黃麗榮;金明哲;武亦文;花敏;常凱;李嵐冰)






