公布日:2023.03.07
申請日:2022.12.16
分類號:C02F11/123(2019.01)I
摘要
本發明公開了一種盾構污泥干化處理裝置,包括機架,傳送帶和輥組件,干化機構。設置兩條傳送帶和輥組件,利用輥組件規劃傳送帶的運動軌跡;并在傳送帶上設置彈性封邊器,通過彈性封邊器和輥組件的配合使用,使得兩條傳送帶在進料口和出料口形成一條重疊段,在重疊段的作用下將污泥從進料口輸出至出料口;利用設置重疊段上下兩側的干化機構,擠壓輸送帶重疊段處的污泥,在多組干化機構的依次擠壓下,污泥含水量逐漸減少,成為半干化狀態。本發明較現有污泥的干化過程,所需的設備臺數和占地面積可以大幅減少,非常適合施工場地狹小的城區盾構施工;并且不需要增加輔助物質,在節約成本的同時,也提高了對污泥的干化效率。

權利要求書
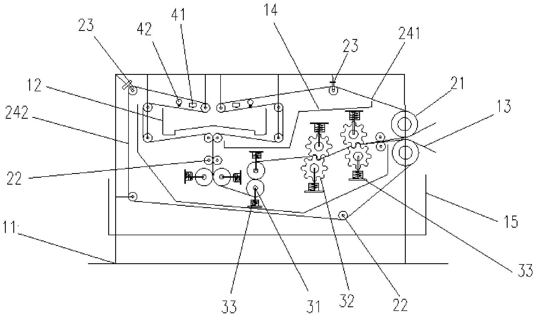
1.一種盾構污泥干化處理裝置,其特征在于:包括機架,在機架上設有進料口和排料口;傳送帶和輥組件,傳送帶分為上傳送帶和下傳送帶,在上下傳送帶的兩側邊緣處均設有彈性封邊器;輥組件分別設在上傳動帶和下傳送帶的環形內側,輥組件的兩端通過軸承設在機架上;在輥組件的作用下,上、下傳動帶在進料口和出料口之間形成重疊段,并且同步移動;干化機構,若干組干化機構設在上、下傳送帶的重疊段處,干化機構分為上壓件和下壓件,上、下壓件分別位于傳動帶重疊段的上下兩側,且緊貼在傳送帶上。
2.根據權利要求1所述的盾構污泥干化處理裝置,其特征在于:還包括脈沖噴水器和風干器,脈沖噴水器和風干器均沿上、下傳送帶某處非重疊段的表面橫向布置,且與傳送帶上表面保持一定的間距,圖中實施例的脈沖噴水器和風干器設在進料口頂部,反沖洗后的污水直接流入進料口。
3.根據權利要求1或2所述的盾構污泥干化處理裝置,其特征在于:干化機構包括溝紋輥筒和緩沖彈簧,溝紋輥筒成對布置在傳動帶重疊段的上下表面,溝紋輥筒的端部設置緩沖彈簧,緩沖彈簧垂直傳送帶布設且處于壓縮狀態;在溝紋輥筒的表面設有螺旋溝槽。
4.根據權利要求1或2所述的盾構污泥干化處理裝置,其特征在于:干化機構包括弧面輥筒和緩沖彈簧,弧面輥筒成對布置在傳動帶重疊段的上下表面,弧面輥筒的端部設置緩沖彈簧,緩沖彈簧垂直傳送帶布設且處于壓縮狀態;在弧面輥筒的表面設有圓弧齒形的凹槽和凸棱,位于傳送帶上下兩側弧面輥筒的凹槽和凸棱之間相互嚙合。
5.根據權利要求1或2所述的盾構污泥干化處理裝置,其特征在于:干化機構包括溝紋輥筒、弧面輥筒、以及緩沖彈簧;溝紋輥筒成對布置在傳動帶重疊段的上下表面,溝紋輥筒的端部設置緩沖彈簧,緩沖彈簧垂直傳送帶布設且處于壓縮狀態;在溝紋輥筒的表面設有螺旋溝槽;弧面輥筒成對布置在傳動帶重疊段的上下表面,弧面輥筒的端部設置緩沖彈簧,緩沖彈簧垂直傳送帶布設且處于壓縮狀態;在弧面輥筒的表面設有圓弧齒形的凹槽和凸棱,位于傳送帶上下兩側弧面輥筒的凹槽和凸棱之間相互嚙合。
6.根據權利要求5所述的盾構污泥干化處理裝置,其特征在于:輥組件包括驅動滾筒、導向輥筒、以及調節輥筒;若干個導向輥筒設在傳送帶環形內側,導向輥筒的設計位置依據傳動帶的規劃路徑確定,位于傳動帶重疊區域的導向輥筒對稱布設在傳動帶的兩側;驅動輥筒和外部的驅動裝置相連;調節輥筒的兩端設有張力調節器。
7.根據權利要求6所述的盾構污泥干化處理裝置,其特征在于:驅動滾筒和導向輥筒通過軸承固定安裝在機架上,調節輥筒的兩端以活動連接的方式安裝在機架上,通過張力調節器控制調節輥筒在機架上的安裝位置。
8.根據權利要求5所述的盾構污泥干化處理裝置,其特征在于:傳送帶由有濾水孔隙的柔性纖維材料制作,可以過濾污泥中的水;彈性封邊器包括相互嚙合的封邊器凹槽和封邊器凸榫,二者分別縱向設在上、下傳動帶的兩側邊緣上。
9.根據權利要求1所述的盾構污泥干化處理裝置,其特征在于:在機架的底部設有集水箱,集水箱位于整個裝置的正下方。
10.根據權利要求1或9所述的盾構污泥干化處理裝置,其特征在于:還包括導流槽,在傳送帶重疊段的上方、且非重疊段的下方設置導流槽;倒流槽與集水箱或者外部排水管相連。通過導流槽的設置,避免傳動帶非重疊段的殘余水滴落在傳動帶重疊段上。
發明內容
針對現有技術存在的上述缺陷,提供了一種盾構污泥干化處理裝置,減小設備占地面積,提高干化效率。
本發明為解決上述技術問題所采用的技術方案是:
一種盾構污泥干化處理裝置,其特征在于:包括
機架,在機架上設有進料口和排料口;
傳送帶和輥組件,傳送帶分為上傳送帶和下傳送帶,在上下傳送帶的兩側邊緣處均設有彈性封邊器;輥組件分別設在上傳動帶和下傳送帶的環形內側,輥組件的兩端通過軸承設在機架上;在輥組件的作用下,上、下傳動帶在進料口和出料口之間形成重疊段,并且同步移動;
干化機構,若干組干化機構設在上、下傳送帶的重疊段處,干化機構分為上壓件和下壓件,上、下壓件分別位于傳動帶重疊段的上下兩側,且緊貼在傳送帶上。
按上述技術方案,還包括脈沖噴水器和風干器,脈沖噴水器和風干器均沿上、下傳送帶某處非重疊段的表面橫向布置,且與傳送帶上表面保持一定的間距,圖中實施例的脈沖噴水器和風干器設在進料口頂部,反沖洗后的污水直接流入進料口。
按上述技術方案,干化機構包括溝紋輥筒和緩沖彈簧,溝紋輥筒成對布置在傳動帶重疊段的上下表面,溝紋輥筒的端部設置緩沖彈簧,緩沖彈簧垂直傳送帶布設且處于壓縮狀態;在溝紋輥筒的表面設有螺旋溝槽。
按上述技術方案,干化機構包括弧面輥筒和緩沖彈簧,弧面輥筒成對布置在傳動帶重疊段的上下表面,弧面輥筒的端部設置緩沖彈簧,緩沖彈簧垂直傳送帶布設且處于壓縮狀態;在弧面輥筒的表面設有圓弧齒形的凹槽和凸棱,位于傳送帶上下兩側弧面輥筒的凹槽和凸棱之間相互嚙合。
按上述技術方案,干化機構包括溝紋輥筒、弧面輥筒、以及緩沖彈簧;
溝紋輥筒成對布置在傳動帶重疊段的上下表面,溝紋輥筒的端部設置緩沖彈簧,緩沖彈簧垂直傳送帶布設且處于壓縮狀態;在溝紋輥筒的表面設有螺旋溝槽;
弧面輥筒成對布置在傳動帶重疊段的上下表面,弧面輥筒的端部設置緩沖彈簧,緩沖彈簧垂直傳送帶布設且處于壓縮狀態;在弧面輥筒的表面設有圓弧齒形的凹槽和凸棱,位于傳送帶上下兩側弧面輥筒的凹槽和凸棱之間相互嚙合。
按上述技術方案,輥組件包括驅動滾筒、導向輥筒、以及調節輥筒;若干個導向輥筒設在傳送帶環形內側,導向輥筒的設計位置依據傳動帶的規劃路徑確定,位于傳動帶重疊區域的導向輥筒對稱布設在傳動帶的兩側;驅動輥筒和外部的驅動裝置相連;調節輥筒的兩端設有張力調節器。
按上述技術方案,驅動滾筒和導向輥筒通過軸承固定安裝在機架上,調節輥筒的兩端以活動連接的方式安裝在機架上,通過張力調節器控制調節輥筒在機架上的安裝位置。
按上述技術方案,傳送帶由有濾水孔隙的柔性纖維材料制作,可以過濾污泥中的水;彈性封邊器包括相互嚙合的封邊器凹槽和封邊器凸榫,二者分別縱向設在上、下傳動帶的兩側邊緣上。
按上述技術方案,在機架的底部設有集水箱,集水箱位于整個裝置的正下方。
按上述技術方案,還包括導流槽,在傳送帶重疊段的上方、且非重疊段的下方設置導流槽;倒流槽與集水箱或者外部排水管相連。通過導流槽的設置,避免傳動帶非重疊段的殘余水滴落在傳動帶重疊段上。
本發明具有以下有益效果:
1、設置兩條傳送帶和輥組件,利用輥組件規劃傳送帶的運動軌跡;并在傳送帶上設置彈性封邊器,通過彈性封邊器和輥組件的配合使用,使得兩條傳送帶在進料口和出料口形成一條重疊段,在重疊段的作用下將污泥從進料口輸出至出料口;利用設置重疊段上下兩側的干化機構,擠壓輸送帶重疊段處的污泥,在多組干化機構的依次擠壓下,污泥含水量逐漸減少,成為半干化狀態。本發明較現有污泥的干化過程,所需的設備臺數和占地面積可以大幅減少,非常適合施工場地狹小的城區盾構施工;并且不需要增加輔助物質,在節約成本的同時,也提高了對污泥的干化效率。
2、采用弧面輥筒的嚙合擠壓干化方案,可以連續產生很大的局部擠壓力,比現有的帶式壓濾機和板框壓濾機的干化程度高,無需添加輔助物質,就能滿足要求,實現節約資源和保護環境的效果,同時降低使用成本。
3、采用溝紋輥筒進行低壓干化和弧面輥筒進行高壓干化相結合,充分利用溝紋輥筒表面的螺旋溝槽排水和弧面輥筒的嚙合區域的擠壓干化,相比現有的帶式壓濾機和板框壓濾機的效率要高得多,因此處理同樣的污泥量,所需的設備臺數和占地面積可以大幅減少,非常適合施工場地狹小的城區盾構施工。
4、封邊器的凹槽和凸榫相互嵌的密封方式,相比現有的帶式壓濾機依靠上、下傳送帶貼合密封方式,密封更可靠,不會出現溢流現象。
5、將自動清洗裝置布置在進料口上方,清洗后的污水直接流入進料口,無需配置循環泵,使結構更簡單。
(發明人:尚偉;周賢軍;王永強;劉濤;任進;湯自彪;孫超杰;宋小君;馬瑞強)






