公布日:2023.11.17
申請日:2023.06.29
分類號:C02F9/00(2023.01)I;H01M8/16(2006.01)I;H01M10/46(2006.01)I;H01M16/00(2006.01)I;H02J7/35(2006.01)I;C02F3/30(2023.01)N;C02F1/00(2023.01)N;C02F1/
52(2023.01)N
摘要
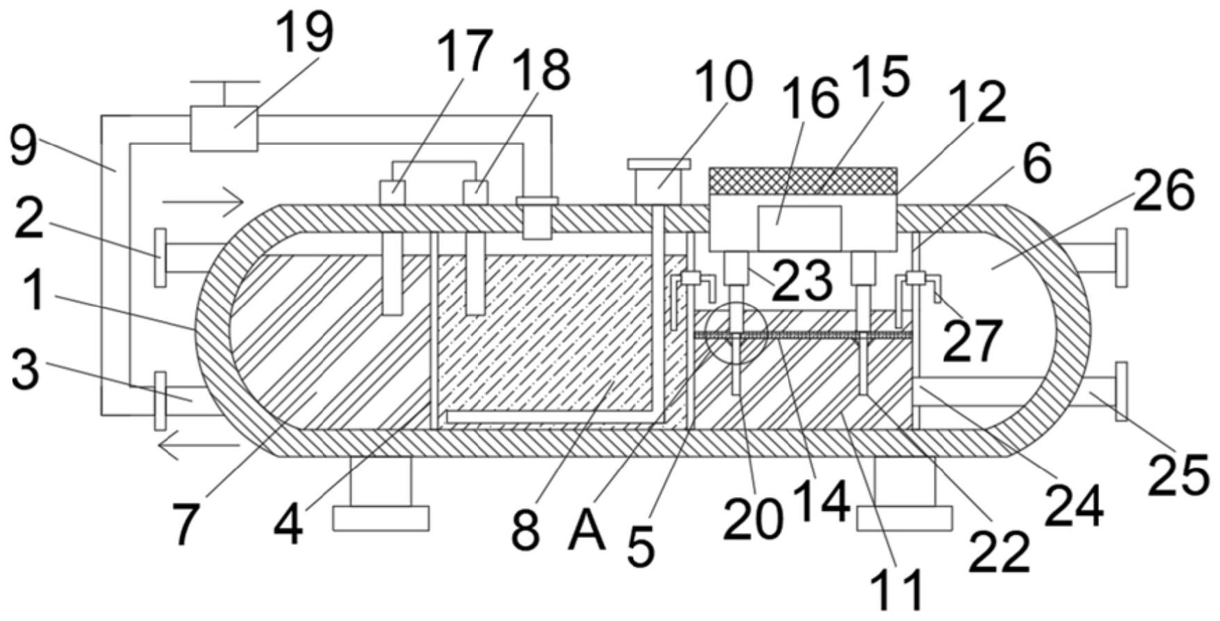
本發明提供一種太陽能小型污水處理裝置,包括污水處理罐,污水處理罐中的第一隔板一側所形成的污水處理罐封閉區域為厭氧池,所述第一隔板與所述第二隔板之間形成好氧池,所述沉淀池頂部設有光伏發電盒,光電發電盒頂部設有光伏發電板,所述光電發電盒內部設有與所述光伏發電板電性相連的蓄電池,所述蓄電池與沉淀凈化裝置電性相連,所述沉淀凈化裝置向下延伸且穿過濾網,所述第一隔板上設有質子隔離膜,所述厭氧池中設有第一陽極,所述好氧池中設有第一陰極,所述第一陽極、第一陰極之間通過導線相連,且所述導線與所述蓄電池電性相連,所述導線上設有電流監測裝置,所述電流監測裝置與控制單元信號相連,所述控制單元與所述風機泵信號相連。

權利要求書
1.一種太陽能小型污水處理裝置,其特征在于,包括污水處理罐,所述污水處理罐一側設有第一入口以及第一出口,污水處理罐中設有第一隔板、第二隔板以及第三隔板,所述第一隔板一側所形成的污水處理罐封閉區域為厭氧池,所述第一隔板與所述第二隔板之間形成好氧池,所述第一入口以及第一出口均與所述厭氧池相連通,所述第一出口通過回水管與所述好氧池相連,所述好氧池頂部設有風機泵,所述第二隔板與所述第三隔板之間為沉淀池,所述第三隔板一側形成清水池,所述清水池與第二出口相連通,所述沉淀池頂部設有光伏發電盒,所述沉淀池中設有帶有刮板的濾網,所述光電發電盒頂部設有光伏發電板,所述光電發電盒內部設有與所述光伏發電板電性相連的蓄電池,所述蓄電池與沉淀凈化裝置電性相連,所述沉淀凈化裝置向下延伸且穿過濾網,所述第一隔板上設有質子隔離膜,所述厭氧池中設有第一陽極,所述好氧池中設有第一陰極,所述第一陽極、第一陰極之間通過導線相連,且所述導線與所述蓄電池電性相連,所述導線上設有電流監測裝置,所述電流監測裝置與控制單元信號相連,所述控制單元與所述風機泵信號相連。
2.根據權利要求1所述的一種太陽能小型污水處理裝置,其特征在于,所述回水管上設有第一污水泵,所述第一污水泵用于將厭氧池內的污水抽取至所述好氧池。
3.根據權利要求2所述的一種太陽能小型污水處理裝置,其特征在于,所述電流監測裝置包括電流傳感器,所述控制單元基于所述電流傳感器的數據,對所述風機泵的運行功率進行調節。
4.根據權利要求2所述的一種太陽能小型污水處理裝置,其特征在于,所述控制單元中設有評估模塊以及風機泵控制器,所述評估模塊用于根據t時間內的電流傳感器的數據,獲得電流預測曲線,基于電流預測曲線,所述風機泵控制器對所述風機泵的運行功率進行調節,進而調節好氧池內的溶解氧濃度。
5.根據權利要求1所述的一種太陽能小型污水處理裝置,其特征在于,所述沉淀凈化裝置包括第二陰極棒、第二陽極棒以及若干電動伸縮桿,所述蓄電池為所述第二陰極棒、第二陽極棒進行供電,所述第二陰極棒、第二陽極棒均與對應的電動伸縮桿相連,另一端穿過濾網延伸至污水中。
6.根據權利要求5所述的一種太陽能小型污水處理裝置,其特征在于,所述刮板底部呈截面設置,其截面的一端與所述第二陰極棒/第二陽極棒的距離范圍為1cm-3cm,另一端與所述第二陰極棒/第二陽極棒的距離范圍為2cm-4cm。
7.根據權利要求5所述的一種太陽能小型污水處理裝置,其特征在于,所述第三隔板上設有沉淀物出口,所述沉淀物出口與沉淀管相連,所述沉淀管與排污泵相連。
8.根據權利要求5所述的一種太陽能小型污水處理裝置,其特征在于,所述第三隔板上設有凈化出口,所述凈化出口與所述清水池相連通。
9.根據權利要求1所述的一種太陽能小型污水處理裝置,其特征在于,所述風機泵上連接有通氣管,所述通氣管上設有若干通氣噴頭,所述通氣管延伸至所述好氧池底部。
發明內容
本發明的目的在于提供一種太陽能小型污水處理裝置,以解決上述背景技術中提出的問題。
本發明是通過以下技術方案實現的:一種太陽能小型污水處理裝置,包括污水處理罐,所述污水處理罐一側設有第一入口以及第一出口,污水處理罐中設有第一隔板、第二隔板以及第三隔板,所述第一隔板一側所形成的污水處理罐封閉區域為厭氧池,所述第一隔板與所述第二隔板之間形成好氧池,所述第一入口以及第一出口均與所述厭氧池相連通,所述第一出口通過回水管與所述好氧池相連,所述好氧池頂部設有風機泵,所述第二隔板與所述第三隔板之間為沉淀池,所述沉淀池頂部設有光伏發電盒,所述沉淀池中設有帶有刮板的濾網,所述光電發電盒頂部設有光伏發電板,所述光電發電盒內部設有與所述光伏發電板電性相連的蓄電池,所述蓄電池與沉淀凈化裝置電性相連,所述沉淀凈化裝置向下延伸且穿過濾網,所述第一隔板上設有質子隔離膜,所述厭氧池中設有第一陽極,所述好氧池中設有第一陰極,所述第一陽極、第一陰極之間通過導線相連,且所述導線與所述蓄電池電性相連,所述導線上設有電流監測裝置,所述電流監測裝置與控制單元信號相連,所述控制單元與所述風機泵信號相連。
可選的,所述回水管上設有第一污水泵,所述第一污水泵用于將厭氧池內的污水抽取至所述好氧池。
可選的,所述電流監測裝置包括電流傳感器,所述控制單元基于所述電流傳感器的數據,對所述風機泵的運行功率進行調節。
可選的,所述控制單元中設有評估模塊以及風機泵控制器,所述評估模塊用于根據t時間內的電流傳感器的數據,獲得電流預測曲線,基于電流預測曲線,所述風機泵控制器對所述風機泵的運行功率進行調節,進而調節好氧池內的溶解氧濃度。
可選的,所述沉淀凈化裝置包括第二陰極棒、第二陽極棒以及若干電動伸縮桿,所述蓄電池為所述第二陰極棒、第二陽極棒進行供電,所述第二陰極棒、第二陽極棒均與對應的電動伸縮桿相連,另一端穿過濾網延伸至污水中。
可選的,所述刮板底部呈截面設置,其截面的一端與所述第二陰極棒/第二陽極棒的距離范圍為1cm-3cm,另一端與所述第二陰極棒/第二陽極棒的距離范圍為2cm-4cm。
可選的,所述第三隔板上設有沉淀物出口,所述沉淀物出口與沉淀管相連,所述沉淀管與排污泵相連
可選的,所述第三隔板上設有凈化出口,所述凈化出口與所述清水池相連通。
可選的,所述風機泵上連接有通氣管,所述通氣管上設有若干通氣噴頭,所述通氣管延伸至所述好氧池底部。
與現有技術相比,本發明達到的有益效果如下:
本發明提供的一種太陽能小型污水處理裝置,其通過第一隔板、第二隔板、第三隔板將污水處理罐內部分隔成厭氧池、好氧池、沉淀池以及清水池,外部的污水首先進入厭氧池中,在厭氧池中停留一段時間后由回水管輸送至好氧池中,在厭氧池中設置有第一陽極,在好氧池中設有第一陰極,同時在所述第一隔板上設有質子隔離膜,在厭氧池厭氧環境下,有機物在微生物作用下分解并釋放出電子和質子,電子依靠合適的電子傳遞介體在生物組分和第一陽極之間進行有效傳遞,并通過質子隔離膜傳遞到第一陰極形成電流,通過導線將所獲得的電流輸出至蓄電池中進行存儲,通過上述設置,基于燃料電池的原理在進行污水處理的同時獲得電能,同時基于電流監測裝置判斷所獲得的電能曲線趨勢,控制模塊能基于上述電能曲線趨勢判斷好氧池中溶解氧的濃度,基于溶解氧的濃度實現風機泵功率的調節;
經過厭氧池、好氧池處理后的污水進入沉淀池中,在沉淀凈化裝置的作用下,會形成絮狀的沉淀物或膠狀物,并清除有害物質,其所形成的沉淀物或膠狀物會被濾網攔截從而始終處于沉淀池的下方,其處理后的清水部分被輸送至清水并最終沿第二出口向外排放。本申請所保護的一種太陽能小型污水處理裝置,其能源全部來自燃料電池以及光伏電池,其燃料電池以及光伏電池所產生的電能被傳輸儲存在蓄電池的內部以供設備運行使用,其較目前的污水處理裝置而言,其能源供應節能又環保。
(發明人:吳春紅;符明會;陳濤;陳超群;王奕捷)






