公布日:2023.04.04
申請日:2022.10.14
分類號:C02F1/30(2006.01)I
摘要
本發明公開了一種超導電子加速裝置、廢水處理系統和方法,裝置包括機架、設置在機架上的超導腔、屏蔽組件、功率源組件和制冷組件;所述屏蔽組件用于給所述超導腔提供真空環境,所述超導腔設置在屏蔽組件內;所述制冷組件包括伸入屏蔽組件內的一級冷頭和二級冷頭,所述一級冷頭和二級冷頭連接,所述超導腔表面設有導冷塊,所述二級冷頭通過柔性冷鏈與導冷塊連接;所述功率源組件用于向超導腔提供功率,在超導腔內建立射頻電磁場,以對超導腔內的電子束進行加速;所述超導腔體連接有與之相通的真空管道,所述真空管道用于將電子束輸入所述超導腔,以及將電子束從超導腔輸出。本發明裝置結構簡單,成本較低,方便進行維護,廢水處理效果好。

權利要求書
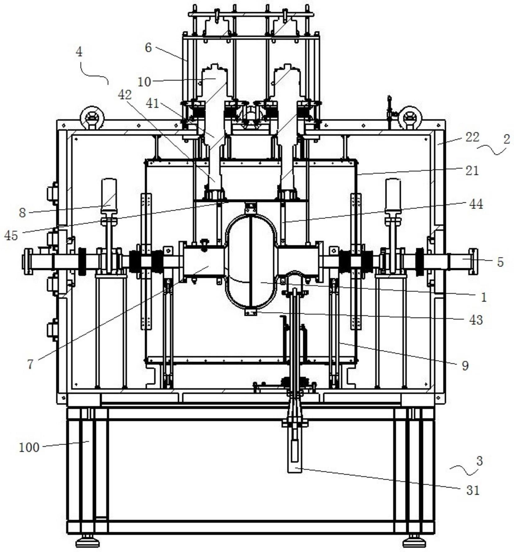
1.一種超導電子加速裝置,其特征在于:包括機架(100)、設置在機架上的超導腔(1)、屏蔽組件(2)、功率源組件(3)和制冷組件(4);所述屏蔽組件用于給所述超導腔提供真空環境,所述超導腔設置在屏蔽組件內;所述制冷組件包括伸入屏蔽組件內的一級冷頭(41)和二級冷頭(42),所述一級冷頭和二級冷頭連接,所述超導腔表面設有導冷塊(43),所述二級冷頭通過柔性冷鏈(44)與導冷塊連接;所述功率源組件用于向超導腔提供功率,在超導腔內建立射頻電磁場,以對超導腔內的電子束進行加速;所述超導腔體連接有與之相通的真空管道(5),所述真空管道用于將電子束輸入所述超導腔,以及將電子束從超導腔輸出。
2.根據權利要求1所述的一種超導電子加速裝置,其特征在于:所述屏蔽組件包括冷屏封閉層(21)、磁屏蔽層和真空罩(22),所述磁屏蔽層設置在超導腔的外圍,所述冷屏封閉層設置在磁屏蔽層和真空罩之間,所述真空罩和超導腔之間形成真空的夾層空間。
3.根據權利要求1所述的一種超導電子加速裝置,其特征在于:所述制冷組件還包括冷板(45),所述二級冷頭與冷板之間連接有第一柔性冷鏈,所述冷板設置在導冷塊的側邊。
4.根據權利要求1所述的一種超導電子加速裝置,其特征在于:所述超導腔的內表面設有膜層,所述膜層采用高溫超導材料。
5.根據權利要求4所述的一種超導電子加速裝置,其特征在于:所述膜層采用Nb3Sn材料。
6.根據權利要求1所述的一種超導電子加速裝置,其特征在于:所述導冷塊采用銅塊,所述導冷塊設有若干塊。
7.根據權利要求2所述的一種超導電子加速裝置,其特征在于:所述真空罩上設有減震器(6)。
8.根據權利要求1所述的一種超導電子加速裝置,其特征在于:所述功率源組件包括耦合器(31)和速調管,所述耦合器一端與速調管連接,另一端與超速腔連接。
9.一種廢水處理系統,其特征在于:包括:電子束流加速系統:包括如權利要求1~8任一所述的超導電子加速裝置,用于將電子束進行加速;電子束流注入系統:用于提供電子束;電子束流傳輸系統:用于將電子束流注入系統輸出的電子束移動到電子束流加速系統,以及將經過電子束流加速系統加速后的電子束移動到電子束流引出系統;以及用于監控電子束的狀態和位置,在電子束進入和離開電子束流加速系統時對電子束進行聚焦;低電平控制系統:用于監控超導電子加速裝置的運行,維持超導腔內的電磁場幅度和相位穩定;真空系統:用于提供真空環境,使真空管道內、超導腔內和屏蔽組件內處在真空狀態;電子束流引出系統:用于將集中分布的電子束掃描成離散分布的電子束,以及將電子束掃描成預設的形狀后照射出去。
10.根據權利要求9所述的一種廢水處理系統,其特征在于:所述電子束流注入系統提供的電子束能量為30keV~500keV,電子束平均流強大于或等于100mA,電子束橫向截面尺寸小于或等于4cm,電子束的頻率處于連續波狀態。
11.根據權利要求9所述的一種廢水處理系統,其特征在于:所述電子束流引出系統包括掃描磁鐵、與掃描磁鐵連接的掃描盒,所述掃描盒內為真空狀態,所述掃描盒上設有讓電子束通過的輻照窗口。
12.根據權利要求9所述的一種廢水處理系統,其特征在于:所述在電子束進入和離開電子束流加速系統時對電子束進行聚焦,具體包括:當電子束進入電子束流加速系統前,進入螺線管進行聚焦,使電子束的橫向截面尺寸≤4cm;當電子束離開電子束流加速系統后,進入螺線管進行聚焦,使電子束的橫向截面尺寸≤5cm。
13.一種廢水處理方法,其特征在于:采用如權利要求9~12任一所述的廢水處理系統來進行廢水處理。
發明內容
為了解決超導電子加速器的結構復雜,價格昂貴,導致廢水處理成本增加的問題,本發明提供一種超導電子加速裝置、廢水處理系統和方法。
一種超導電子加速裝置,包括機架、設置在機架上的超導腔、屏蔽組件、功率源組件和制冷組件;
所述屏蔽組件用于給所述超導腔提供真空環境,所述超導腔設置在屏蔽組件內;
所述制冷組件包括伸入屏蔽組件內的一級冷頭和二級冷頭,所述一級冷頭和二級冷頭連接,所述超導腔表面設有導冷塊,所述二級冷頭通過柔性冷鏈與導冷塊連接;
所述功率源組件用于向超導腔提供功率,在超導腔內建立射頻電磁場,以對超導腔內的電子束進行加速;
所述超導腔體連接有與之相通的真空管道,所述真空管道用于將電子束輸入所述超導腔,以及將電子束從超導腔輸出。結構簡單、成本較低,方便維護,應用范圍廣。
可選的,所述屏蔽組件包括冷屏封閉層、磁屏蔽層和真空罩,所述磁屏蔽層設置在超導腔的外圍,所述冷屏封閉層設置在磁屏蔽層和真空罩之間,所述真空罩和超導腔之間形成真空的夾層空間。屏蔽組件為超導腔屏蔽掉干擾,避免對電子束移動造成干擾。
可選的,所述制冷組件還包括冷板,所述二級冷頭與冷板之間連接有第一柔性冷鏈,所述冷板設置在導冷塊的側邊。制冷組件的制冷效果好、成本低。
可選的,所述超導腔的內表面設有膜層,所述膜層采用高溫超導材料。高溫超導材料的超導腔工作穩定性好。
可選的,所述膜層采用Nb3Sn材料。
可選的,所述導冷塊采用銅塊,所述導冷塊設有若干塊。通過固體傳遞熱量的方式實現超導腔的冷卻。
可選的,所述真空罩上設有減震器。減小制冷組件振動對超導腔的影響。
可選的,所述功率源組件包括耦合器和速調管,所述耦合器一端與速調管連接,另一端與超速腔連接。功率源組件為超導腔提供功率。
一種廢水處理系統,包括:
電子束流加速系統:包括超導電子加速裝置,用于將電子束進行加速;
電子束流注入系統:用于提供電子束;
電子束流傳輸系統:用于將電子束流注入系統輸出的電子束移動到電子束流加速系統,以及將經過電子束流加速系統加速后的電子束移動到電子束流引出系統;以及用于監控電子束的狀態和位置,在電子束進入和離開電子束流加速系統時對電子束進行聚焦;
低電平控制系統:用于監控超導電子加速裝置的運行,維持超導腔內的電磁場幅度和相位穩定;
真空系統:用于提供真空環境,使真空管道內、超導腔內和屏蔽組件內處在真空狀態;
電子束流引出系統:用于將集中分布的電子束掃描成離散分布的電子束,以及將電子束掃描成預設的形狀后照射出去。廢水處理系統的成本較低,有利于降低廢水處理成本,系統工作容易控制,穩定性好。
可選的,所述電子束流注入系統提供的電子束能量為30keV~500keV,電子束平均流強大于或等于100mA,電子束橫向截面尺寸小于或等于4cm,電子束的頻率處于連續波狀態。廢水處理效果好。
可選的,所述電子束流引出系統包括掃描磁鐵、與掃描磁鐵連接的掃描盒,所述掃描盒內為真空狀態,所述掃描盒上設有讓電子束通過的輻照窗口。提高廢水處理的效果。
可選的,所述在電子束進入和離開電子束流加速系統時對電子束進行聚焦,具體包括:
當電子束進入電子束流加速系統前,進入螺線管進行聚焦,使電子束的橫向截面尺寸≤4cm;
當電子束離開電子束流加速系統后,進入螺線管進行聚焦,使電子束的橫向截面尺寸≤5cm。有效避免電子束損失在超導腔內表面。
一種廢水處理方法,采用所述廢水處理系統來進行廢水處理。廢水處理效果好、效率高、成本較低。
與現有技術相比,本發明的有益效果在于:本發明提供一種超導電子加速裝置,用于對電子束進行加速,可應用在廢水處理領域,該裝置加速的電子束流強高,提高廢水處理的效率;超導電子加速裝置中設有制冷組件,通過固體傳導的方式對超導腔進行冷卻,使超導腔在低溫下穩定運行,無需將超導腔浸泡在液氦中冷卻,省去了價格昂貴、占地規模大的液氦低溫站,能夠顯著降低超導電子加速裝置的應用難度,大大拓展其應用范圍;本裝置結構簡單、緊湊,占地面積小,降低了成本,方便進行維護。
本發明提供一種廢水處理系統,電子束流加速系統能夠使電子束加速,超導電子加速裝置的成本較低,應用范圍廣;電子束流傳輸系統能夠控制電子束移動,監控電子束的狀態和位置;低電平控制系統監控超導電子加速裝置的運行,維持超導腔內的電磁場幅度和相位穩定;電子束流引出系統能夠將電子束掃描成預設的形狀后照射出去;廢水處理系統對廢水處理效率高、效果好。
本發明提供一種廢水處理系統,電子束流加速系統能夠使電子束加速,超導電子加速裝置的成本較低,應用范圍廣,有利于降低廢水處理的成本,提高廢水處理效率。
(發明人:何源;楊自欽;張軍輝;蔣天才;白峰;李春龍;王志軍;李璐;邱豐;劉魯北;張升學;徐孟鑫;郭浩;孫列鵬;高鄭;陳奇;張生虎;王玥)






