公布日:2023.03.07
申請日:2022.12.30
分類號:E03F5/04(2006.01)I;E03F5/10(2006.01)I;E03F5/14(2006.01)I;E03F3/04(2006.01)I;E03F7/02(2006.01)I;E03F1/00(2006.01)I
摘要
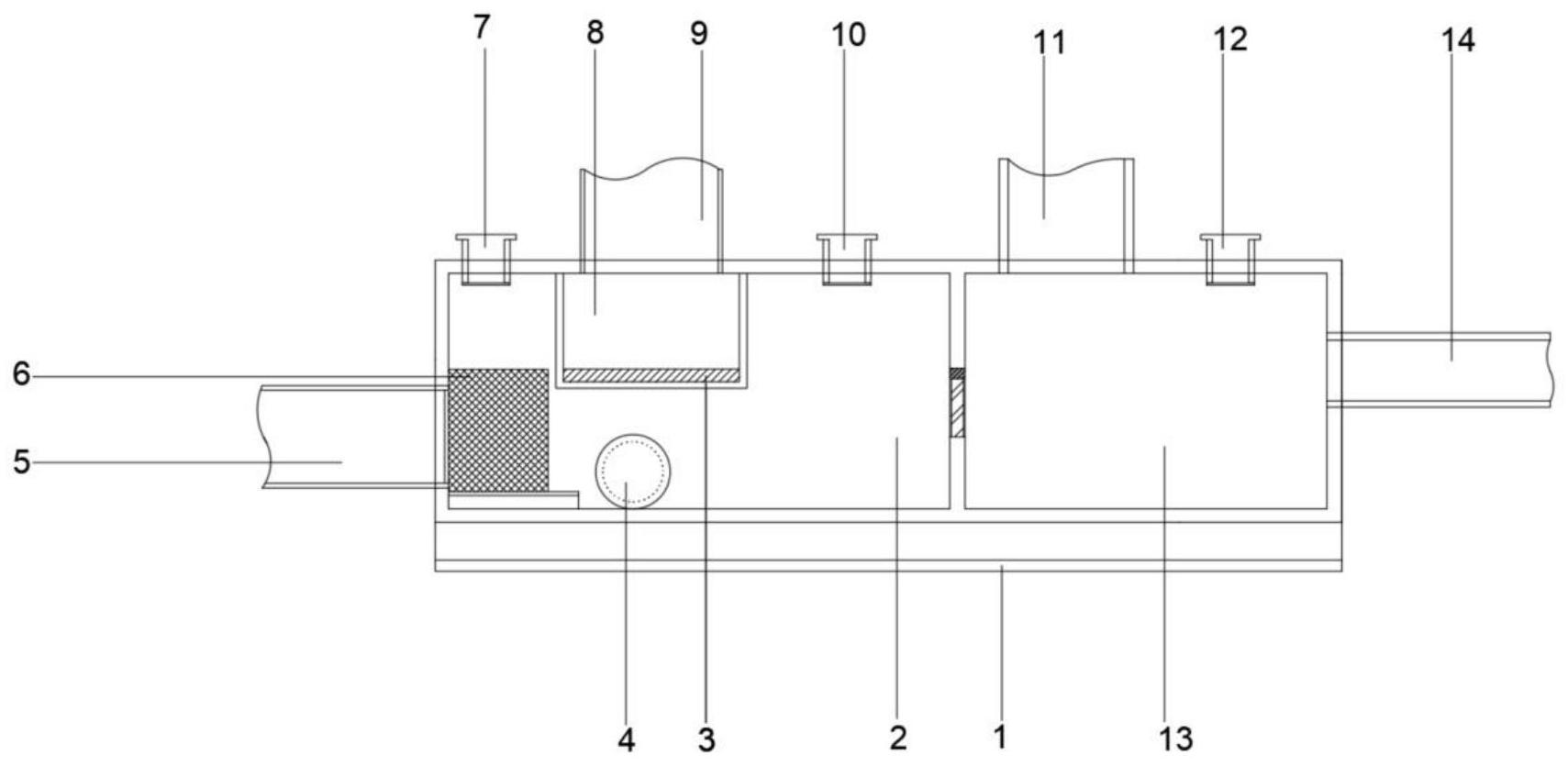
本發明涉及節流井、分流井技術領域,尤其涉及一種用于節流井、分流井安裝的一體式集成裝置,包括井體、第一腔室與第二腔室,所述井體的內部設置有第一腔室,第一腔室的一側設置有雨水進水管,第一腔室的上端設置有雨水截流管,雨水截流管的下端固定連接溢流槽,第一腔室的一側設置有第二腔室。通過本裝置,外部蓄水池中的雨水從雨水進水管流入井體內的第一腔室,當第一腔室內的雨水達到設計水位后,第一腔室與第二腔室之間的阻水板通過轉軸開啟,第一腔室內的雨水流入第二腔室,再通過第二腔室上的第一雨水出水管與第二雨水出水管14排出雨水,實現了治理積水,過濾污泥,有效減少內澇的目的。

權利要求書
1.一種用于節流井、分流井安裝的一體式集成裝置,包括井體(1)、第一腔室(2)與第二腔室(13),其特征在于,所述井體(1)的內部設置有第一腔室(2),第一腔室(2)的一側設置有雨水進水管(5),第一腔室(2)的上端設置有雨水截流管(9),雨水截流管(9)的下端固定連接溢流槽(8),第一腔室(2)的一側設置有第二腔室(13)。
2.根據權利要求1所述的一種用于節流井、分流井安裝的一體式集成裝置,其特征在于,所述溢流槽(8)的下端設置有溢流堰(3)。
3.根據權利要求1所述的一種用于節流井、分流井安裝的一體式集成裝置,其特征在于,所述雨水進水管(5)的一側設置有截污箱體(6)。
4.根據權利要求1所述的一種用于節流井、分流井安裝的一體式集成裝置,其特征在于,所述第一腔室(2)的內部設置有分流管(4)。
5.根據權利要求1所述的一種用于節流井、分流井安裝的一體式集成裝置,其特征在于,所述第一腔室(2)與第二腔室(13)之間設置有固定塊(15),固定塊(15)的下端通過轉軸(16)連接阻水板(17)。
6.根據權利要求1所述的一種用于節流井、分流井安裝的一體式集成裝置,其特征在于,所述第二腔室(13)的上端設置有第一雨水出水管(11),第二腔室(13)的一側設置有第二雨水出水管(14)。
7.根據權利要求1所述的一種用于節流井、分流井安裝的一體式集成裝置,其特征在于,所述第一腔室(2)的上端設置有第一檢修孔(7)與第二檢修孔(10),第二腔室(13)的上端設置有第三檢修孔(12)。
發明內容
本發明的目的在于提供一種用于節流井、分流井安裝的一體式集成裝置,以解決上述背景技術中提出的無法高效的進行排澇、治理雨水,并且不能過濾雨水中的污泥的問題。
為了實現上述目的,本發明采用了如下技術方案:
一種用于節流井、分流井安裝的一體式集成裝置,包括井體、第一腔室與第二腔室,所述井體的內部設置有第一腔室,第一腔室的一側設置有雨水進水管,第一腔室的上端設置有雨水截流管,雨水截流管的下端固定連接溢流槽,第一腔室的一側設置有第二腔室。
作為一種優選的技術方案,所述溢流槽的下端設置有溢流堰。
作為一種優選的技術方案,所述雨水進水管的一側設置有截污箱體(6)。
作為一種優選的技術方案,所述第一腔室的內部設置有分流管。
作為一種優選的技術方案,所述第一腔室與第二腔室之間設置有固定塊,固定塊的下端通過轉軸連接阻水板。
作為一種優選的技術方案,所述第二腔室的上端設置有第一雨水出水管,第二腔室的一側設置有第二雨水出水管。
作為一種優選的技術方案,所述第一腔室的上端設置有第一檢修孔與第二檢修孔,第二腔室的上端設置有第三檢修孔。
本發明的有益效果是:
通過本裝置,外部蓄水池中的雨水從雨水進水管流入井體內的第一腔室,當第一腔室內的雨水達到設計水位后,第一腔室與第二腔室之間的阻水板通過轉軸開啟,第一腔室內的雨水流入第二腔室,再通過第二腔室上的第一雨水出水管與第二雨水出水管14排出雨水,雨水進水管一側的截污箱體可以有效過濾外部蓄水池中雨水內的污泥進入第一腔室,實現了治理積水,過濾污泥,有效減少內澇的目的。
(發明人:吳磊)






