申請日2013.09.22
公開(公告)日2013.12.25
IPC分類號C02F9/14; C02F1/52; C02F1/04; C02F1/44; C02F1/42
摘要
一種污水資源化綜合處理系統,其至少包括依次連接的預沉淀過濾器、生物再生型銨離子交換裝置、操作壓力為1-4兆帕的中低壓反滲透處理裝置、厭氧生化反應裝置、混合生化反應裝置和后沉淀過濾器。本發明所提供的污水資源化綜合處理系統,通過利用改進的高回收率膜系統組合多種生化工藝,在去除污染物同時生產高質量軟化水。不但解決了濃水與氨氮處理問題,而且將有機物、氮、磷、硫、鎂等污染物資源化。
權利要求書
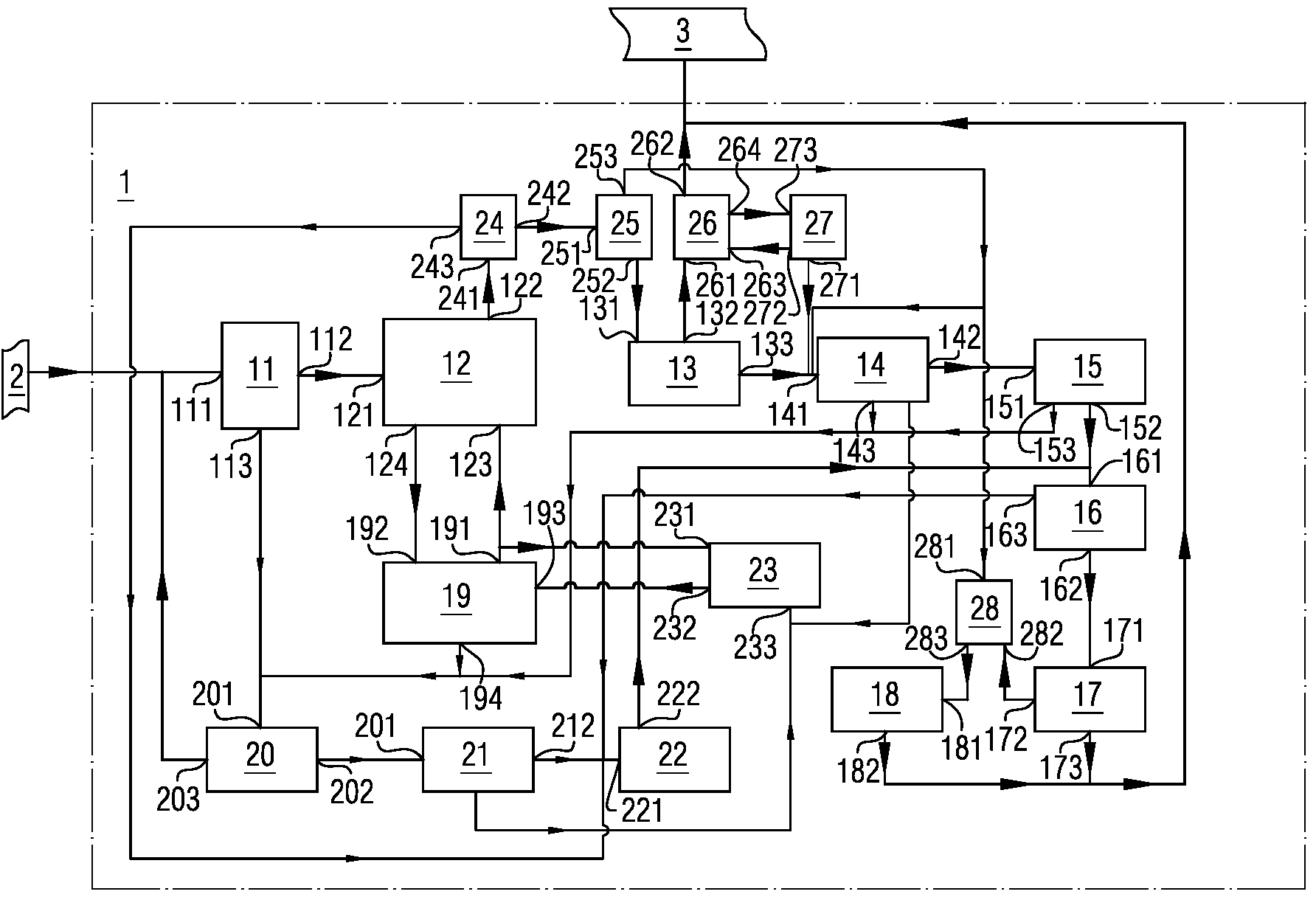
1.一種污水資源化綜合處理系統,其特征在于,其至少包括預沉淀過濾器、生物再 生型銨離子交換裝置、操作壓力為1-4兆帕的中低壓反滲透處理裝置、厭氧生化反應裝置、 混合生化反應裝置和后沉淀過濾器,其中,市政或工業污水管網通過管道與所述預沉淀過 濾器的入口相連,所述預沉淀過濾器的出口通過管道與所述生物再生型銨離子交換裝置的 入口相連,所述生物再生型銨離子交換裝置的出口通過管道與所述中低壓反滲透處理裝置 的入口相連,所述中低壓反滲透處理裝置的凈化水出口通過管道與工業供水管網相連,所 述中低壓反滲透處理裝置的濃縮廢水出口通過管道與所述厭氧生化反應裝置的入口相連, 所述厭氧生化反應裝置的出口通過管道與所述混合生化反應裝置的入口相連,所述混合生 化反應裝置的出口通過管道與所述后沉淀過濾器的入口相連,所述后沉淀過濾器的出口與 市政排水管道相連。
2.如權利要求1所述的污水資源化綜合處理系統,其特征在于,所述污水資源化綜 合處理系統進一步包括鹽水濃縮器和蒸發結晶器,所述后沉淀過濾器的出口通過管道與所 述鹽水濃縮器的入口相連,所述鹽水濃縮器的濃縮水出口與所述蒸發結晶器的入口相連, 所述鹽水濃縮器的脫鹽水出口與所述蒸發結晶器的脫鹽水出口分別與工業供水管網相連。
3.如權利要求2所述的污水資源化綜合處理系統,其特征在于,所述污水資源化綜 合處理系統進一步包括生物再生裝置,所述生物再生型銨離子交換裝置進一步包括一個再 生液入口和一個再生廢液出口,所述生物再生裝置的再生液出口與所述生物再生型銨離子 交換裝置的再生液入口通過管道連接,所述生物再生裝置的再生廢液入口與所述生物再生 型銨離子交換裝置的再生廢液出口通過管道連接。
4.如權利要求3所述的污水資源化綜合處理系統,其特征在于,所述污水資源化綜 合處理系統進一步包括有機泥濃縮器、有機泥消化器以及無機泥脫水機,所述預沉淀過濾 器、所述厭氧生化反應裝置、混合生化反應裝置、生物再生裝置的排泥口分別通過管道與 所述有機泥濃縮器的入口相連,所述有機泥濃縮器的濃縮泥出口與所述有機泥消化器的進 泥口相連,所述有機泥消化器的排泥口通過管道與所述無機泥脫水機的入口相連,所述有 機泥濃縮器的廢水出口通過管道與所述預沉淀過濾器的入口相連,所述后沉淀過濾器的排 泥口通過管道與所述無機泥脫水機的入口相連,所述無機泥脫水機的廢水出口通過管道與 所述后沉淀過濾器的入口相連。
5.如權利要求4所述的污水資源化綜合處理系統,其特征在于,所述污水資源化綜 合處理系統進一步包括洗氣脫硫裝置,所述生物再生裝置的再生液出口與所述洗氣脫硫裝 置的吸收液入口通過管道相連,所述洗氣脫硫裝置的含硫廢液出口與所述生物再生裝置的 含硫廢液入口相連,所述有機泥消化器的沼氣出口以及所述厭氧生化反應裝置的沼氣出口 分別與所述洗氣脫硫裝置進氣口相連。
6.如權利要求5所述的污水資源化綜合處理系統,其特征在于,所述污水資源化綜 合處理系統進一步包括預軟化處理器、陽床軟化裝置、化學再生型銨離子交換裝置、化學 再生裝置、結晶除磷器,所述預軟化處理器入水口與所述生物再生型銨離子交換裝置出口 相連,所述預軟化處理器出水口與所述陽床軟化裝置入水口相連,所述預軟化處理器的排 泥口與所述無機泥脫水機的入口相連,所述陽床軟化裝置出水口與所述中低壓反滲透處理 裝置的入口相連,所述陽床軟化裝置的再生廢液出口分別與所述厭氧生化反應裝置的入口 及所述結晶除磷器的加藥口相連,所述結晶除磷器入口與所述鹽水濃縮器濃縮水出口相 連,所述結晶除磷器出水口與所述蒸發結晶器的入水口相連,所述結晶除磷器的排泥口排 除鳥糞石作為緩釋肥料農用,所述中低壓反滲透裝置凈化水出口通過管道與所述化學再生 型銨離子交換裝置入口相連,所述化學再生型銨離子交換裝置凈化水出口通過管道與市政 工業回用水管網相連,所述化學再生型銨離子交換裝置再生液及廢液入出口分別與化學再 生裝置再生液及廢液出、入口通過管道連接,所述化學再生裝置的氨水出口與所述厭氧生 化反應裝置的入口通過管道相連。
說明書
一種污水資源化綜合處理系統
技術領域
本發明涉及污水處理裝置,尤其是一種污水資源化綜合處理系統。
背景技術
污水中含有以有機物,氮,磷,重金屬,細菌為代表的污染物,通常通過物理,化學, 生物三種方式將這些污染物去除,降低其排入水環境的影響。
當前常用的常規反滲透處理方法,目前只能適合有機物含量較低的三級以上的中水處 理,可獲得相對較高的回收率,設計膜通量通常為標準通量的一半以下,在獲得高回收率 的同時,需要每月一次的清洗頻度,需要增加膜的用量及能量損耗。大量生化性差的濃水 處理是反滲透工藝比較頭疼的問題,常規反滲透裝置的濃水中含有非氧化性殺菌劑,且有 機物含量低,鹽濃度高,難以生化,一直是業界的處理難題。
1992年,Fan Sheng.Tao等在研究油田回注水處理方面提出了提高反滲透回收率與脫 鹽率的新方法,并與1993年取得了US5,250,185美國專利,但采用該方法的濃水處理采 用的是深井注射方式,仍然未能根本解決濃水處理與二次污染問題。
US6,537,456美國專利在US5,250,185美國專利基礎上進行了改進,其通過脫除堿度 的方式降低提升pH的藥劑使用量及裝置的結垢風險。
上述兩個專利所提供的方法雖然已經有成熟的工程應用,但對于因pH升高導致的凈 化出水氨氮偏高問題,并沒有考慮及提出處置方法。且對于系統的濃水,雖然通過提高回 收率,降低了排放的水量,但處理的方法有限,深井注射產生了二次的液體污染,蒸發結 晶只是將污染物從液體轉移到了固體廢棄物,也未能根本上解決問題。
發明內容
本發明要解決的技術問題是提供一種污水資源化綜合處理系統,以減少或避免前面所 提到的問題。
具體來說,為解決上述技術問題,本發明的污水資源化綜合處理系統至少包括預沉淀 過濾器、生物再生型銨離子交換裝置、操作壓力為1-4兆帕的中低壓反滲透處理裝置、厭 氧生化反應裝置、混合生化反應裝置和后沉淀過濾器,其中,市政或工業污水管網通過管 道與所述預沉淀過濾器的入口相連,所述預沉淀過濾器的出口通過管道與所述生物再生型 銨離子交換裝置的入口相連,所述生物再生型銨離子交換裝置的出口通過管道與所述中低 壓反滲透處理裝置的入口相連,所述中低壓反滲透處理裝置的凈化水出口通過管道與工業 供水管網相連,所述中低壓反滲透處理裝置的濃縮廢水出口通過管道與所述厭氧生化反應 裝置的入口相連,所述厭氧生化反應裝置的出口通過管道與所述混合生化反應裝置的入口 相連,所述混合生化反應裝置的出口通過管道與所述后沉淀過濾器的入口相連,所述后沉 淀過濾器的出口與市政排水管道相連。
優選地,所述污水資源化綜合處理系統進一步包括鹽水濃縮器和蒸發結晶器,所述后 沉淀過濾器的出口通過管道與所述鹽水濃縮器的入口相連,所述鹽水濃縮器的濃縮水出口 與所述蒸發結晶器的入口相連,所述鹽水濃縮器的脫鹽水出口與所述蒸發結晶器的脫鹽水 出口分別與工業供水管網相連。
優選地,所述污水資源化綜合處理系統進一步包括生物再生裝置,所述生物再生型銨 離子交換裝置進一步包括一個再生液入口和一個再生廢液出口,所述生物再生裝置的再生 液出口與所述生物再生型銨離子交換裝置的再生液入口通過管道連接,所述生物再生裝置 的再生廢液入口與所述生物再生型銨離子交換裝置的再生廢液出口通過管道連接。
優選地,所述污水資源化綜合處理系統進一步包括有機泥濃縮器、有機泥消化器以及 無機泥脫水機,所述預沉淀過濾器、所述厭氧生化反應裝置、混合生化反應裝置、生物再 生裝置的排泥口分別通過管道與所述有機泥濃縮器的入口相連,所述有機泥濃縮器的濃縮 泥出口與所述有機泥消化器的進泥口相連,所述有機泥消化器的排泥口通過管道與所述無 機泥脫水機的入口相連,所述有機泥濃縮器的廢水出口通過管道與所述預沉淀過濾器的入 口相連,所述后沉淀過濾器的排泥口通過管道與所述無機泥脫水機的入口相連,所述無機 泥脫水機的廢水出口通過管道與所述后沉淀過濾器的入口相連。
優選地,所述污水資源化綜合處理系統進一步包括洗氣脫硫裝置,所述生物再生裝置 的再生液出口與所述洗氣脫硫裝置的吸收液入口通過管道相連,所述洗氣脫硫裝置的含硫 廢液出口與所述生物再生裝置的含硫廢液入口相連,所述有機泥消化器的沼氣出口以及所 述厭氧生化反應裝置的沼氣出口分別與所述洗氣脫硫裝置進氣口相連。
優選地,所述污水資源化綜合處理系統進一步包括預軟化處理器、陽床軟化裝置、化 學再生型銨離子交換裝置、化學再生裝置、結晶除磷器,所述預軟化處理器入水口與所述 生物再生型銨離子交換裝置出口相連,所述預軟化處理器出水口與所述陽床軟化裝置入水 口相連,所述預軟化處理器的排泥口與所述無機泥脫水機的入口相連,所述陽床軟化裝置 出水口與所述中低壓反滲透處理裝置的入口相連,所述陽床軟化裝置的再生廢液出口分別 與所述厭氧生化反應裝置的入口及所述結晶除磷器的加藥口相連,所述結晶除磷器入口與 所述鹽水濃縮器濃縮水出口相連,所述結晶除磷器出水口與所述蒸發結晶器的入水口相 連,所述結晶除磷器的排泥口排除鳥糞石作為緩釋肥料農用,所述中低壓反滲透裝置凈化 水出口通過管道與所述化學再生型銨離子交換裝置入口相連,所述化學再生型銨離子交換 裝置凈化水出口通過管道與市政工業回用水管網相連。所述化學再生型銨離子交換裝置再 生液及廢液入出口分別與化學再生裝置再生液及廢液出、入口通過管道連接,所述化學再 生裝置的氨水出口與所述厭氧生化反應裝置的入口通過管道相連。
本發明所提供的一種污水資源化綜合處理系統,通過利用改進的高回收率膜裝置組合 多種生化工藝,在去除污染物同時生產高質量軟化水。不但解決了濃水與氨氮處理問題, 而且將有機物、氮、磷、硫、鎂等污染物資源化,可將90%以上污水高質量回用,將污染 物排放當量進一步減少90%以上,并使系統占地相對常規工藝節省90%以上。







