申請日2013.08.27
公開(公告)日2013.12.11
IPC分類號F16K51/00; F16K7/07
摘要
防倒吸真空排污閥,包括閥體、控制機構、引氣管,閥體的出口連接真空系統,閥體內設置密封腔,引氣管連接閥體出口與密封腔,密封腔內設置控制進口與出口連通和斷開的控制機構,還包括防倒吸裝置,防倒吸裝置包括氣水分離座,氣水分離座內部為兩段空腔,下段空腔為氣水通道,氣水通道與閥體出口接通,上段空腔為分離腔,分離腔與引氣管接通,分離腔的橫截面面積均大于氣水通道的橫截面面積。還相應提供了真空集污系統。
權利要求書
1.防倒吸真空排污閥,其特征在于:包括閥體、控制機構、引氣管,閥體的出口連接真空系統,閥體內設置密封腔,引氣管連接閥體出口與密封腔,密封腔內設置控制進口與出口連通和斷開的控制機構,還包括防倒吸裝置,防倒吸裝置包括氣水分離座,氣水分離座內部為兩段空腔,下段空腔為氣水通道,氣水通道與閥體出口接通,上段空腔為分離腔,分離腔與引氣管接通,分離腔的橫截面面積均大于氣水通道的橫截面面積。
2. 根據權利要求1所述的防倒吸真空排污閥,其特征在于:所述氣水分離座的分離腔、氣水通道均為圓柱形腔體,所述氣水通道內壁與分離腔內壁連接處由倒角過渡。
3. 根據權利要求1或2所述的防倒吸真空排污閥,其特征在于:所述防倒吸裝置還包括引氣接頭,引氣接頭的下部連接氣水分離座的上部,引氣接頭上部連接引氣管,引氣接頭內帶有孔腔,孔腔接通分離腔和引氣管。
4. 根據權利要求3所述的防倒吸真空排污閥,其特征在于:所述引氣接頭內的孔腔與氣水分離座的分離腔的接口處設置擋水板,擋水板上設置多個通孔,通孔連通孔腔和分離腔。
5. 根據權利要求4所述的防倒吸真空排污閥,其特征在于:所述引氣接頭內的孔腔為圓形,擋水板為圓盤狀。
6. 根據權利要求1或2所述的防倒吸真空排污閥,其特征在于:所述閥體進口、出口由軟管連接,軟管內部通道由彈性活動機構控制連通與阻斷。
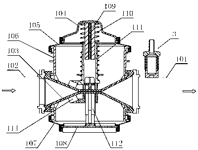
7. 根據權利要求6所述的防倒吸真空排污閥,其特征在于:所述彈性活動機構包括壓簧、壓簧座、導桿、滑架、下架;導桿的上端與閥體上部固定,下端插入壓簧座,導桿可伸出或縮回壓簧座內,壓簧套在導桿和壓簧座外,壓簧座的底部固定在下架的頂梁,下架的底部與閥體底部固定;滑架的上端與閥體上部固定,滑架下端帶有橫桿,滑架的立柱套在下架外并可上下滑動,并且下架頂梁在滑架橫桿上方,軟管置于橫桿和頂梁之間,滑架相對下架滑動上下滑動而阻斷或連通軟管內部通道。
8. 根據權利要求7所述的防倒吸真空排污閥,其特征在于:所述閥體包括上蓋、上模板、殼體、下模板、底座;上蓋、上模板、殼體、下模板、底座依次連接,形成密封腔,上蓋中設置氣口,引氣管連接氣口,上模板、下模板均為彈性材料制成,導桿的上端與上蓋固定,下架的底部與底座固定。
9. 一種真空集污系統,包括真空泵、真空排污管、排污閥、吸污管、便池、控制單元、按鈕;真空泵與真空排污管、真空排污閥、吸污管、便池接通,真空泵抽取真空排污管內的空氣后,在壓力作用下,真空泵抽取便池中的污水,真空排污閥可接通或阻斷排污管路,按鈕可啟閉控制單元內的電磁氣閥,控制引氣管的通、斷,其特征在于:所述排污閥為如權利要求1至8所述的任一項防倒吸真空排污閥。
說明書
防倒吸真空排污閥及真空集污系統
技術領域
本發明涉及排污閥及真空集污系統,尤其涉及一種用于泵式真空集污系統的真空排污閥。
背景技術
集便器等集污系統已被廣泛應用于飛機、列車、流動廁所等,泵式真空集污系統是其中的一種集污系統,主要采用真空泵抽取蹲便器、便池內的污水,排污閥設置在排污管路上,控制排污管路的通、斷,目前的排污閥類型較多,有電動閥、氣動閥等,也出現了利用真空源驅動的排污閥,這類排污閥內帶有密閉腔囊,采用引氣管路將密閉腔囊與真空系統接通,腔囊被抽真空后,腔囊收縮,依靠腔囊內部的彈性部件的移動阻隔排污閥內的管路。
但這類帶有腔囊的排污閥接入真空系統后,存在許多缺陷,首先,真空系統即與排污管接通,又與引氣管接通,當排污閥內的腔囊的氣壓改變時,由于壓力作用,排污管內的污水會通過真空系統、引氣管被倒吸進入腔囊,污水會影響排污閥通、斷管路的效果,而且污水具有腐蝕性,會腐蝕腔囊內的零部件;另外,排污閥內的彈性組件移動時,只能沿排污閥內管路的一側阻擋截流,影響截斷污水流的效果。
發明內容
本發明所要解決的技術問題是克服現有技術的上述不足而提供防倒吸真空排污閥,并可防止污水經過引氣管進入閥體密封腔內,并改進排污閥內的機構,上下擠壓排污軟管,截流效果好。
本發明還提供了一種真空集污系統,使其排污效果更好。
本發明解決上述問題所采用的技術方案為:防倒吸真空排污閥,包括閥體、控制機構、引氣管,閥體的出口連接真空系統,閥體內設置密封腔,引氣管連接閥體出口與密封腔,密封腔內設置控制進口與出口連通和斷開的控制機構,還包括防倒吸裝置,防倒吸裝置包括氣水分離座,氣水分離座內部為兩段空腔,下段空腔為氣水通道,氣水通道與閥體出口接通,上段空腔為分離腔,分離腔與引氣管接通,分離腔的橫截面面積均大于氣水通道的橫截面面積。
更好地,所述氣水分離座的分離腔、氣水通道均為圓柱形腔體,所述氣水通道內壁與分離腔內壁連接處由倒角過渡。
更好地,所述防倒吸裝置還包括引氣接頭,引氣接頭的下部連接氣水分離座的上部,引氣接頭上部連接引氣管,引氣接頭內帶有孔腔,孔腔接通分離腔和引氣管。
更好地,所述引氣接頭內的孔腔與氣水分離座的分離腔的接口處設置擋水板,擋水板上設置多個通孔,通孔連通孔腔和分離腔。
更好地,所述引氣接頭內的孔腔為圓形,擋水板為圓盤狀。
更好地,所述閥體進口、出口由軟管連接,軟管內部通道由彈性活動機構控制連通與阻斷。
更好地,所述彈性活動機構包括壓簧、壓簧座、導桿、滑架、下架;導桿的上端與閥體上部固定,下端插入壓簧座,導桿可伸出或縮回壓簧座內,壓簧套在導桿和壓簧座外,壓簧座的底部固定在下架的頂梁,下架的底部與閥體底部固定;滑架的上端與閥體上部固定,滑架下端帶有橫桿,滑架的立柱套在下架外并可上下滑動,并且下架頂梁在滑架橫桿上方,軟管置于橫桿和頂梁之間,滑架相對下架滑動上下滑動而阻斷或連通軟管內部通道。
所述閥體包括上蓋、上模板、殼體、下模板、底座;上蓋、上模板、殼體、下模板、底座依次連接,形成密封腔,上蓋中設置氣口,引氣管連接氣口,上模板、下模板均為彈性材料制成,導桿的上端與上蓋固定,下架的底部與底座固定。
還提供一種真空集污系統,包括真空泵、真空排污管、排污閥、吸污管、便池、控制單元、按鈕;真空泵與真空排污管、真空排污閥、吸污管、便池接通,真空泵抽取真空排污管內的空氣后,在壓力作用下,真空泵抽取便池中的污水,真空排污閥可接通或阻斷排污管路,按鈕可啟閉控制單元內的電磁氣閥,控制引氣管的通、斷,其特征在于:所述排污閥為如權利要求1至8所述的任一項防倒吸真空排污閥。
本發明的優點在于:1、引氣管與閥體出口接通處設置防倒吸裝置,防倒吸裝置的氣水分離座的內部空腔為上大下小的結構,當閥體密封腔中與軟管內的氣壓不一致時,軟管等排污管管路內的氣水混合物通過氣水通道進入分離腔,此時,由于分離腔的截面積相比與氣水通道大,因空氣與污水比重不一樣,導致兩者的上升速度無法保持一致,從而使空氣與污水分離,空氣進入引氣管,而污水則會回流入排污管;2、引氣接頭與氣水分離座之間設置擋水板,空氣可穿過擋水板上的通孔,增強空氣、污水的分離效果,氣水通道內壁與分離腔內壁連接處設置倒角,依靠倒角過渡,氣水分離座內部形成漏斗狀,便于污水回流;3、閥體的上蓋、上模板、殼體、下模板、底座組成密封腔,當密封腔內的氣壓降低后,密封腔上下收縮,固定于上蓋的滑架向下移動,固定于底座的下架向上移動,壓簧被壓縮,使滑架的橫桿與下架的頂梁間的間隙增大,軟管管壁外擴,打開排污管路,當密封腔氣壓增大后,在壓簧回復力作用下,密封腔擴張,上蓋帶動滑架上移,滑架橫桿與下架頂梁相向移動,軟管的上部、下部同時被擠壓,阻斷排污管路,截流效果好;4、下架的頂梁與軟管的外壁的上部固定,滑架的橫桿與軟管的外壁的下部固定,這樣在頂梁、橫桿相對移動的同時,軟管的上壁、下壁與隨頂梁、橫桿一體移動。







