申請日2013.08.27
公開(公告)日2014.01.15
IPC分類號F04C29/04
摘要
本實用新型涉及一種冷卻塔為羅茨水環真空機組降溫系統,通過采用冷卻塔冷水對羅茨水環真空機組蓄水箱中水進行冷卻置換,被置換出的水通過水箱溢流管路匯集至一條具有傾斜坡度的總管路,借助重力作用,被置換出的水流入低點總匯集水箱,再通過循環泵輸送至冷卻塔進行循環降溫。利用本實用新型可以有效解決原羅茨水環真空機組降溫操作中存在的降溫效果差、成本高、耗能多、浪費資源等問題,做到降溫效果可靠、成本低、耗能少、對環境無污染;本實用新型的循環泵及各閥門經調試完畢后,可實現整個羅茨水環真空機組降溫系統的長期、自動、順暢、平穩循環;同時本實用新型的安裝、改造操作實施簡單,靈活性強。
權利要求書
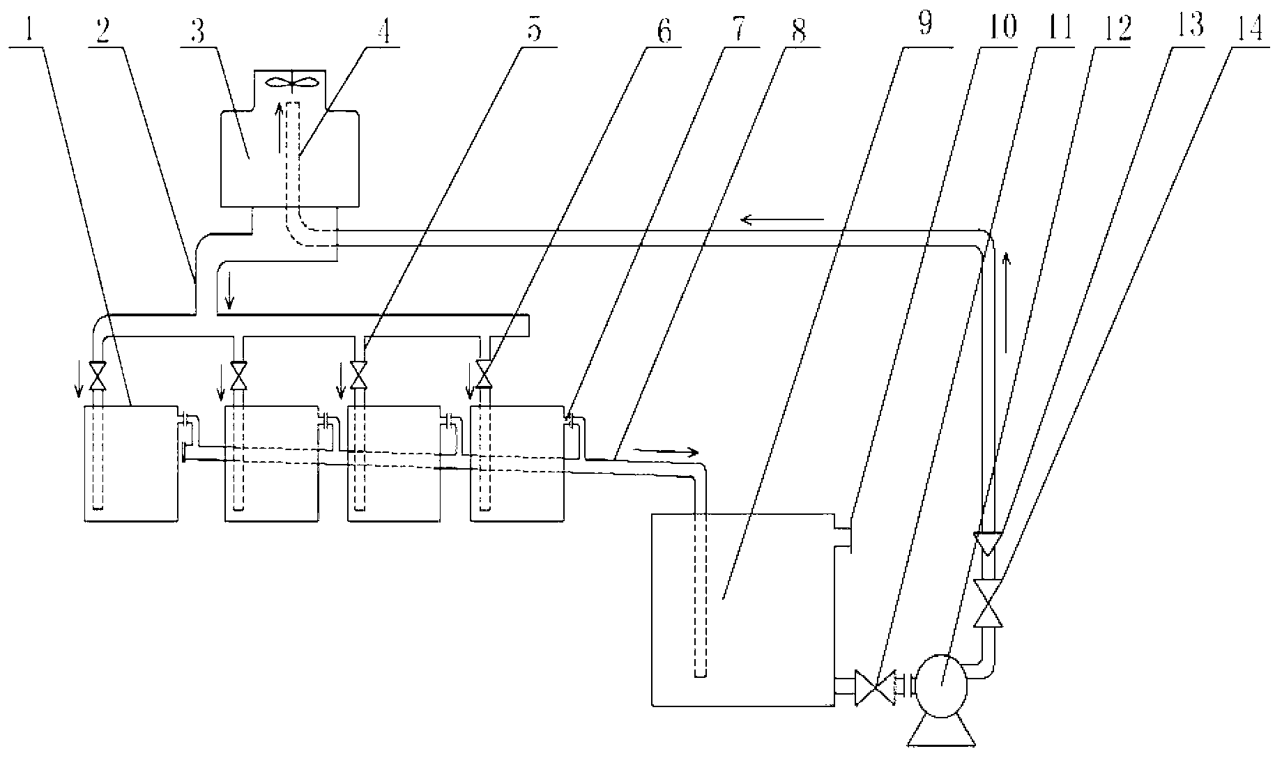
1.一種冷卻塔為羅茨水環真空機組降溫的系統,其特征在于,包括冷 卻塔(3)、羅茨水環真空機組蓄水箱(1)、低點總匯集水箱(9)、循環泵(12) 和冷卻塔總回管(4);所述冷卻塔(3)底部連通有冷卻塔冷水總供管(2), 所述冷卻塔冷水總供管(2)連接有冷水分配支管(5),所述冷水分配支管 (5)的末端伸入所述羅茨水環真空機組蓄水箱(1)的底部;所述羅茨水環 真空機組蓄水箱(1)連接有蓄水箱溢流匯集總管(8),所述蓄水箱溢流匯 集總管(8)的末端伸入所述低點總匯集水箱(9)的底部;所述低點總匯集 水箱(9)通過管道與循環泵(12)進口相連,所述循環泵(12)的出口與 冷卻塔總回管(4)相連,所述冷卻塔總回管(4)的末端伸入冷卻塔(3) 內。
2.根據權利要求1所述冷卻塔為羅茨水環真空機組降溫的系統,其特 征在于,所述羅茨水環真空機組蓄水箱(1)和冷水分配支管(5)均設有多 個且每個互相對應。
3.根據權利要求2所述冷卻塔為羅茨水環真空機組降溫的系統,其特 征在于,所述每個冷水分配支管(5)均設有支管閥門(6)。
4.根據權利要求2所述冷卻塔為羅茨水環真空機組降溫的系統,其特 征在于,所述每個羅茨水環真空機組蓄水箱(1)與所述蓄水箱溢流匯集總 管(8)的連接處設有羅茨水環真空機組蓄水箱溢流口(7)。
5.根據權利要求1所述冷卻塔為羅茨水環真空機組降溫的系統,其特 征在于,所述低點總匯集水箱(9)與所述循環泵(12)之間的管道處設有 循環泵入口閥門(11)。
6.根據權利要求1所述冷卻塔為羅茨水環真空機組降溫的系統,其特 征在于,所述低點總匯集水箱(9)還設有接至地下污水管道的總匯集水箱 溢流口(10)。
7.根據權利要求1所述冷卻塔為羅茨水環真空機組降溫的系統,其特 征在于,所述冷卻塔總回管(4)靠近所述循環泵(12)的一端設有循環泵 出口閥門(14)和止回閥(13)。
8.根據權利要求1至7任一項所述冷卻塔為羅茨水環真空機組降溫的 系統,其特征在于,所述蓄水箱溢流匯集總管(8)呈倒L型,包括水平部 分和豎直部分,所述豎直部分的底端伸入低點總匯集水箱(9)的底部,所 述水平部分一端與羅茨水環真空機組蓄水箱(1)的頂部連接,另一端與豎 直部分的頂端相連,所述水平部分從與羅茨水環真空機組蓄水箱(1)連接 處到豎直部分向下傾斜,所述傾斜的角度為5~30°。
說明書
一種冷卻塔為羅茨水環真空機組降溫的系統
技術領域
本實用新型涉及一種冷卻塔為羅茨水環真空機組降溫的系統,尤其涉及 一種冷卻塔為多臺羅茨水環真空機組水箱進行冷水置換降溫系統,屬于羅茨 水環真空機組降溫領域。
背景技術
羅茨水(液)環真空機組廣泛應用于化工行業的真空蒸餾、真空蒸發、 脫水結晶,食品行業的冷凍干燥,醫藥工業的真空干燥,輕紡工業的滌綸切 片,高空模擬實驗等的抽真空系統中。
實際生產中,隨著羅茨水(液)環真空機組的前級泵—水(液)環真空 機長期運轉發熱,溫度升高,致使羅茨水(液)環真空機組蓄水箱中水溫上 升,當水溫高于30℃時,整個羅茨水(液)環真空機組的真空度會大幅下降, 滿足不了生產工藝要求,所以需要對蓄水箱中用水進行降溫操作。
目前為羅茨水(液)環真空機組降溫領域,一般采用自來水直接降溫與 冷凝器降溫兩種方法。自來水直接降溫法是將自來水管路直接接至羅茨水 (液)環真空機組蓄水箱中置換原水箱中的用水,達到降溫效果。自來水直 接降溫法具有降溫效果差、浪費水資源等缺點。冷凝器降溫法是將低碳醇冷 凝器放入羅茨水(液)環真空機組蓄水箱中,通過冷凍機組為冷凝器輸送低 溫低碳醇,通過冷凝器與水箱中用水進行熱量交換,達到降溫效果。冷凝器 降溫法具有成本高、耗能多、資源浪費嚴重等缺點。
實用新型內容
本實用新型所要解決的技術問題是提供一種降溫效果可靠、成本低、耗 能少、對環境無污染、實施操作簡單的冷卻塔為羅茨水環真空機組降溫系統。
本實用新型解決上述技術問題的技術方案如下:一種冷卻塔為羅茨水環 真空機組降溫的系統,包括冷卻塔、羅茨水環真空機組蓄水箱、低點總匯集 水箱、循環泵和冷卻塔總回管;所述冷卻塔底部連通有冷卻塔冷水總供管, 所述冷卻塔冷水總供管連接有冷水分配支管,所述冷水分配支管的末端伸入 所述羅茨水環真空機組蓄水箱的底部;所述羅茨水環真空機組蓄水箱連接有 蓄水箱溢流匯集總管,所述蓄水箱溢流匯集總管的末端伸入所述低點總匯集 水箱的底部;所述低點總匯集水箱通過管道與循環泵進口相連,所述循環泵 的出口與冷卻塔總回管相連,所述冷卻塔總回管的末端伸入冷卻塔內。
本實用新型的有益效果是:
1.利用本實用新型可以有效解決原羅茨水環真空機組降溫操作中存在 的降溫效果差、成本高、耗能多、浪費資源等問題,做到降溫效果可靠、成 本低、耗能少、對環境無污染;
2.本實用新型的安裝、改造操作實施簡單,靈活性強;
3.本實用新型的循環泵及各閥門經調試完畢后,可實現整個羅茨水環真 空機組降溫系統的長期、自動、順暢、平穩循環。
在上述技術方案的基礎上,本實用新型還可以做如下改進。
進一步,所述羅茨水環真空機組蓄水箱和冷水分配支管均設有多個且每 個互相對應。
進一步,所述每個冷水分配支管均設有支管閥門。
采用上述進一步方案的有益效果是可以根據每臺羅茨水環真空機組的 具體情況調節支管閥門來調節對每臺機組蓄水箱的冷卻水供應流量。
進一步,所述每個羅茨水環真空機組蓄水箱與所述蓄水箱溢流匯集總管 的連接處設有羅茨水環真空機組蓄水箱溢流口。
進一步,所述低點總匯集水箱與所述循環泵之間的管道處設有循環泵入 口閥門。
進一步,所述低點總匯集水箱還設有接至地下污水管道的總匯集水箱溢 流口。
采用上述進一步方案的有益效果是可將總匯集水箱溢流口接至地下污 水管道,防止低點總匯集水箱出現水漫現象,損壞其他設備。
進一步,所述冷卻塔總回管靠近所述循環泵的一端設有循環泵出口閥門 和止回閥。
采用上述進一步方案的有益效果是本實用新型中止回閥、循環泵入口閥 門及循環泵出口閥門是為了有效預防系統停機后冷卻塔總回管中的存水回 流至低點總匯集水箱中,造成水箱溢流。
進一步,所述蓄水箱溢流匯集總管呈倒L型,包括水平部分和豎直部分, 所述豎直部分的底端伸入低點總匯集水箱的底部,所述水平部分一端與羅茨 水環真空機組蓄水箱的頂部連接,另一端與豎直部分的頂部相連,所述水平 部分從與羅茨水環真空機組蓄水箱連接處到豎直部分向下傾斜,所述傾斜的 角度為5~30°。
采用上述進一步方案的有益效果是采用將羅茨水環真空機組所有蓄水 箱溢流孔管路連接至同一根具有傾斜角度的總匯管路上,傾斜管路中的水箱 溢流水借助自身重力匯集至低點總匯集水箱中。







