申請日2017.09.28
公開(公告)日2018.01.19
IPC分類號B02C18/12; B02C18/18; B02C18/22; B02C23/40; B08B3/02; B30B9/14; C02F9/00
摘要
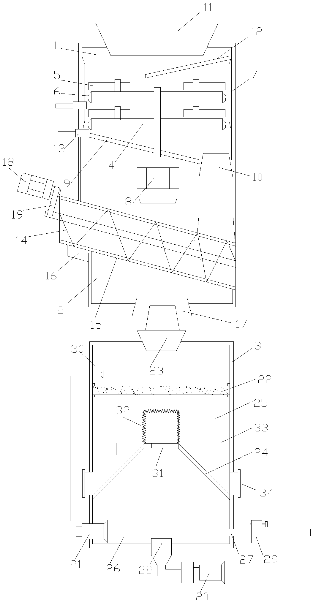
本發明一種垃圾污水凈化設備,包括垃圾粉碎腔、擠壓脫水腔和污水處理腔;垃圾粉碎腔內設有同軸設置的兩個粉碎刀;垃圾粉碎腔的底板設水平向下傾斜;在底板的傾斜最低處設有垃圾出料口;垃圾粉碎腔的頂部設有垃圾進料口;垃圾進料口內側設有緩沖板;垃圾粉碎腔的側壁上還設有高壓噴水口;擠壓脫水腔內設有脫水濾筒和絞龍;擠壓脫水腔設有通往污水處理腔的排水口;污水處理腔內設有:氣泵、水泵和過濾層;污水處理腔內從上之下依次設有過濾層、結構隔斷;結構隔斷為向沉降倉內凸起的錐形回轉體;在結構隔斷軸向頂部設有流道口;在流道口上安裝有網罩;回氣孔外接所述氣泵;在結構隔斷兩側的沉降倉內壁上還設有防止顆粒揚起的擋板;排水倉上外接水泵。
權利要求書
1.一種垃圾污水凈化設備,其特征在于:包括垃圾粉碎腔、擠壓脫水腔和污水處理腔;所述垃圾粉碎腔內設有同軸設置的兩個粉碎刀;粉碎刀由垃圾粉碎腔外部的變頻電機驅動;所述垃圾粉碎腔的底板設有水平向下的傾斜角度;在底板的傾斜最低處設有垃圾出料口;所述垃圾粉碎腔的頂部設有垃圾進料口;所述垃圾進料口內側設有緩沖板;所述緩沖板也設有水平向下的傾斜角度;所述垃圾粉碎腔的側壁上還設有兩個高壓噴水口;一個高壓噴水口正對在兩個粉碎刀之間,另一個高壓噴水口位于底板與相鄰的粉碎刀之間;所述擠壓脫水腔內設有脫水濾筒和絞龍;所述垃圾出料口通往脫水濾筒的進口;絞龍同軸配合于所述脫水濾筒內;脫水濾筒上設有濾孔;所述絞龍上設有雙螺旋葉片;所述脫水濾筒的上端設有用于排出垃圾廢渣的出口;所述擠壓脫水腔的底部設有通往污水處理腔的排水口;污水處理腔內設有:氣泵、水泵和過濾層;所述污水處理腔的頂部設有進水口;所述污水處理腔內從上之下依次設有過濾層、結構隔斷;過濾層上側為過濾倉,過濾層與結構隔斷之間為沉降倉,結構隔斷下側為排水倉;所述排水倉的底部設有排水口和回氣口;所述結構隔斷為向沉降倉內凸起的錐形回轉體;在結構隔斷的軸向頂部設有流道口;在所述流道口上安裝有網罩;所述網罩向沉降倉內凸起;所述回氣口與所述流道口相對;所述回氣孔外接所述氣泵;在結構隔斷兩側的沉降倉內壁上還設有防止顆粒揚起的擋板;所述排水倉上外接所述水泵;所述水泵的出口從污水處理腔外部通往過濾倉中。
2.根據權利要求1所述的一種垃圾污水凈化設備,其特征在于:所述粉碎刀的表面設有活動的刀塊,所述刀塊通過鉚釘安裝于粉碎刀的表面;所述粉碎刀的回轉面上設有凸起的刀尖;所述垃圾粉碎腔的內壁上設有凸起的刀刃。
3.根據權利要求1或2所述的一種垃圾污水凈化設備,其特征在于:所述沉降倉的內壁上設有卡槽;所述過濾層的兩側設有與所述卡槽配合的卡扣。
4.根據權利要求3所述的一種垃圾污水凈化設備,其特征在于:所述過濾層包括上、下相對的兩塊過濾網板;兩塊過濾網板之間夾裝有砂石包和炭包。
說明書
一種垃圾污水凈化設備
技術領域
本發明涉及垃圾處理設備領域,特別是涉及一種垃圾污水凈化設備。
背景技術
在日常生活中,廚房垃圾在生活垃圾中占有相當大的比例。茶余餐后,難免會產生一些垃圾,例如果皮瓜殼,殘羹冷飯等。這些廚房垃圾極容易腐爛,產生異味,滋生細菌,對家庭的環境和家人的健康都會帶來一定的影響。對于這樣的現狀,設計并開發了一些垃圾處理設備。生活含油污水主要來源于食堂、飯店,相比工業含油污水,量比較少。對于含油污水的處理,首先應考慮盡量回收其中的油,以便重復或循環使用,然后再根據其來源及油污的狀態、成分,采取適當的處理方法,使之達到國家排放標準。
發明內容
本發明主要解決的技術問題是提供一種垃圾污水凈化設備,解決了食物垃圾在粉碎過程中容易堆積的問題,同時處理了油水垃圾分離過程中容易產生顆粒物混雜,液態垃圾處理不徹底的問題。
為解決上述技術問題,本發明采用的一個技術方案是提供一種垃圾污水凈化設備,包括垃圾粉碎腔、擠壓脫水腔和污水處理腔;所述垃圾粉碎腔內設有同軸設置的兩個粉碎刀;粉碎刀由垃圾粉碎腔外部的變頻電機驅動;所述垃圾粉碎腔的底板設有水平向下的傾斜角度;在底板的傾斜最低處設有垃圾出料口;所述垃圾粉碎腔的頂部設有垃圾進料口;所述垃圾進料口內側設有緩沖板;所述緩沖板也設有水平向下的傾斜角度;所述垃圾粉碎腔的側壁上還設有兩個高壓噴水口;一個高壓噴水口正對在兩個粉碎刀之間,另一個高壓噴水口位于底板與相鄰的粉碎刀之間;所述擠壓脫水腔內設有脫水濾筒和絞龍;所述垃圾出料口通往脫水濾筒的進口;絞龍同軸配合于所述脫水濾筒內;脫水濾筒上設有濾孔;所述絞龍上設有雙螺旋葉片;所述脫水濾筒的上端設有用于排出垃圾廢渣的出口;所述擠壓脫水腔的底部設有通往污水處理腔的排水口;污水處理腔內設有:氣泵、水泵和過濾層;所述污水處理腔的頂部設有進水口;所述污水處理腔內從上之下依次設有過濾層、結構隔斷;過濾層上側為過濾倉,過濾層與結構隔斷之間為沉降倉,結構隔斷下側為排水倉;所述排水倉的底部設有排水口和回氣口;所述結構隔斷為向沉降倉內凸起的錐形回轉體;在結構隔斷的軸向頂部設有流道口;在所述流道口上安裝有網罩;所述網罩向沉降倉內凸起;所述回氣口與所述流道口相對;所述回氣孔外接所述氣泵;在結構隔斷兩側的沉降倉內壁上還設有防止顆粒揚起的擋板;所述排水倉上外接所述水泵;所述水泵的出口從污水處理腔外部通往過濾倉中。
優選的是,所述粉碎刀的表面設有活動的刀塊,所述刀塊通過鉚釘安裝于粉碎刀的表面;所述粉碎刀的回轉面上設有凸起的刀尖;所述垃圾粉碎腔的內壁上設有凸起的刀刃。
優選的是,所述沉降倉的內壁上設有卡槽;所述過濾層的兩側設有與所述卡槽配合的卡扣。
優選的是,所述過濾層包括上、下相對的兩塊過濾網板;兩塊過濾網板之間夾裝有砂石包和炭包。
本發明的有益效果是:提供一種垃圾污水凈化設備,其首先對固態垃圾進行粉碎處理獲得兩種形態的垃圾,固態垃圾與液態垃圾分離,液態垃圾進一步的處理,液態垃圾處理中利用反沖結構增加過濾層的過濾能力,同時增加了箱體結構,便于液態垃圾的顆粒物沉降;通過氣體反流產生反沖力,避免沉降物混入處理好的污水中。增強了排水能力,防止排水設備阻塞。



