申請日2017.09.28
公開(公告)日2018.02.02
IPC分類號C02F9/10
摘要
本發明涉及一種室外污水處理裝置,包括發電機一、支撐桿、保護殼、進液管、裝置外殼、S型管、高溫加熱板、斜板、發電機二、發酵池、逆變器以及蓄電池,所述太陽能光伏板上端安裝有發電機一,所述發電機一上端固定有風扇板,所述保護殼固定在裝置外殼前端面上,所述保護殼內安裝有蓄電池以及逆變器,所述裝置外殼左端安裝有進液管,所述裝置外殼右端安裝有出液管,所述裝置外殼下端安裝有支撐腿,所述分隔板固定在裝置外殼內部,所述分隔板上設置有連接管,所述連接管上安裝有液體泵一,所述分隔板右側安裝有活性炭吸附板二,所述分隔板通過斜板與活性炭吸附板二相連接,本發明廢水處理性好,且節能環保,結構簡單,便于操作。
權利要求書
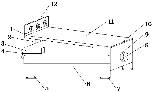
1.一種室外污水處理裝置,包括發電機一(1)、支撐桿(2)、保護殼(3)、進液管(4)、支撐腿(5)、裝置外殼(6)、橡膠墊(7)、管蓋(8)、出液管(9)、活動鉸鏈(10)、太陽能光伏板(11)、風扇板(12)、連接管(13)、分隔板(14)、液體泵一(15)、活性炭吸附板一(16)、活性炭吸附板二(17)、吸水頭(18)、液體泵二(19)、紫外線消毒燈板(20)、S型管(21)、高溫加熱板(22)、斜板(23)、發電機二(24)、發酵池(25)、逆變器(26)以及蓄電池(27),其特征在于:所述太陽能光伏板(11)安裝在裝置外殼(6)上端,所述太陽能光伏板(11)左端固定有支撐桿(2),所述支撐桿(2)下端固定在裝置外殼(6)左端,所述太陽能光伏板(11)通過支撐桿(2)與裝置外殼(6)相固定,所述太陽能光伏板(11)上端安裝有發電機一(1),所述發電機一(1)上端固定有風扇板(12),所述保護殼(3)固定在裝置外殼(6)前端面上,所述保護殼(3)內安裝有蓄電池(27)以及逆變器(26),所述裝置外殼(6)左端安裝有進液管(4),所述裝置外殼(6)右端安裝有出液管(9),所述裝置外殼(6)下端安裝有支撐腿(5),所述分隔板(14)固定在裝置外殼(6)內部,所述分隔板(14)上設置有連接管(13),所述連接管(13)上安裝有液體泵一(15),所述分隔板(14)右側安裝有活性炭吸附板二(17),所述分隔板(14)通過斜板(23)與活性炭吸附板二(17)相連接,所述斜板(23)上端固定有活性炭吸附板一(16),所述活性炭吸附板固定在裝置外殼(6)內部頂端,所述活性炭吸附板二(17)右端安裝有吸水頭(18),所述吸水頭(18)右端安裝有S型管(21),所述S型管(21)上安裝有液體泵二(19),所述S型管(21)右端與出液管(9)相連通,所述發酵池(25)以及發電機二(24)均固定在裝置外殼(6)下端面上,所述發酵池(25)有端安裝有發電機二(24),所述發酵池(25)通過氣流管與發電機二(24)相連接,所述發電機二(24)與高溫加熱板(22)以及紫外線消毒燈板(20)電性連接。
2.根據權利要求1所述的一種室外污水處理裝置,其特征在于:所述太陽能光伏板(11)通過活動鉸鏈(10)與裝置外殼(6)轉動連接。
3.根據權利要求1所述的一種室外污水處理裝置,其特征在于:所述風扇板(12)通過轉軸與發電機一(1)相連接。
4.根據權利要求1所述的一種室外污水處理裝置,其特征在于:所述太陽能光伏板(11)以及發電機一(1)與逆變器(26)電性連接,
根據權利要求1所述的一種室外污水處理裝置,其特征在于:所述逆變器(26)與蓄電池(27)電性連接。
5.根據權利要求1所述的一種室外污水處理裝置,其特征在于:所述蓄電池(27)與紫外線消毒燈板(20)以及高溫加熱板(22)電性連接。
6.根據權利要求1所述的一種室外污水處理裝置,其特征在于:所述進液管(4)以及出液管(9)上均安裝有管蓋(8)。
7.根據權利要求1所述的一種室外污水處理裝置,其特征在于:所述支撐腿(5)設有四個,四個所述支撐腿(5)均固定在裝置外殼(6)下端面上。
8.根據權利要求1所述的一種室外污水處理裝置,其特征在于:四個所述支撐腿(5)下端均安裝有橡膠墊(7)。
說明書
一種室外污水處理裝置
技術領域
本發明涉及廢水處理產品配件領域,具體為一種室外污水處理裝置。
背景技術
廢水處理就是利用物理、化學和生物的方法對廢水進行處理,使廢水凈化,減少污染,以至達到廢水回收、復用,充分利用水資源。生活污水是指人們在日常生活活動中所排出的廢水,這種廢水主要被生活廢料和人的排泄物所污染,污染物的數量、成分和濃度與人們的生活習慣、用水量有關。 生活污水一般并不含有有毒物質,但是,它具有適于微生物繁殖的條件,含有大量細菌和病原體,從衛生角度來看,具有一定的危害性。由于城市人口的不斷增多,城市生活廢水處理問題日益凸顯。又因為技術落后、資金短缺、治理難度較大,一直影響著城市環境及其建設。如果不盡快解決這些問題,那么隨著城市化的推進,用水量的不斷增加,污染將會更加的嚴重,影響也會更加的惡劣。
城市生活污水不同于工業廢水,可以進行制止或者工業企業的搬遷,解決源頭。城市生活污水主要來源于家庭、學校、商業等一系列城市公共場所、公用設施。其來源的廣泛性和必然性也使得在污水處理上面臨著區域性傾向。而城市生活污水的污染物更是五花八門,但綜合其主要含量,多是以有機物為主,其中淀粉、蛋白質、糖類、礦物油等生活垃圾居多,其中,BOD2(生物需氧量)、CODc2(化學需氧量)、TkN(凱氏氮)、TP(總磷)、TN(總氮)等也較高,排入水體后很容易造成水體的富營養化,使得藻類大量生長繁殖,我們平時看到的赤潮和水華就與此有關。而當季節溫度原因,藻類代寫死亡后,就會使得水域水體腐敗發臭水質惡化,也就使得城市生活污水的表現特征和具體成分的含量,也使得我們在處理城市生活污水時,對各個環節有了更加清醒的認知。
傳統的廢水處理裝置結構簡單,功能少,耗能大,為了解決上述問題,現推出一種室外污水處理裝置。
發明內容
針對現有技術存在的不足,本發明目的是提供一種室外污水處理裝置,以解決上述背景技術中提出的問題,本發明使用方便,操作簡單,系統性高,實用性強。
為實現上述目的,本發明提供如下技術方案:一種室外污水處理裝置,包括發電機一、支撐桿、保護殼、進液管、支撐腿、裝置外殼、橡膠墊、管蓋、出液管、活動鉸鏈、太陽能光伏板、風扇板、連接管、分隔板、液體泵一、活性炭吸附板一、活性炭吸附板二、吸水頭、液體泵二、紫外線消毒燈板、S型管、高溫加熱板、斜板、發電機二、發酵池、逆變器以及蓄電池,所述太陽能光伏板安裝在裝置外殼上端,所述太陽能光伏板左端固定有支撐桿,所述支撐桿下端固定在裝置外殼左端,所述太陽能光伏板通過支撐桿與裝置外殼相固定,所述太陽能光伏板上端安裝有發電機一,所述發電機一上端固定有風扇板,所述保護殼固定在裝置外殼前端面上,所述保護殼內安裝有蓄電池以及逆變器,所述裝置外殼左端安裝有進液管,所述裝置外殼右端安裝有出液管,所述裝置外殼下端安裝有支撐腿,所述分隔板固定在裝置外殼內部,所述分隔板上設置有連接管,所述連接管上安裝有液體泵一,所述分隔板右側安裝有活性炭吸附板二,所述分隔板通過斜板與活性炭吸附板二相連接,所述斜板上端固定有活性炭吸附板一,所述活性炭吸附板固定在裝置外殼內部頂端,所述活性炭吸附板二右端安裝有吸水頭,所述吸水頭右端安裝有S型管,所述S管上安裝有液體泵二,所述S型管右端與出液管相連通,所述發酵池以及發電機二均固定在裝置外殼下端面上,所述發酵池有端安裝有發電機二,所述發酵池通過氣流管與發電機二相連接,所述發電機二與高溫加熱板以及紫外線消毒燈板電性連接。
進一步地,所述太陽能光伏板通過活動鉸鏈與裝置外殼轉動連接。
進一步地,所述風扇板通過轉軸與發電機一相連接。
進一步地,所述太陽能光伏板以及發電機一與逆變器電性連接,
進一步地,所述逆變器與蓄電池電性連接。
進一步地,所述蓄電池與紫外線消毒燈板以及高溫加熱板電性連接。
進一步地,所述進液管以及出液管上均安裝有管蓋。
進一步地,所述支撐腿設有四個,四個所述支撐腿均固定在裝置外殼下端面上。
進一步地,四個所述支撐腿下端均安裝有橡膠墊。
與現有技術相比,本發明的有益效果是:因本發明添加了因本發明添加了太陽能光伏板、蓄電池以及逆變器,該設計實現利用太陽能進行發電,達到了節能環保的效果,因本發明添加了發電板、發電機一,該設計實現利用風能進行發電,達到了節能環保的效果,因本發明添加了發酵池以及發電機二,該設計實現利用沼氣進行發電,達到了節能環保的效果,因本發明添加了支撐桿以及活動鉸鏈,該設計便于對太陽能光伏板的角度進行調節,便于太陽能光伏板接收到更多的太陽光能,因本發明添加了紫外線消毒燈板,該設計能夠利用紫外線進行消毒殺菌,因本發明添加了高溫加熱器,該設計實現利用高溫進行消毒殺菌,因本發明添加了活性炭吸附板一以及活性炭吸附板二,該設計能夠多廢水進行吸附殺菌,因本發明添加了支撐腿以及橡膠墊,該設計達到了減震的效果,本發明廢水處理性好,且節能環保,結構簡單,便于操作。



