申請日2017.09.28
公開(公告)日2018.02.16
IPC分類號C02F3/30
摘要
本發明公開了一種立體升流式MBR農村生活污水一體化處理設備,在膜生物反應池內設有厭氧箱,在厭氧箱的頂部設有溢流口,污水進水管的一端連接調節池,另一端連接厭氧箱的底部;在膜生物反應池頂部設有清水池及電井,在清水池上連接有出水管,清水池通過產水反洗系統與膜生物反應池連接。本發明通過厭氧池中微生物的厭氧發酵、硝化和降解作用,使污水中大分有機物變為小分子有機物,使污水的化學需氧量和總氮濃度降低,在膜生物反應池中好氧微生物進一步降解水中有機物,聚磷菌在好氧環境中將厭氧池中微生物氧化分解產生的游離磷酸鹽絮凝沉淀,再通過中空纖維濾膜的高效截流作用,使出水達到《城鎮是污水處理廠污染物排放標準》中的一級A標甚至更好,且生產制造和運行費用低廉,無需專業人員管理。
權利要求書
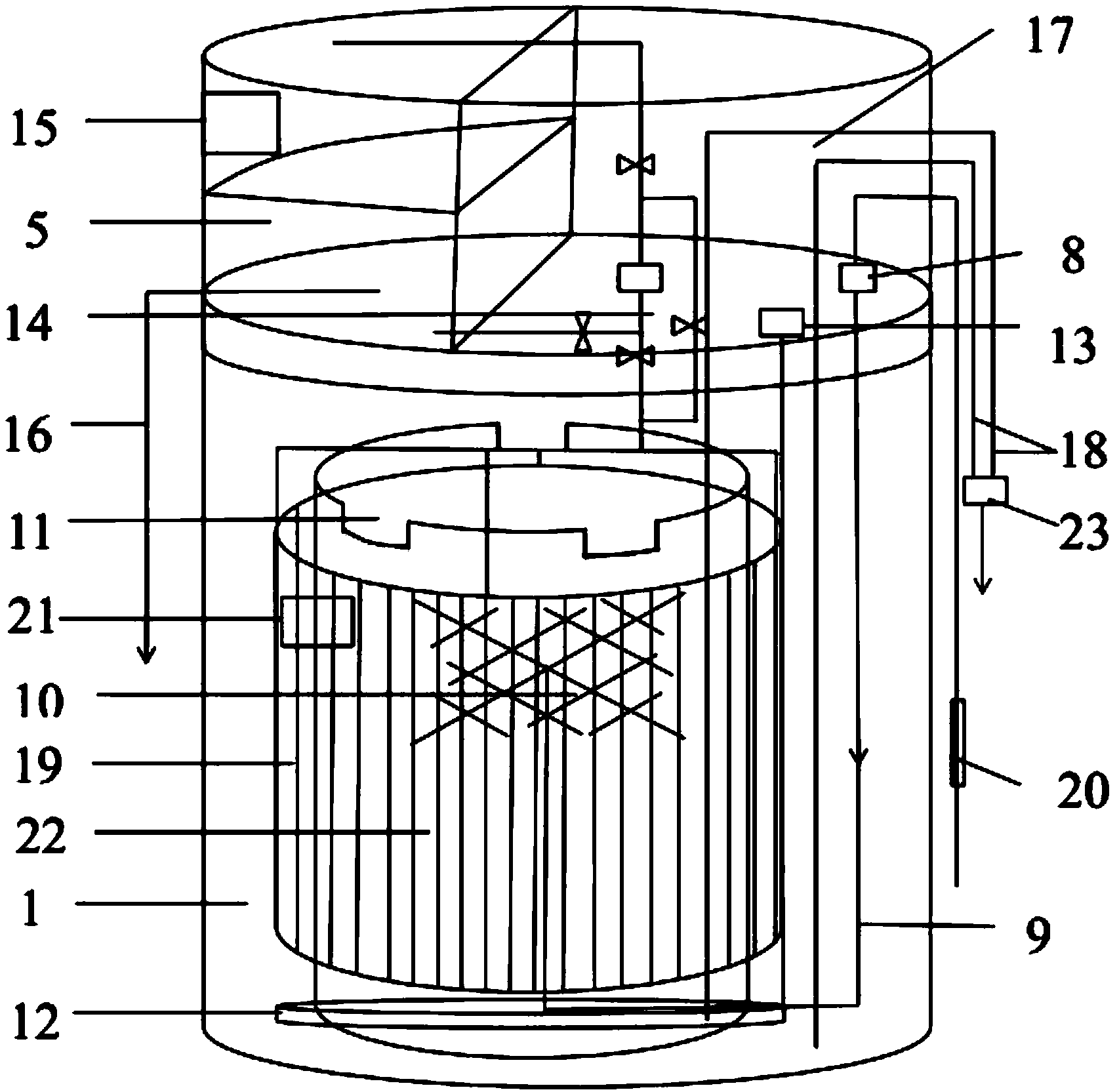
1.一種立體升流式MBR農村生活污水一體化處理設備,包括膜生物反應池(1),其特征在于:在膜生物反應池(1)內設有厭氧箱(22),膜生物反應池(1)的膜組件(19)設置在厭氧箱(22)外圍,在厭氧箱(22)中設有布水器(10),在厭氧箱(22)的頂部設有溢流口(11),污水進水管(9)的一端連接調節池,另一端連接厭氧箱(22)的底部,并在污水進水管(9)上設有抽水泵(8);在膜生物反應池(1)內的底部設有曝氣管(12),曝氣管(12)與曝氣泵(13)連接,在膜生物反應池(1)內的底部設有排泥管(18),排泥管接排泥泵(23);在膜生物反應池(1)頂部設有清水池(5)及電井(17),在清水池(5)上連接有出水管(16),清水池(5)通過產水反洗系統(14)與膜生物反應池(1)連接;抽水泵(8)、曝氣泵(13)及產水反洗系統(14)的自吸泵(3)均處于電井(17)內。
2.根據權利要求1所述的立體升流式MBR農村生活污水一體化處理設備,其特征在于:所述的產水反洗系統(14)的組成包括自吸泵(3),自吸泵(3)通過管道一(3-1)與膜生物反應池(1)連接,在管道一(3-1)上設有電磁閥一(2-1),自吸泵(3)通過管道二(3-2)與清水池(5)的頂部連通,在管道二(3-2)上設有電磁閥二(2-2);在清水池(5)的底部連接有管道三(3-3),管道三(3-3)的另一端連接管道一(3-1),且連接位置處于電磁閥一(2-1)與自吸泵(3)之間,并在管道三(3-3)上設有電磁閥三(2-3);在管道一(3-1)與管道二(3-2)之間連接有管道四(3-4),管道四(3-4)的一端連接在管道一(3-1)上,處于膜生物反應池(1)與電磁閥一(2-1)之間,管道四(3-4)的另一端連接在管道二(3-2)上,處于電磁閥二(2-2)與自吸泵(3)之間,并在管道四(3-4)上設有電磁閥四(2-4)。
3.根據權利要求1所述的立體升流式MBR農村生活污水一體化處理設備,其特征在于:在污水進水管(9)上設有單向流量計(20)。
4.根據權利要求1所述的立體升流式MBR農村生活污水一體化處理設備,其特征在于:在膜生物反應池(1)內設有液位控制器(21)。
5.根據權利要求1所述的立體升流式MBR農村生活污水一體化處理設備,其特征在于:清水池(5)及電井(17)組成的截面形狀及尺寸與膜生物反應池(1)的對應。
6.根據權利要求1所述的立體升流式MBR農村生活污水一體化處理設備,其特征在于:在清水池(5)內設有紫外燈(15)。
說明書
立體升流式MBR農村生活污水一體化處理設備
技術領域
本發明涉及污水處理技術領域,具體為一種立體升流式MBR農村生活污水一體化處理設備。
背景技術
農村生活污水肆意排放是造成水體污染的重要來源,量小且分散的農村生活污水不利于收集統一處理。污水未經過處理直接排放,將對污水受納環境嚴重的影響,輕則影響感官,重則導致水體富營養化,降低水體自凈功能,破壞水生生態環境,甚至導致物種多樣性減少。若勉強進行統一收集將耗費巨額的管網鋪設成本和后期的運營管理費用。現有的農村生活污水處理裝置存在工藝缺陷,污水處理后出水水質達不到排放標準,更難達到回用標準。
發明內容
針對現有技術的不足,本發明提供了一種立體升流式MBR農村生活污水一體化處理設備,它占地面積小,施工簡單,費用低,處理效果好,以克服現有技術的不足。
為實現以上目的,本發明通過以下技術方案予以實現:立體升流式MBR農村生活污水一體化處理設備,包括膜生物反應池,在膜生物反應池內設有厭氧箱,膜生物反應池的膜組件設置在厭氧箱外圍,在厭氧箱中設有布水器,在厭氧箱的頂部設有溢流口,污水進水管的一端連接調節池,另一端連接厭氧箱的底部,并在污水進水管上設有抽水泵;在膜生物反應池內的底部設有曝氣管,曝氣管與曝氣泵連接,在膜生物反應池內的底部設有排泥管;在膜生物反應池頂部設有清水池及電井,在清水池上連接有出水管,清水池通過產水反洗系統與膜生物反應池連接;抽水泵、曝氣泵及產水反洗系統的自吸泵均處于電井內。
所述的產水反洗系統的組成包括自吸泵,自吸泵通過管道一與膜生物反應池連接,在管道一上設有電磁閥一,自吸泵通過管道二與清水池的頂部連通,在管道二上設有電磁閥二;在清水池的底部連接有管道三,管道三的另一端連接管道一,且連接位置處于電磁閥一與自吸泵之間,并在管道三上設有電磁閥三;在管道一與管道二之間連接有管道四,管道四的一端連接在管道一上,處于膜生物反應池與電磁閥一之間,管道四的另一端連接在管道二上,處于電磁閥二與自吸泵之間,并在管道四上設有電磁閥四。這樣的結構能實現應用了一套由單泵實現傳統雙泵才能實現的膜產水和反洗功能,是一套結構簡單,功能完善,成本低廉的產生、反洗系統。
在污水進水管上設有單向流量計。
在膜生物反應池內設有液位控制器。
清水池及電井組成的截面形狀及尺寸與膜生物反應池的對應。
在清水池內設有紫外燈。
有益效果
本發明通過厭氧池中微生物的厭氧發酵、硝化和降解作用,使污水中大分有機物變為小分子有機物,使污水的化學需氧量和總氮濃度降低,在膜生物反應池中好氧微生物進一步降解水中有機物,聚磷菌在好氧環境中將厭氧池中微生物氧化分解產生的游離磷酸鹽絮凝沉淀,再通過中空纖維濾膜的高效截流作用,使出水達到《城鎮是污水處理廠污染物排放標準》中的一級A標甚至更好,且生產制造和運行費用低廉,無需專業人員管理。本發明的裝置整體呈立體結構,清水池處于反應池上方,便于安裝,可立于地表也可埋入地,而且占地空間小,排出的污泥可用當作農家肥使用。本發明既解決了分散式農村生活污水肆意排放造成的環境污染問題,同時將污水處理后進行回用也節約了活水的用量。同時做到環境保護與資源回用,彰顯了本發明在農村生活污水治理方面的優勢和實用性。



