申請日2017.09.27
公開(公告)日2017.12.26
IPC分類號G01N33/18
摘要
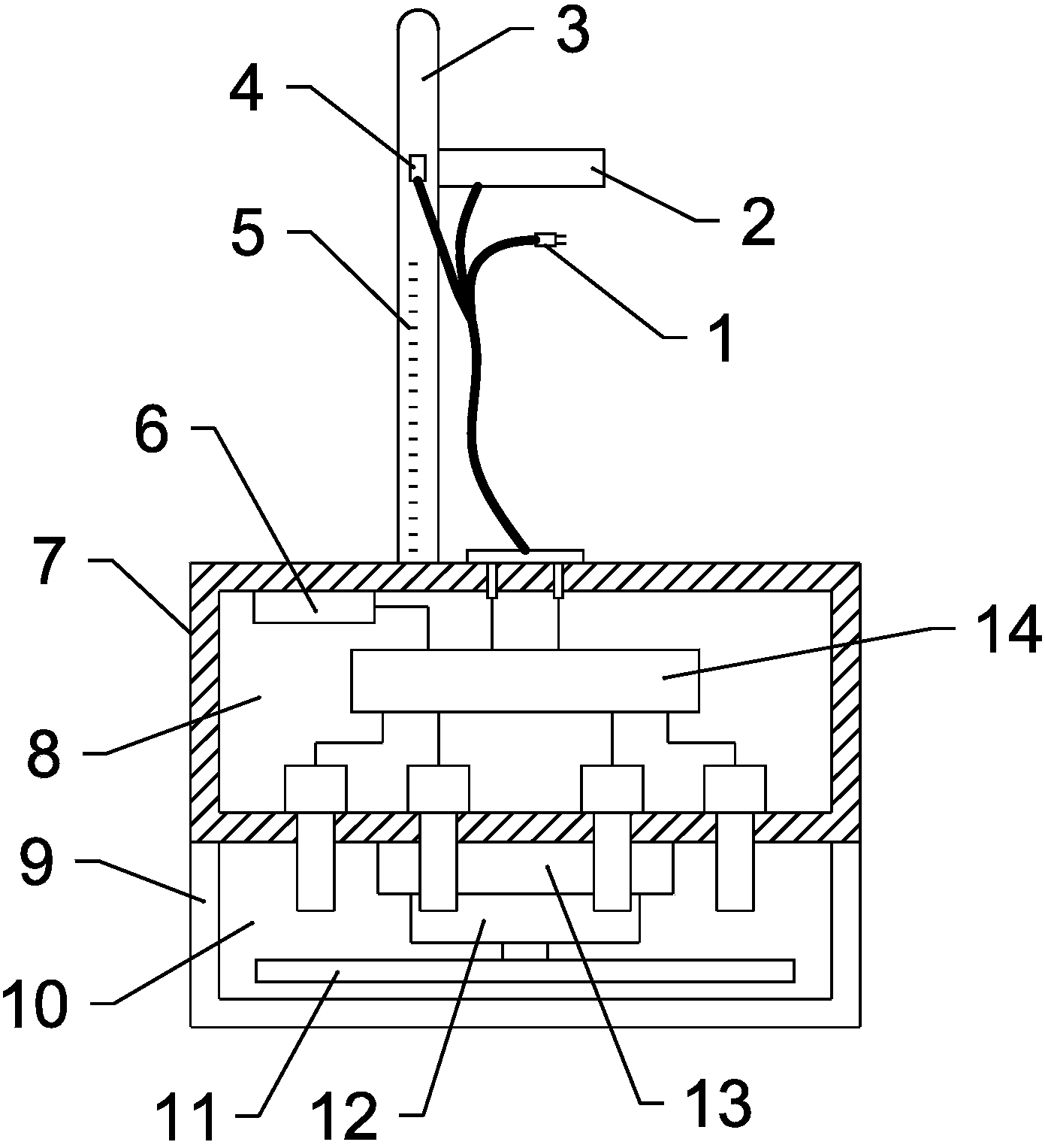
本實用新型公開了應用于電化學循環水處理的水質參數自動檢測系統,包括殼體,所述殼體的內側空間為處理器腔,處理器腔內分別設有存儲器和處理器,殼體的底部中間設有電機座,電機座上安裝有電機,電機的下側輸出軸上安裝有攪拌葉,殼體的底部還罩設有網罩,網罩的內側空間為檢測腔,殼體的底部外圈還設有檢測器組,殼體的頂部設有操作桿,操作桿的上部分別設有電機控制開關和顯示器。本實用新型可以嚴格的根據水質分析,確定運行的精確運行參數,從而在保證處理能力的情況下更加節水,既能保障冷卻循環水處理系統安全穩定的運行,保障正常生產,同時也保證水的精確使用,減少浪費。
權利要求書
1.應用于電化學循環水處理的水質參數自動檢測系統,包括顯示器(2)、操作桿(3)、殼體(7)、網罩(9)、電機(12)和處理器(14),其特征在于:所述殼體(7)的內側空間為處理器腔(8),處理器腔(8)內分別設有存儲器(6)和處理器(14),存儲器(6)與處理器(14)電路連接,所述殼體(7)的底部中間設有電機座(13),電機座(13)上安裝有電機(12),所述電機(12)的下側輸出軸上安裝有攪拌葉(11),所述殼體(7)的底部還罩設有網罩(9),網罩(9)的內側空間為檢測腔(10),所述殼體(7)的底部外圈還設有檢測器組,檢測器組包括水位檢測器(15)、PH檢測器(16)、溶解氧檢測器(17)、溫度監測器(18)、電導率檢測器(19)和水濁度檢測器(20),所述水位檢測器(15)、PH檢測器(16)、溶解氧檢測器(17)、溫度監測器(18)、電導率檢測器(19)和水濁度檢測器(20)均與處理器(14)電路連接,所述殼體(7)的頂部設有操作桿(3),操作桿(3)上設有刻度(5),所述操作桿(3)的上部分別設有電機控制開關(4)和顯示器(2),所述電機控制開關(4)和顯示器(2)均與處理器(14)電路連接。
2.根據權利要求1所述的應用于電化學循環水處理的水質參數自動檢測系統,其特征在于:所述殼體(7)為兩端密封的圓柱形筒體結構。
3.根據權利要求1所述的應用于電化學循環水處理的水質參數自動檢測系統,其特征在于:所述攪拌葉(11)的俯視截面為橢圓狀結構。
4.根據權利要求1所述的應用于電化學循環水處理的水質參數自動檢測系統,其特征在于:所述水位檢測器(15)、PH檢測器(16)、溶解氧檢測器(17)、溫度監測器(18)、電導率檢測器(19)和水濁度檢測器(20)于殼體(7)的底部外圈周向均勻分布,水位檢測器(15)、PH檢測器(16)、溶解氧檢測器(17)、溫度監測器(18)、電導率檢測器(19)和水濁度檢測器(20)的下端面位于攪拌葉(11)上端面的上側。
5.根據權利要求1所述的應用于電化學循環水處理的水質參數自動檢測系統,其特征在于:所述操作桿(3)垂直于殼體(7)頂部設置。
6.根據權利要求1所述的應用于電化學循環水處理的水質參數自動檢測系統,其特征在于:還包括與處理器(14)電路連接的外接電源插頭(1)以及外接遠程信號傳送插頭。
7.根據權利要求1或4所述的應用于電化學循環水處理的水質參數自動檢測系統,其特征在于:所述溫度監測器(18)采用DS18B20溫度傳感器。
8.根據權利要求1或4所述的應用于電化學循環水處理的水質參數自動檢測系統,其特征在于:所述水位檢測器(15)采用UT-US40水位傳感器。
說明書
應用于電化學循環水處理的水質參數自動檢測系統
技術領域
本實用新型涉及電化學循環水技術領域,具體為應用于電化學循環水處理的水質參數自動檢測系統。
背景技術
電化學是研究電和化學反應相互關系的科學。電和化學反應相互作用可通過電池反應來完成,也可利用高壓靜電放電來實現(如氧通過無聲放電管轉變為臭氧),二者統稱電化學,后者為電化學的一個分支,稱放電化學。
當前電化學循環水處理系統還只是實現了自動除垢,缺少水質檢測系統,不利于電化學循環水處理設備的排污。針對這一現狀,本領域技術人員提出了應用于電化學循環水處理的水質參數自動檢測系統,以解決上述背景技術中提出的問題。
實用新型內容
本實用新型的目的在于提供一種能夠根據水質分析,確定運行的精確運行參數,保障冷卻循環水處理系統安全穩定運行的水質參數自動檢測系統,以解決上述背景技術中提出的問題。
為實現上述目的,本實用新型提供如下技術方案:
應用于電化學循環水處理的水質參數自動檢測系統,包括顯示器、操作桿、殼體、網罩、電機和處理器,所述殼體的內側空間為處理器腔,處理器腔內分別設有存儲器和處理器,存儲器與處理器電路連接,所述殼體的底部中間設有電機座,電機座上安裝有電機,所述電機的下側輸出軸上安裝有攪拌葉,所述殼體的底部還罩設有網罩,網罩的內側空間為檢測腔,所述殼體的底部外圈還設有檢測器組,檢測器組包括水位檢測器、PH檢測器、溶解氧檢測器、溫度監測器、電導率檢測器和水濁度檢測器,所述水位檢測器、PH檢測器、溶解氧檢測器、溫度監測器、電導率檢測器和水濁度檢測器均與處理器電路連接,所述殼體的頂部設有操作桿,操作桿上設有刻度,所述操作桿的上部分別設有電機控制開關和顯示器,所述電機控制開關和顯示器均與處理器電路連接。
作為本實用新型進一步的方案:所述殼體為兩端密封的圓柱形筒體結構。
作為本實用新型進一步的方案:所述攪拌葉的俯視截面為橢圓狀結構。
作為本實用新型進一步的方案:所述水位檢測器、PH檢測器、溶解氧檢測器、溫度監測器、電導率檢測器和水濁度檢測器于殼體的底部外圈周向均勻分布,水位檢測器、PH檢測器、溶解氧檢測器、溫度監測器、電導率檢測器和水濁度檢測器的下端面位于攪拌葉上端面的上側。
作為本實用新型進一步的方案:所述操作桿垂直于殼體頂部設置。
作為本實用新型進一步的方案:還包括與處理器電路連接的外接電源插頭。
作為本實用新型進一步的方案:所述溫度監測器采用DS18B20溫度傳感器。
作為本實用新型進一步的方案:所述水位檢測器采用UT-US40水位傳感器。
與現有技術相比,本實用新型的有益效果是:該水質參數自動檢測系統,結構設計合理,操作方便,可以檢測多種水質參數,可以一機多用,通過操作桿及其上設置的刻度,可以在一定的水深上進行水質檢測,通過控制電機工作帶動攪拌葉轉動,可對水體進行檢測前的均勻攪拌,提升檢測的準確性,通過網罩可對攪拌葉和檢測器組進行保護,同時可隔離雜物;可以嚴格的根據水質分析,確定運行的精確運行參數,從而在保證處理能力的情況下與其他控制系統配合,進行補水或排水,從而更加節水,既能保障冷卻循環水處理系統安全穩定的運行,保障正常生產,同時也保證水的精確使用,減少浪費。本實用新型可以嚴格的根據水質分析,確定運行的精確運行參數,從而在保證處理能力的情況下更加節水,既能保障冷卻循環水處理系統安全穩定的運行,保障正常生產,同時也保證水的精確使用,減少浪費而不是憑感覺或憑人為操作進行補水和排水,減少了人工成本,提高了水處理的科學依據。



