申請日2017.09.27
公開(公告)日2018.01.05
IPC分類號C02F11/12; C02F11/14
摘要
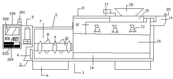
本發明涉及一種高效率疊螺污泥脫水機,包括外殼,外殼左側連接動力組,動力組連接電控柜,動力組連接餅泥排除口,餅泥排除口右側設有脊壓板,脊壓板連接右側脫水主體,脫水主體底部設有底座,脫水主體內部設有疊螺本體,疊螺本體包括固定環、游動環和螺旋軸,固定環與游動環互相層疊,螺旋軸貫穿固定環和游動環,形成筒狀過濾結構,疊螺本體右側連接濃縮部,計量槽連接供水電磁閥,絮凝混合槽連接污泥輸送泵和藥泵,藥泵連接液位調整管。本發明結構簡單,螺旋軸在輸送污泥的同時,推動游動環做圓周運動,具有自動清洗濾縫的功能,防止堵塞,便于清洗,從而確保脫水機持續穩定運行。
權利要求書
1.一種高效率疊螺污泥脫水機,包括外殼(1),其特征在于:所述外殼(1)左側連接動力組(2),所述動力組連接電控柜(200),所述動力組(2)連接餅泥排除口(3),所述餅泥排除口(3)右側設有脊壓板(4),所述脊壓板(4)連接右側脫水主體(5),所述脫水主體(5)底部設有底座(6),所述脫水主體(5)內部設有疊螺本體(7),所述疊螺本體(7)包括固定環(8)、游動環(9)和螺旋軸(10),所述固定環(8)與游動環(9)互相層疊,所述螺旋軸(10)貫穿固定環(8)和游動環(9),形成筒狀過濾結構,所述疊螺本體(7)右側連接濃縮部(11),所述濃縮部(11)包括絮凝混合槽(12)、混合槽攪拌機(13)、液位回收裝置(14)、計量槽(15)和離心機(16),所述計量槽(15)位于絮凝混合槽(12)頂部,所述絮凝混合槽(12)連接混合槽攪拌機(13),所述混合槽攪拌機(13)底部設有液位回收裝置(14),所述液位回收裝置(14)連接離心機(16),所述液位回收裝置(14)上設有管道連接計量槽(15),所述計量槽(15)連接供水電磁閥(17),所述絮凝混合槽(12)連接污泥輸送泵(18)和藥泵(19),所述藥泵(19)連接液位調整管(20)。
2.根據權利要求1所述的一種高效率疊螺污泥脫水機,其特征在于:所述電控柜(200)包括報警器(201)、顯示器(202)、CPU處理器(203)和操作鍵(204),所述報警器(201)設于顯示器(202)頂部,所述顯示器(202)底部連接操作鍵(204),所述操作鍵(204)連接CPU處理器(203),所述CPU處理器(203)連接動力組(2)、脫水主體(5)和濃縮部(11)、供水電磁閥(17)、污泥輸送泵(18)和藥泵(19)。
3.根據權利要求1所述的一種高效率疊螺污泥脫水機,其特征在于:所述離心機(16)上設有壓力表(21),所述壓力表(21)連接電控柜(200)上的報警器(201)。
4.根據權利要求1所述的一種高效率疊螺污泥脫水機,其特征在于:所述污泥輸送泵(18)和藥泵(19)同時投加到絮凝混合槽(12)內的物料比例為60:1。
5.根據權利要求1所述的一種高效率疊螺污泥脫水機,其特征在于:所述固定環(8)和游動環(9)均采用SUS304材質,所述固定環(8)和游動環(9)通過固定件固定,可拆卸。
6.根據權利要求1所述的一種高效率疊螺污泥脫水機,其特征在于:所述動力組(2)采用四組發動機為一個驅動組。
說明書
一種高效率疊螺污泥脫水機
技術領域
本發明具體涉及脫水機領域,具體涉及一種高效率疊螺污泥脫水機。
背景技術
污泥是污水處理廠以及污水站污水處理后的必然產物,未經過很好處理處置的污泥進入環境后,將會直接給水體和大氣帶來二次污染,對生態環境和人類的活動也將構成了嚴重的威脅。因此,在污泥處理上是非常慎重的。污水經過沉淀處理后會產生大量污泥,即使經過濃縮及消化處理,含水率仍高達 96%,體積很大,難以消納處置,必須經過脫水處理,提高泥餅的含固率,以減少污泥堆置的占地面積。
傳統的污泥脫水裝置體積比較大,結構復雜,如離心脫水機旋轉速度比較高,噪聲大,并且傳統脫水裝置慮網容易堵塞,經常需要清洗,脫水的效率不高,脫水機的過濾體在運行中若發生堵塞,會阻礙濾水的順利排出,從而降低脫水性能。
發明內容
本發明的目的在于一種高效率疊螺污泥脫水機,以解決現有的技術問題。
為實現上述目的,本發明提供如下技術方案:一種高效率疊螺污泥脫水機,包括外殼,外殼左側連接動力組,動力組連接電控柜,動力組連接餅泥排除口,餅泥排除口右側設有脊壓板,脊壓板連接右側脫水主體,脫水主體底部設有底座,脫水主體內部設有疊螺本體,疊螺本體包括固定環、游動環和螺旋軸,固定環與游動環互相層疊,螺旋軸貫穿固定環和游動環,形成筒狀過濾結構,疊螺本體右側連接濃縮部,濃縮部包括絮凝混合槽、混合槽攪拌機、液位回收裝置、計量槽和離心機,計量槽位于絮凝混合槽頂部,絮凝混合槽連接混合槽攪拌機,混合槽攪拌機底部設有液位回收裝置,液位回收裝置連接離心機,液位回收裝置上設有管道連接計量槽,計量槽連接供水電磁閥,絮凝混合槽連接污泥輸送泵和藥泵,藥泵連接液位調整管。
本發明的進一步改進在于:電控柜包括報警器、顯示器、CPU處理器和操作鍵,報警器設于顯示器頂部,顯示器底部連接操作鍵,操作鍵連接CPU處理器,CPU處理器連接動力組、脫水主體和濃縮部、供水電磁閥、污泥輸送泵和藥泵。
本發明的進一步改進在于:離心機上設有壓力表,壓力表連接電控柜上的報警器。
本發明的進一步改進在于:污泥輸送泵和藥泵同時投加到絮凝混合槽內的物料比例為60:1。
本發明的進一步改進在于:固定環和游動環均采用SUS304材質,固定環和游動環通過固定件固定,可拆卸。
本發明的進一步改進在于:動力組采用四組發動機為一個驅動組。
與現有技術相比,本發明的有益效果是:
本發明結構簡單,螺旋軸在輸送污泥的同時,推動游動環做圓周運動,具有自動清洗濾縫的功能,防止堵塞,便于清洗,從而確保脫水機持續穩定運行,脊壓板有效進行餅泥擠壓,降低含水率,增加增固率,固定環和游動環均采用SUS304材質,結構緊密,強度大,耐腐蝕效果好,延長使用壽命,可拆卸,清洗、維修更方便。



