申請日2017.09.27
公開(公告)日2018.02.06
IPC分類號C02F1/04
摘要
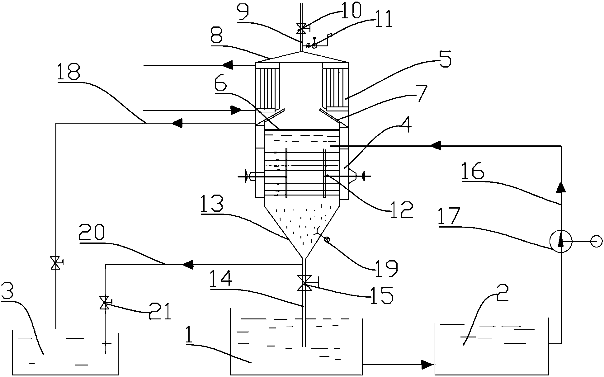
本發明涉及廢水處理技術領域,具體是指一種真空低溫蒸發式廢水處理系統,它包括廢水沉淀池(1)、澄清池(2)、清水池(3)、換熱器(4),所述換熱器(4)上方設有環形凝汽器(5),所述環形凝汽器(5)上方設有抽真空導管(8),所述抽真空導管(8)連接設有真空破壞管(9),所述真空破壞管(9)上連接設有真空泵(11),所述換熱器(4)上設有套接在換熱管束(4.2)上的可以移動的用于清理沉積物和結晶的管束清理裝置(12)。本發明的優點是:整套系統造價低,應用前景廣闊,裝置垂直布置,節省占地面積,充分利用低品質熱能,廢水處理能耗低,處理后的水為蒸餾水,品質高。
權利要求書
1.一種真空低溫蒸發式廢水處理系統,其特征在于:它包括廢水沉淀池(1)、澄清池(2)、清水池(3)、換熱器(4),所述換熱器(4)上方設有環形凝汽器(5),所述換熱器(4)與環形凝汽器(5)之間設有凈汽孔板(6),所述凈汽孔板(6)上設有傾斜設置的環形擋水板(7),所述環形凝汽器(5)上方設有抽真空導管(8),所述抽真空導管(8)連接設有真空破壞管(9),所述真空破壞管(9)設有真空破壞閥(10),所述真空破壞管(9)上連接設有真空泵(11),所述換熱器(4)包括兩個換熱箱(4.1)和設置在兩換熱箱(4.1)之間的換熱管束(4.2),所述換熱器(4)上設有換熱器進水口(4.3)和換熱器出水口(4.4),所述換熱器(4)上設有套接在換熱管束(4.2)上的可以移動的用于清理沉積物和結晶的管束清理裝置(12),所述換熱器(4)下方設有漏斗(13),所述漏斗(13)連接設有伸入廢水沉淀池(1)的下降管(14),所述下降管(14)設有下降管閥門(15),所述換熱器(4)與澄清池(2)之間連接設有補水管(16),所述補水管(16)上設有補水泵(17),所述環形擋水板(7)連接設有伸入清水池(3)的凝結水管(18)。
2.根據權利要求1所述的一種真空低溫蒸發式廢水處理系統,其特征在于:所述環形凝汽器(5)包括冷卻管束(5.1)、下方的入水環形聯箱(5.2)和上方的出水環形聯箱(5.3),所述入水環形聯箱(5.2)上設有冷卻水入口(5.4),所述出水環形聯箱(5.3)上設有冷卻水出口(5.5),所述入水環形聯箱(5.2)設有下孔板(5.6),所述出水環形聯箱(5.3)設有上孔板(5.7)。
3.根據權利要求1所述的一種真空低溫蒸發式廢水處理系統,其特征在于:所述管束清理裝置(12)包括與換熱管束(4.2)套接的管束清理刮板(12.1),所述管束清理刮板(12.1)連接設有往復螺桿(12.2),所述往復螺桿(12.2)在遠離管束清理刮板(12.1)的端部套接設有手柄(12.3),所述往復螺桿(12.2)上下設有連接在換熱箱(4.1)上的剛性上下支撐行走梁(12.4),所述往復螺桿(12.2)與換熱箱(4.1)連接處設有密封圈(12.5),所述管束清理刮板(12.1)上的孔洞與換熱管束(4.2)一一對應,所述管束清理刮板(12.1)與換熱管束(4.2)中間設有耐高溫橡膠墊(12.6)。
4.根據權利要求1所述的一種真空低溫蒸發式廢水處理系統,其特征在于:所述漏斗(13)上設有電動攪拌器(19)。
5.根據權利要求1所述的一種真空低溫蒸發式廢水處理系統,其特征在于:所述下降管(14)連接設有伸入清水池(3)的下降管旁路管(20),所述下降管旁路管(20)設有下降管旁路閥門(21)。
6.根據權利要求1所述的一種真空低溫蒸發式廢水處理系統,其特征在于:所述環形擋水板(7)的傾斜角度為45°。
7.根據權利要求1所述的一種真空低溫蒸發式廢水處理系統,其特征在于:所述換熱管束(4.2)為不銹鋼材質。
說明書
一種真空低溫蒸發式廢水處理系統
技術領域
本發明涉及廢水處理技術領域,具體是指一種真空低溫蒸發式廢水處理系統。
背景技術
隨著我國城市化、工業化進程的加速,全國廢水的排放量也逐年增加,導致自然水體不斷惡化,水資源污染形勢十分嚴峻,全國廢水排放總量持續較快增長,全國廢水處理率仍較低,現有的廢水處理系統占地面積大、能耗高、造價高,很難滿足目前處理廢水的需要。
發明內容
本發明要解決的技術問題是解決目前廢水處理系統所存在的諸多問題,提供一種真空低溫蒸發式廢水處理系統。
為解決上述技術問題,本發明提供的技術方案為:它包括廢水沉淀池、澄清池、清水池、換熱器,所述換熱器上方設有環形凝汽器,所述換熱器與環形凝汽器之間設有凈汽孔板,所述凈汽孔板上設有傾斜設置的環形擋水板,所述環形凝汽器上方設有抽真空導管,所述抽真空導管連接設有真空破壞管,所述真空破壞管設有真空破壞閥,所述真空破壞管上連接設有真空泵,所述換熱器包括兩個換熱箱和設置在兩換熱箱之間的換熱管束,所述換熱器上設有換熱器進水口和換熱器出水口,所述換熱器上設有套接在換熱管束上的可以移動的用于清理沉積物和結晶的管束清理裝置,所述換熱器下方設有漏斗,所述漏斗連接設有伸入廢水沉淀池的下降管,所述下降管設有下降管閥門,所述換熱器與澄清池之間連接設有補水管,所述補水管上設有補水泵,所述環形擋水板連接設有伸入清水池的凝結水管。
采用以上結構后,本發明具有如下優點:整套系統造價低,裝置垂直布置,節省占地面積,充分利用低品質熱能,廢水處理能耗低,處理后的水為蒸餾水,品質高,本裝置水位采用真空自維持控制,真空泵可以保證上部蒸汽區域的真空度,所述環形擋水板可以保證凝結水與污水不混合,管束清理裝置采用采用刮刷式設計,解決廢水雜質沉積在加熱管束上影響換熱效果問題,所述的漏斗方便蒸發后的濃縮混合水由于重力作用不斷下沉并通過下降管沉至沉淀池,并在沉淀池中完成固液分離,依次循環,本系統市場前景廣闊,可在沿海進行海水淡化和海鹽提取工作。
作為改進,所述環形凝汽器包括冷卻管束、下方的入水環形聯箱和上方的出水環形聯箱,所述入水環形聯箱上設有冷卻水入口,所述出水環形聯箱上設有冷卻水出口,所述入水環形聯箱設有下孔板,所述出水環形聯箱設有上孔板,所述環形凝汽器下部為擋水板,方便收集蒸汽冷卻凝結的凝結水,有利于與下部換熱器形成立體布置,節約空間和土地,冷卻水從下方向上注入,下孔板的孔洞較多,上孔板的孔洞較少,可以保證冷卻水在環形凝汽器停留更多時間,起到更好的冷卻效果。
作為改進,所述管束清理裝置包括與換熱管束套接的管束清理刮板,所述管束清理刮板連接設有往復螺桿,所述往復螺桿在遠離管束清理刮板的端部套接設有手柄,所述往復螺桿上下設有連接在換熱箱上的剛性上下支撐行走梁,所述往復螺桿與換熱箱連接處設有密封圈,所述管束清理刮板上的孔洞與換熱管束一一對應,所述管束清理刮板與換熱管束中間設有耐高溫橡膠墊。所述管束清理裝置采用工業閥門的螺旋桿設計方案,通過外部的手柄旋轉,帶動管束清理刮板做往復運動,管束清理刮板行程為換熱管束長度一半。管束清理刮板上孔洞與換熱管束一一對應,管束清理刮板為鑄鐵材質,鑄鐵不與換熱管束接觸,中間夾耐高溫橡墊,管束清理刮板往復運動,清理管束上的沉積物和結晶,保證換熱管束的換熱效果。
作為改進,所述漏斗上設有電動攪拌器,可以有效防止廢水雜質沉淀在裝置壁上。
作為改進,所述下降管連接設有伸入清水池的下降管旁路管,所述下降管旁路管設有下降管旁路閥門,可放出部分清水至清水池。



