申請日2017.09.27
公開(公告)日2018.01.23
IPC分類號A47L11/292
摘要
本發明涉及一種吸水干燥一體式家用地板積水處理設備,包括積水處理裝置主體、拉桿、壓塊、干燥風扇和第二液壓氣缸,所述積水處理裝置主體的左上端固定有支架,且支架的上方安置有吸水管,所述積水處理裝置主體內部的右上方拐角設置有集塵箱,且集塵箱的右上端固定有凸塊,所述集塵箱的內部貫穿有吸塵管,且吸塵管的底端連接有拉伸管,所述積水處理裝置主體的內壁固定有第一液壓氣缸,且第一液壓氣缸的內壁固定有第一連接桿。本發明的有益效果是:該吸水干燥一體式家用地板積水處理設備設置有吸水滾柱,通過吸水滾柱在地面上的滾動可以快速的將地面上的積水進行吸附,從而避免了人工操作的繁瑣,提高了積水處理的效率。
權利要求書
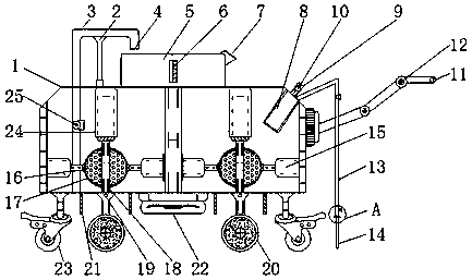
1.一種吸水干燥一體式家用地板積水處理設備,包括積水處理裝置主體(1)、拉桿(11)、壓塊(17)、干燥風扇(22)和第二液壓氣缸(24),其特征在于:所述積水處理裝置主體(1)的左上端固定有支架(2),且支架(2)的上方安置有吸水管(3),所述吸水管(3)的右端連接有出水口(4),且出水口(4)的下方設置有水箱(5),所述水箱(5)的外表面固定有觀察口(6),且水箱(5)的右上角固定有傾倒口(7),所述積水處理裝置主體(1)內部的右上方拐角設置有集塵箱(8),且集塵箱(8)的右上端固定有凸塊(9),所述凸塊(9)上鑲嵌有拉環(10),所述拉桿(11)的左端連接有積水處理裝置主體(1),且拉桿(11)之間通過轉動軸(12)相連接,所述集塵箱(8)的內部貫穿有吸塵管(13),且吸塵管(13)的底端連接有拉伸管(14),所述積水處理裝置主體(1)的內壁固定有第一液壓氣缸(15),且第一液壓氣缸(15)的內壁固定有第一連接桿(16),所述壓塊(17)的外側連接有第一連接桿(16),且壓塊(17)的內側設置有第二連接桿(18),所述第二連接桿(18)的底端通過第三連接桿(19)與吸水滾柱(20)相連接,且第三連接桿(19)的外側安裝有蓋體(21),所述干燥風扇(22)的外側安置有蓋體(21),且蓋體(21)的左右兩側均安裝有萬向輪(23),所述第二液壓氣缸(24)的底端連接有第二連接桿(18),且第二液壓氣缸(24)的左側設置有加壓水泵(25)。
2.根據權利要求1所述的一種吸水干燥一體式家用地板積水處理設備,其特征在于:所述水箱(5)的上表面鑲嵌有進水口(28),且進水口(28)的中軸線與出水口(4)的中軸線互相重合。
3.根據權利要求1所述的一種吸水干燥一體式家用地板積水處理設備,其特征在于:所述傾倒口(7)的內部為貫通狀結構,且傾倒口(7)與水箱(5)之間的夾角為45°。
4.根據權利要求1所述的一種吸水干燥一體式家用地板積水處理設備,其特征在于:所述集塵箱(8)與積水處理裝置主體(1)之間為活動連接結構,且凸塊(9)與集塵箱(8)之間的連接方式為焊接。
5.根據權利要求1所述的一種吸水干燥一體式家用地板積水處理設備,其特征在于:所述拉伸管(14)的側面鑲嵌有螺孔(29),且螺孔(29)內貫穿有螺栓(27),螺孔(29)與螺栓(27)之間的外形尺寸相吻合。
6.根據權利要求1所述的一種吸水干燥一體式家用地板積水處理設備,其特征在于:所述拉伸管(14)與吸塵管(13)之間為活動連接結構。
7.根據權利要求1所述的一種吸水干燥一體式家用地板積水處理設備,其特征在于:所述壓塊(17)與第一液壓氣缸(15)之間構成伸縮結構,且壓塊(17)的伸縮范圍為0-2cm,壓塊(17)為半球狀,且壓塊(17)的表面為鏤空網狀結構。
8.根據權利要求1所述的一種吸水干燥一體式家用地板積水處理設備,其特征在于:所述壓塊(17)設置有四個,且2個壓塊(17)構成的內部空間與吸水滾柱(20)的外形尺寸相吻合。
9.根據權利要求1所述的一種吸水干燥一體式家用地板積水處理設備,其特征在于:所述吸水滾柱(20)與第二液壓氣缸(24)構成升降結構,且吸水滾柱(20)的升降范圍為0-8cm,吸水滾柱(20)的最低點與萬向輪(23)的最低點位于同一水平線上,且吸水滾柱(20)為海綿材質。
10.根據權利要求1所述的一種吸水干燥一體式家用地板積水處理設備,其特征在于:所述蓋體(21)的外側連接有旋轉軸(26),且蓋體(21)與旋轉軸(26)構成旋轉結構,蓋體(21)的旋轉范圍為0-90°。
說明書
一種吸水干燥一體式家用地板積水處理設備
技術領域
本發明涉及木地板積水處理裝置技術領域,具體為一種吸水干燥一體式家用地板積水處理設備。
背景技術
現在的家庭中大部分都是鋪設木地板,木地板是指用木材制成的地板,木地板具有美觀自然、無污染、質輕而強、容易加工、保溫性好、調節溫度等優點,但是在平時生活中由于大意經常會導致木地板上積水,木地板在經過水的浸泡過后會影響到其使用壽命,因此需要及時對木地板上的積水進行處理,從而保證木地板干燥。
現有的家用地板積水處理都是使用拖把和掃把等一些工具,這樣的積水處理方法不僅勞動量過大而且積水處理的效率過低,不能以最快的速度保證木地板的干燥,從而影響了木地板的使用壽命。
發明內容
本發明的目的在于提供一種吸水干燥一體式家用地板積水處理設備,以解決上述背景技術中提出的現有的家用地板積水處理都是使用拖把和掃把等一些工具,這樣的積水處理方法不僅勞動量過大而且積水處理的效率過低,不能以最快的速度保證木地板的干燥,從而影響了木地板的使用壽命的問題。
為實現上述目的,本發明提供如下技術方案:一種吸水干燥一體式家用地板積水處理設備,包括積水處理裝置主體、拉桿、壓塊、干燥風扇和第二液壓氣缸,所述積水處理裝置主體的左上端固定有支架,且支架的上方安置有吸水管,所述吸水管的右端連接有出水口,且出水口的下方設置有水箱,所述水箱的外表面固定有觀察口,且水箱的右上角固定有傾倒口,所述積水處理裝置主體內部的右上方拐角設置有集塵箱,且集塵箱的右上端固定有凸塊,所述凸塊上鑲嵌有拉環,所述拉桿的左端連接有積水處理裝置主體,且拉桿之間通過轉動軸相連接,所述集塵箱的內部貫穿有吸塵管,且吸塵管的底端連接有拉伸管,所述積水處理裝置主體的內壁固定有第一液壓氣缸,且第一液壓氣缸的內壁固定有第一連接桿,所述壓塊的外側連接有第一連接桿,且壓塊的內側設置有第二連接桿,所述第二連接桿的底端通過第三連接桿與吸水滾柱相連接,且第三連接桿的外側安裝有蓋體,所述干燥風扇的外側安置有蓋體,且蓋體的左右兩側均安裝有萬向輪,所述第二液壓氣缸的底端連接有第二連接桿,且第二液壓氣缸的左側設置有加壓水泵。
優選的,所述水箱的上表面鑲嵌有進水口,且進水口的中軸線與出水口的中軸線互相重合。
優選的,所述傾倒口的內部為貫通狀結構,且傾倒口與水箱之間的夾角為45°。
優選的,所述集塵箱與積水處理裝置主體之間為活動連接結構,且凸塊與集塵箱之間的連接方式為焊接。
優選的,所述拉伸管的側面鑲嵌有螺孔,且螺孔內貫穿有螺栓,螺孔與螺栓之間的外形尺寸相吻合。
優選的,所述壓塊與第一液壓氣缸之間構成伸縮結構,且壓塊的伸縮范圍為0-2cm,壓塊為半球狀,且壓塊的表面為鏤空網狀結構。
優選的,所述壓塊設置有四個,且個壓塊構成的內部空間與吸水滾柱的外形尺寸相吻合。
優選的,所述吸水滾柱與第二液壓氣缸構成升降結構,且吸水滾柱的升降范圍為0-8cm,吸水滾柱的最低點與萬向輪的最低點位于同一水平線上,且吸水滾柱為海綿材質。
優選的,所述蓋體的外側連接有旋轉軸,且蓋體與旋轉軸構成旋轉結構,蓋體的旋轉范圍為0-90°。
與現有技術相比,本發明的有益效果是:該吸水干燥一體式家用地板積水處理設備,設置有吸水滾柱,通過吸水滾柱在地面上的滾動可以快速的將地面上的積水進行吸附,從而避免了人工操作的繁瑣,提高了積水處理的效率,同時通過第二液壓氣缸的帶動可以將吸水滾柱升起,將吸水滾柱上升到設備主體內部后可以通過壓塊對吸水滾柱進行擠壓,將吸水滾柱上的水擠壓出來,擠壓完成后吸水滾柱可以下降繼續進行吸水,這樣很好的保證了吸水滾柱的吸水效果,設置有加壓水泵,加壓出來的積水通過加壓水泵可以進入到水箱中,水箱上設置的傾倒口可以更加方便的對積水進行傾倒,實用性更強,設置有干燥風扇,干燥風扇可以快速的對地板進行風干,而且通過吸塵管可以將干燥完成后地面的灰塵進行吸收,灰塵通過吸塵管進入到集塵箱中,通過凸塊對集塵箱的抽拉可以方便的將集塵箱進行拆卸處理,大大提高了該吸水干燥一體式家用地板積水處理設備的實用性。



