申請日2017.09.27
公開(公告)日2017.12.22
IPC分類號C02F9/14
摘要
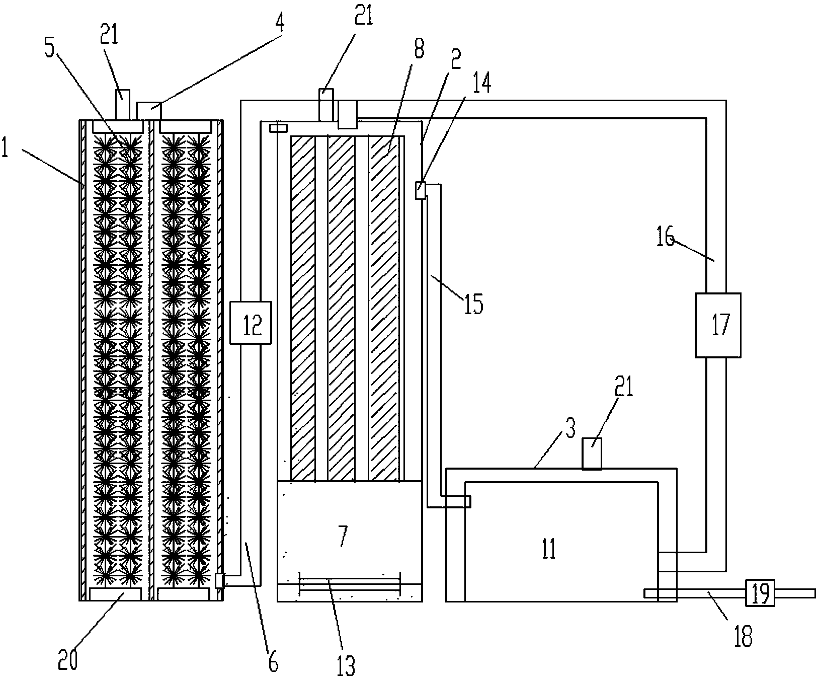
本發明公開了一種中空纖維復合生物膜污水處理設備,包括缺氧池、好氧池和超濾池,所述缺氧池的頂部設有進水口,所述缺氧池內懸掛有pp棉濾芯,所述缺氧池和好氧池之間通過抽水管道連通,所述好氧池內固設有曝氣槽,所述好氧池內安裝有中空纖維復合生物膜濾芯,所述中空纖維復合生物膜濾芯的生物膜包覆在中空纖維膜的中間,所述超濾池內固設有UF超濾膜裝置,所述UF超濾膜裝置與所述好氧池之間相互連通,該中空纖維復合生物膜污水處理設備結構簡單,體積小,成本低,操作管理方便,易于實現自動化,能夠提高凈水效率。
權利要求書
1.一種中空纖維復合生物膜污水處理設備,其特征在于:包括缺氧池、好氧池和超濾池,所述缺氧池的頂部設有進水口,所述缺氧池內懸掛有pp棉濾芯,所述缺氧池和好氧池之間通過抽水管道連通,所述好氧池內固設有曝氣槽,所述好氧池內安裝有中空纖維復合生物膜濾芯,所述中空纖維復合生物膜濾芯的生物膜包覆在中空纖維膜的中間,所述超濾池內固設有UF超濾膜裝置,所述UF超濾膜裝置與所述好氧池之間相互連通。
2.根據權利要求1所述的一種中空纖維復合生物膜污水處理設備,其特征在于:所述抽水管道的一端連接在所述缺氧池的側壁下端部分,另一端連接在所述好氧池的頂部,所述抽水管道上安裝有抽水泵。
3.根據權利要求2所述的一種中空纖維復合生物膜污水處理設備,其特征在于:所述曝氣槽位于所述好氧池的底部,所述中空纖維復合生物膜濾芯位于所述曝氣槽的上方,所述曝氣槽中固設有曝氣管。
4.根據權利要求3所述的一種中空纖維復合生物膜污水處理設備,其特征在于:所述超濾池位于所述好氧池的一側,所述好氧池的側壁上端部分設有出水口,所述超濾池位于所述出水口的下方。
5.根據權利要求4所述的一種中空纖維復合生物膜污水處理設備,其特征在于:所述UF超濾膜裝置與所述好氧池的出水口之間連通有進水管,所述UF超濾膜裝置的回流管連接在所述缺氧池的頂部,所述UF超濾膜裝置中的超濾膜為管式UF超濾膜。
6.根據權利要求5所述的一種中空纖維復合生物膜污水處理設備,其特征在于:所述回流管上安裝有回流泵。
7.根據權利要求6所述的一種中空纖維復合生物膜污水處理設備,其特征在于:所述UF超濾膜裝置上設有排水管,所述排水管伸出所述超濾池,所述排水管上安裝有排水泵。
8.根據權利要求7所述的一種中空纖維復合生物膜污水處理設備,其特征在于:所述缺氧池內部的上、下兩端均固定有PP板條,所述pp棉濾芯的兩端分別固定在所述缺氧池上、下兩端的PP板條上。
9.根據權利要求8所述的一種中空纖維復合生物膜污水處理設備,其特征在于:所述缺氧池、好氧池和超濾池的頂部均設有向上凸起的排氣孔。
說明書
一種中空纖維復合生物膜污水處理設備
技術領域
本發明涉及一種生物膜污水處理設備,尤其涉及一種中空纖維復合生物膜污水處理設備。
背景技術
居民用水和工業處理后的水通常會排放到河道中,時間久了,河道內的水會變得又黑又臭,治理起來非常困難,這種黑臭水治中較多的藻類、細菌等微生物,而現有的污水處理設備結構比較復雜,成本比較高,對這種黑臭水的凈化效率比較低。
發明內容
為解決上述技術問題,本發明的目的是提供一種能夠提高凈水效率,降低成本的中空纖維復合生物膜污水處理設備。
本發明提出的一種中空纖維復合生物膜污水處理設備,包括缺氧池、好氧池和超濾池,所述缺氧池的頂部設有進水口,所述缺氧池內懸掛有pp棉濾芯,所述缺氧池和好氧池之間通過抽水管道連通,所述好氧池內固設有曝氣槽,所述好氧池內安裝有中空纖維復合生物膜濾芯,所述中空纖維復合生物膜濾芯的生物膜包覆在中空纖維膜的中間,所述超濾池內固設有UF超濾膜裝置,所述UF超濾膜裝置與所述好氧池之間相互連通。
進一步的,所述抽水管道的一端連接在所述缺氧池的側壁下端部分,另一端連接在所述好氧池的頂部,所述抽水管道上安裝有抽水泵。
進一步的,所述曝氣槽位于所述好氧池的底部,所述中空纖維復合生物膜濾芯位于所述曝氣槽的上方,所述曝氣槽中固設有曝氣管。
進一步的,所述超濾池位于所述好氧池的一側,所述好氧池的側壁上端部分設有出水口,所述超濾池位于所述出水口的下方。
進一步的,所述UF超濾膜裝置與所述好氧池的出水口之間連通有進水管,所述UF超濾膜裝置的回流管連接在所述缺氧池的頂部,所述UF超濾膜裝置中的超濾膜為管式UF超濾膜。
進一步的,所述回流管上安裝有回流泵。
進一步的,所述UF超濾膜裝置上設有排水管,所述排水管伸出所述超濾池,所述排水管上安裝有排水泵。
進一步的,所述缺氧池內部的上、下兩端均固定有PP板條,所述pp棉濾芯的兩端分別固定在所述缺氧池上、下兩端的PP板條上。
進一步的,所述缺氧池、好氧池和超濾池的頂部均設有向上凸起的排氣孔。
借由上述方案,本發明至少具有以下優點:利用缺氧池中的pp棉濾芯對黑臭水進行初級過濾,去除黑臭水中的顆粒物,然后通過抽水泵將缺氧池的水抽到好氧池中,通過中空纖維復合生物膜濾芯進行二級過濾,去除水中的藻類、細菌等微生物,再通過進水管將好氧池中的水排到超濾池中,通過UF超濾膜裝置進行三級過濾,UF超濾膜裝置過濾后的凈水通過排水管排出,濃水通過回流管回流到好氧池中,整個設備結構簡單,體積小,成本低,操作管理方便,易于實現自動化,能夠提高凈水效率。



