申請日2017.09.27
公開(公告)日2017.12.15
IPC分類號C02F9/04
摘要
本發明公開了一種基于軸承生產的廢水處理裝置及方法。本發明包括處理池;處理池包括內層、防泄層和外層;防泄層以填充的方式填充于內層和外層之間,處理池的相對兩側內壁上交錯安裝有第一電磁攪拌器和第二電磁攪拌器;處理池上固定安裝有一固定板,固定板上裝設有一濾筒,濾筒內有一支撐盤,支撐盤和濾筒底側之間填充有活性炭層,支撐盤一表面上裝設有過濾網;濾筒固定有一導管;導管貫穿通過濾筒的底部和固定板。本發明通過濾筒的過濾作用以及處理池對廢水的化學凝聚作用,實現了對軸承生產廢水的高效環保處理。
利要求書
1.一種基于軸承生產的廢水處理裝置,包括處理池,其特征在于:
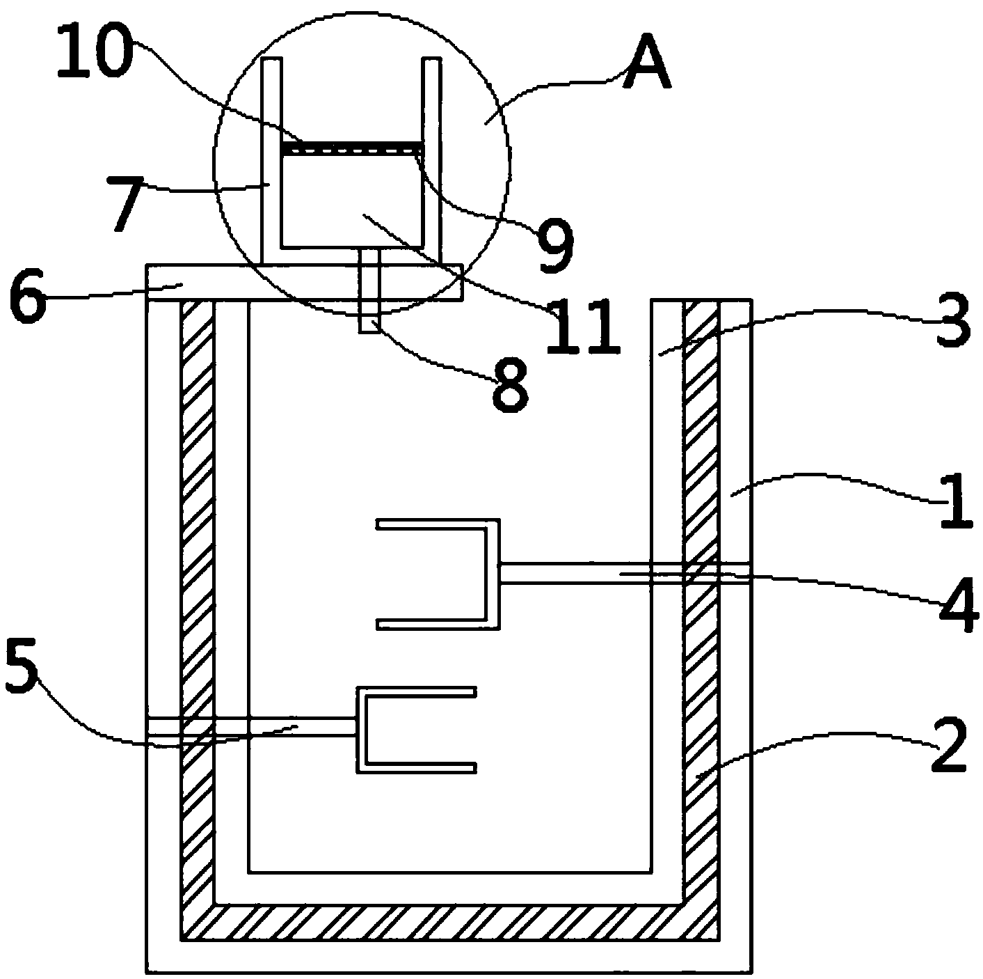
所述處理池包括內層(3)、防泄層(2)和外層(1);所述防泄層(2)以填充的方式填充于內層(3)和外層(1)之間,所述處理池的相對兩側內壁上交錯安裝有第一電磁攪拌器(4)和第二電磁攪拌器(5);
所述處理池上固定安裝有一固定板(6),所述固定板(6)上裝設有一濾筒(7),所述濾筒(7)內有一支撐盤(9),所述支撐盤(9)和濾筒(7)底側之間填充有活性炭層(11),所述支撐盤(9)一表面上裝設有過濾網(10);所述濾筒(7)固定有一導管(8);所述導管(8)貫穿通過濾筒(7)的底部和固定板(6)。
2.根據權利要求1所述的一種基于軸承生產的廢水處理裝置,其特征在于,所述導管(8)的進水端位于濾筒(7)的底部,所述導管(8)的出水端位于處理池的內層(3)上方。
3.根據權利要求1所述的一種基于軸承生產的廢水處理裝置,其特征在于,所述內層(3)為水泥、陶瓷或其他耐酸材料制成。
4.根據權利要求1所述的一種基于軸承生產的廢水處理裝置,其特征在于,所述防泄層(2)為橡膠材料制成,所述外層(1)為混凝土材質層。
5.根據權利要求1所述的一種基于軸承生產的廢水處理裝置,其特征在于,所述支撐盤(9)上開設有若干通孔(91)。
6.根據權利要求1所述的一種基于軸承生產的廢水處理裝置,其特征在于,所述濾網孔徑大小為5-40目。
7.一種基于軸承生產的廢水處理方法,其特征在于,包括如下步驟:
SS01、通過濾筒對生產廢水進行初步過濾,除去廢水含有的固體顆粒雜質;
SS02、廢水進入處理池,使用電磁攪拌器攪拌5-10min后,用PH計對處理池中的廢水進行PH測定并獲取讀數X,用桿子和卷尺測量處理池中的水深h及處理池的表面積S,通過水深h和表面積S計算廢水的體積V=h*S;
SS03、根據SS02中的PH讀數X、廢水的體積V和使用的硫酸濃度C,通過PH計算公式計算出PH調整至3-5所需的硫酸的量;
SS04、向處理池中加入計算好的所需量的硫酸,并使用電磁攪拌器攪拌5-30min;
SS05、向處理池廢水中投加5~10%石灰乳液、10%PAC聚合氯化鋁和0.1%PAM聚丙烯酰胺三種藥劑,使用電磁攪拌器攪拌5-30min后停止攪拌靜置1-5h。
說明書
一種基于軸承生產的廢水處理裝置及方法
技術領域
本發明屬于軸承生產技術領域,特別是涉及一種基于軸承生產的廢水處理裝置及方法。
背景技術
軸承是在機械傳動過程中起固定和減小載荷摩擦系數的部件,是當代機械設備中一種舉足輕重的零部件,廣泛應用于汽車、空調、電動機、齒輪裝置、注塑成型劑、機床、礦山機械、工程機械、摩托車、辦公設備、造紙機械、泵及壓縮機、鐵道等領域。據中國軸承工業協會相關數據顯示,全國軸承生產企業約為4000~5000家,達到一定銷售規模的達1750家,僅用于汽車配套的就有30多家。
為了確保軸承的公差和技術要求,不可避免地需要經過磨加工、精研或拋光、研磨等步驟。產生的研磨液為人工金剛砂(SiC)、天然金剛砂(Al2O3)、石英砂(SiO2)以及硬脂酸、油酸、石蠟、防銹劑、增稠劑等成分,其排放的廢水一般污染成分為CODCr(化學需氧量)1000-1500mg/L,BOD5(生化需氧量)300-500mg/L,SS(懸浮物)600-1000mg/L,石油類(n-Hex)80-100mg/L,廢水排水量一般為100-300m3/d。
排水中的油分主要以乳化液狀態存在,通常此類含油研磨廢水的處理手段是順序經隔油、氣浮、曝氣生化至砂濾處理后排放,這種處理方法往往存在破乳不充分、隔油和除油處理不佳而導致曝氣生化處理效果不佳,一些磨料及懸浮物氣浮時因受表面活性劑等影響,不能正常浮上等現象。
發明內容
本發明的目的在于提供一種基于軸承生產的廢水處理裝置,通過本發明的廢水處理裝置及處理方法,實現了對軸承生產廢水的高效環保處理。
為解決上述技術問題,本發明是通過以下技術方案實現的:
本發明為一種基于軸承生產的廢水處理裝置,包括處理池;
所述處理池包括內層、防泄層和外層;所述防泄層以填充的方式填充于內層和外層之間,所述處理池的相對兩側內壁上交錯安裝有第一電磁攪拌器和第二電磁攪拌器;
所述處理池上固定安裝有一固定板,所述固定板上裝設有一濾筒,所述濾筒內有一支撐盤,所述支撐盤和濾筒底側之間填充有活性炭層,所述支撐盤一表面上裝設有過濾網;所述濾筒固定有一導管;所述導管貫穿通過濾筒的底部和固定板。
進一步地,所述導管的進水端位于濾筒的底部,所述導管的出水端位于處理池的內層上方。
進一步地,所述內層為水泥、陶瓷或其他耐酸材料制成。
進一步地,所述防泄層為橡膠材料制成,所述外層為混凝土材質層。
進一步地,所述支撐盤上開設有若干通孔。
進一步地,所述支撐盤上開設有通孔的數目為5-100個。
進一步地,所述濾網孔徑大小為5-40目。
進一步地,所述濾網孔徑大小為16目。
一種基于軸承生產的廢水處理方法,包括如下步驟:
SS01、通過濾筒對生產廢水進行初步過濾,除去廢水含有的固體顆粒雜質;
SS02、廢水進入處理池,使用電磁攪拌器攪拌5-10min后,用PH計對處理池中的廢水進行PH測定并獲取讀數X,用桿子和卷尺測量處理池中的水深H及處理池的表面積S,通過水深H和表面積S計算廢水的體積V=H*S;
SS03、根據SS02中的PH讀數X、廢水的體積V和使用的硫酸濃度C,通過PH計算公式計算出PH調整至3-5所需的硫酸的量;
SS04、向處理池中加入計算好的所需量的硫酸,并使用電磁攪拌器攪拌5-30min;
SS05、向處理池廢水中投加5~10%石灰乳液、10%PAC聚合氯化鋁和0.1%PAM聚丙烯酰胺三種藥劑,使用電磁攪拌器攪拌5-30min后停止攪拌靜置1-5h。
本發明具有以下有益效果:
本發明通過于濾筒內填充活性炭并設有過濾網,實現對廢水的初步過濾吸附處理,減少后續廢水處理時化學藥劑的使用量,降低廢水處理成本;同時處理池采用三層結構設計,提高了處理池的使用壽命,避免處理池中的污水滲透至土壤給土壤生態帶來破壞。
當然,實施本發明的任一產品并不一定需要同時達到以上所述的所有優點。



