申請日2017.09.28
公開(公告)日2018.02.16
IPC分類號C02F3/00
摘要
本發明提供了一種可加熱的生物水處理罐,上過濾室和下過濾室相互連通,相鄰兩隔板之間通過連接桿均布固定有若干個生物過濾球,下過濾室和上過濾室之間的過渡通道設有過濾板,上過濾室內設有若干個相互交錯的水平隔板,相鄰兩個水平隔板之間設有弧形濾網。本發明所述的可加熱的生物水處理罐具有以下優勢:降低了污水處理罐的清洗頻率和維護成本,相應地,使得污水處理罐的工作時間延長,污水處理量增多,污水處理能力得到了提高,適于在嚴寒地區或者寒冷季節使用。
權利要求書
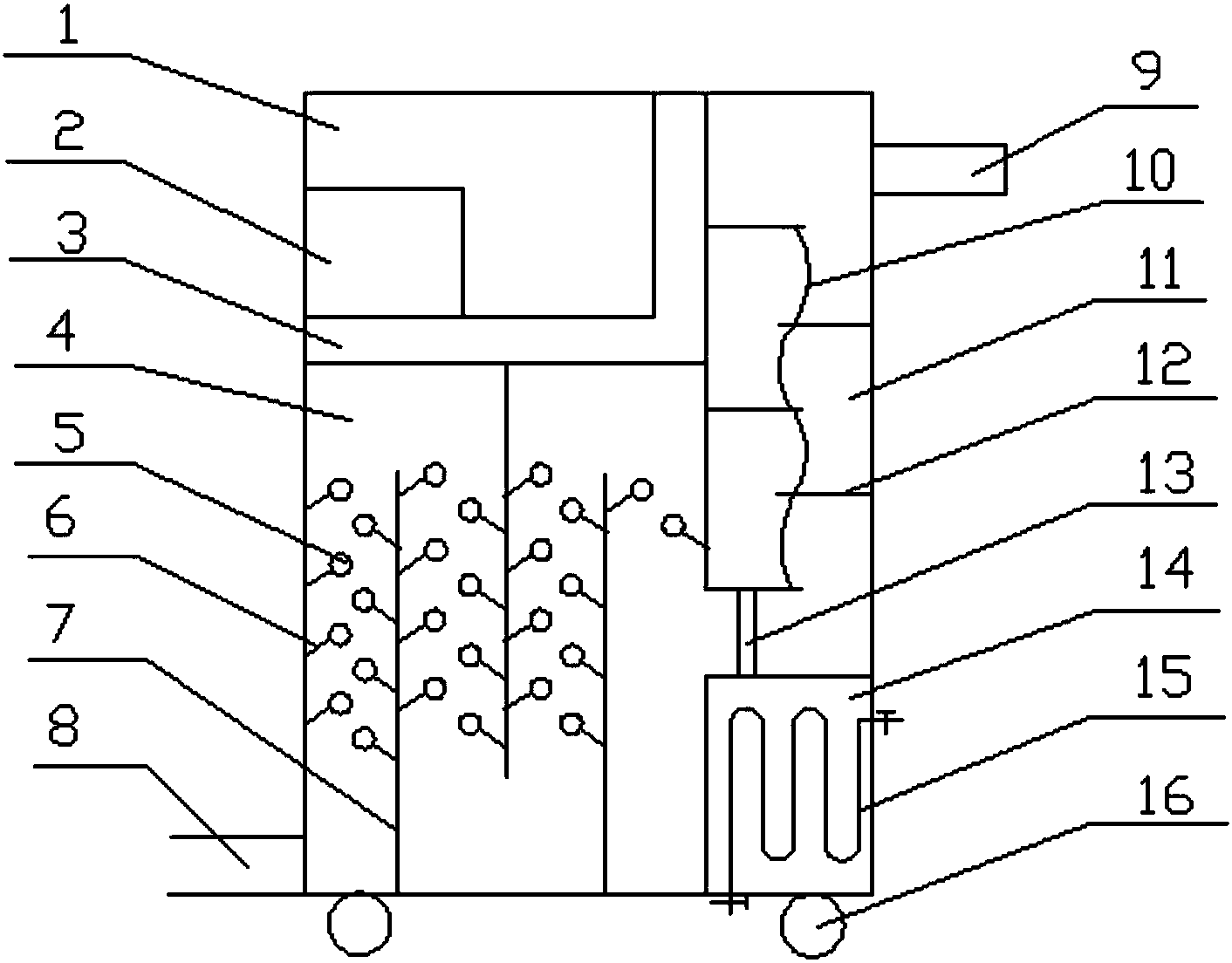
1.一種可加熱的生物水處理罐,其特征在于:包括罐體、上加熱室(1)、下加熱室(14)、下過濾室(4)和上過濾室(11),所述上加熱室(1)設于下過濾室(4)的上方,下加熱室(4)設于上過濾室(11)的下方,上過濾室(11)和下過濾室(4)相互連通,上加熱室(1)和下加熱室(14)分別設于罐體的對角處,下過濾室(4)的底部連通進液管(8),上過濾室(11)靠上部位置連通出液管(9),下過濾室(4)內設有若干個相互交錯的豎直隔板(7),相鄰兩隔板之間通過連接桿(6)均布固定有若干個生物過濾球(5),下過濾室(4)和上過濾室(11)之間的過渡通道設有過濾板(13),上過濾室(11)內設有若干個相互交錯的水平隔板(12),相鄰兩個水平隔板(12)之間設有弧形濾網(10),罐體的底部設有滾輪(16)。
2.根據權利要求1所述的可加熱的生物水處理罐,其特征在于:所述上加熱室(1)的底部和貼著上過濾室(11)的一側緊貼固定有加熱片(3),上加熱室(1)內設有供熱裝置(2),供熱裝置(2)連接加熱片(3)為其供熱。
3.根據權利要求2所述的可加熱的生物水處理罐,其特征在于:所述下加熱室(14)內設有散熱盤管(15),散熱盤管(15)的兩端均設有控制閥。
4.根據權利要求1~3任一項所述的可加熱的生物水處理罐,其特征在于:所述連接桿(6)連接生物過濾球(5)的一端朝上傾斜。
5.根據權利要求4所述的可加熱的生物水處理罐,其特征在于:每個連接桿(6)連接一個或多個生物過濾球(5)。
說明書
一種可加熱的生物水處理罐
技術領域
本發明屬于水處理設備領域,尤其是涉及一種可加熱的生物水處理罐。
背景技術
現有的污水處理設備中,其污水過濾裝置常用的為沙石式過濾器,沙石過濾器的體積較大,且過濾器的濾芯容易阻塞板結,導致過濾效果不佳,且板結后需要用大量清水進行反沖洗,反沖洗產生的污水需要再次進行過濾,造成污水處理設備的污水處理效率不高。
發明內容
有鑒于此,本發明旨在提出一種可加熱的生物水處理罐,能解決上述技術問題。
為達到上述目的,本發明的技術方案是這樣實現的:
一種可加熱的生物水處理罐,包括罐體、上加熱室、下加熱室、下過濾室和上過濾室,所述上加熱室設于下過濾室的上方,下加熱室設于上過濾室的下方,上過濾室和下過濾室相互連通,上加熱室和下加熱室分別設于罐體的對角處,下過濾室的底部連通進液管,上過濾室靠上部位置連通出液管,下過濾室內設有若干個相互交錯的豎直隔板,相鄰兩隔板之間通過連接桿均布固定有若干個生物過濾球,下過濾室和上過濾室之間的過渡通道設有過濾板,上過濾室內設有若干個相互交錯的水平隔板,相鄰兩個水平隔板之間設有弧形濾網,罐體的底部設有滾輪。
進一步,所述上加熱室的底部和貼著上過濾室的一側緊貼固定有加熱片,上加熱室內設有供熱裝置,供熱裝置連接加熱片為其供熱。
進一步,所述下加熱室內設有散熱盤管,散熱盤管的兩端均設有控制閥。
進一步,所述連接桿連接生物過濾球的一端朝上傾斜。
進一步,每個連接桿連接一個或多個生物過濾球。
相對于現有技術,本發明所述的可加熱的生物水處理罐具有以下優勢:降低了污水處理罐的清洗頻率和維護成本,相應地,使得污水處理罐的工作時間延長,污水處理量增多,污水處理能力得到了提高,適于在嚴寒地區或者寒冷季節使用。



