申請日2017.09.28
公開(公告)日2018.01.19
IPC分類號C02F9/14; C02F101/34
摘要
本發明公開了一種環保型含酚廢水吸附材料加工裝置及制備方法,包括初步反應箱和去酚箱,所述初步反應箱左上方固接有污水進口,所述初步反應箱左側上端固接有藥品進口,所述初步反應箱正下方兩端位置固接有支撐架;所述初步反應箱內部底端中心位置固接有電機;所述電機上端中心位置垂直固接有轉軸,所述轉軸上端固接有攪動棒,所述初步反應箱上方固接有氣體處理箱。本發明含酚污水通過污水進口進入初步反應箱中;緊固器用來開啟或者封閉污水進口;污水進入初步反應箱后,使用緊固器封閉污水進口,之后將反應藥品通過藥品進口送入初步反應箱中;電機帶動轉軸轉動;轉軸帶動攪動棒轉動攪拌污水,使污水和藥品充分反應。
權利要求書
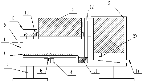
1.一種環保型含酚廢水吸附材料加工裝置,包括初步反應箱(1)和去酚箱(2),其特征在于:所述初步反應箱(1)左上方固接有污水進口(8),所述初步反應箱(1)左側上端固接有藥品進口(6),所述初步反應箱(1)正下方兩端位置固接有支撐架(3);所述初步反應箱(1)內部底端中心位置固接有電機(4);所述電機(4)上端中心位置垂直固接有轉軸(5),所述轉軸(5)上端固接有攪動棒(7),所述初步反應箱(1)上方固接有氣體處理箱(9);所述氣體處理箱(9)下方兩側對稱設置有限位塊(14),所述氣體處理箱(9)內部均勻設置有若干個吸收網(16),所述氣體處理箱(9)上端均勻設置有若干個通氣孔(13),所述初步反應箱(1)內部下方右側位置設置有水泵(11);所述水泵(11)上端垂直固接有水管(12),水管(12)上端固接在去酚箱(2)左側上端位置,所述去酚箱(2)內部均勻傾斜設置有若干個傾斜板(18);所述下方傾斜板(18)左側向下固接有延伸塊(20);所述去酚箱(2)右側下方位置設置有污水出口(17)。
2.根據權利要求1所述的一種環保型含酚廢水吸附材料加工裝置,其特征在于:所述電機(4)為多級變頻的防爆型電機。
3.根據權利要求1所述的一種環保型含酚廢水吸附材料加工裝置,其特征在于:所述支撐架(3)下端連有矩形防滑平面地板。
4.根據權利要求1所述的一種環保型含酚廢水吸附材料加工裝置,其特征在于:所述污水進口(8)下方設置有緊固器(10)。
5.根據權利要求1所述的一種環保型含酚廢水吸附材料加工裝置,其特征在于:所述氣體處理箱(9)兩側中心位置對稱設置有把手(15)。
6.根據權利要求1所述的一種環保型含酚廢水吸附材料加工裝置,其特征在于:所述傾斜板(18)向下傾斜15度。
7.根據權利要求1所述的一種環保型含酚廢水吸附材料加工裝置,其特征在于:所述傾斜板(18)上端覆蓋設置有吸酚樹脂(19)。
8.一種環保型含酚廢水吸附材料制備方法,其特征在于:包括以下步驟:
首先,污水進入初步反應箱(1)后,使用緊固器(10)封閉污水進口(8),之后將反應藥品通過藥品進口(6)送入初步反應箱(1)中;
其次,轉軸(5)帶動攪動棒(7)轉動攪拌污水,使污水和藥品充分反應;
然后,污水反應時產生的有害氣體通過氣體處理箱(9)處理后從通氣孔(13)被排出,當吸收網(16)吸收效率降低時,使用者通過把手(15)向上取下氣體處理箱(9),對吸收網(16)進行更換,更換完成后將氣體處理箱(9)重新卡接在兩個限位塊(14)之間,污水經過初步處理后被水泵(11)通過水管(12)送入去酚箱(2)中,通過吸酚樹脂(19)去除污水內的酚后再通過污水出口(17)被排出。
說明書
一種環保型含酚廢水吸附材料加工裝置及制備方法
技術領域
本發明屬于污水處理設備技術領域,特別是涉及一種環保型含酚廢水吸附材料加工裝置及制備方法。
背景技術
含酚廢水,是工業廢水之一,來源廣泛。工業廢水對環境污染最大。含酚廢水主要是指煉焦、煉油、造紙、塑料、陶瓷、紡織等工業產生的酚類有機污染物廢水。苯酚和其衍生物屬于芳香族(Aromatic)化合物,是一種原生質毒物,對生物體具有毒害作用,而且很難被降解。酚類物質已被美國國家環保局列為129種優先控制污染物黑名單當中的一種。因酚之毒性威脅于水生生物生長與繁殖,污染飲用之水源,對水體可造成嚴重污染,酚水在我國的水污染控制中已被列為需重點解決有害廢水之一。
當前,對于含酚類污水的處理方法主要可分為三大類:物理方法、化學方法和生物方法。與物化方法相比,生物方法不但更經濟、高效、處理量較大,更優越的是無二次污染。
吸附法屬于物理去除法的一種,是利用吸附劑吸附廢水中某種或幾種污染物,以便回收或去除它們,從而使廢水得到凈化的方法。吸附法處理含酚廢水時,具有處理效果好、可回收有用物料以及吸附劑可重復使用等優點,因此隨著現有吸附劑性能的不斷完善以及新型吸附劑的研制成功,吸附法在苯酚廢水處理中的應用前景將更加廣闊。
吸附法是一種簡單、易行的廢水處理方法,使用較廣泛的固體吸附劑有活性炭、磺化煤、膨潤土等。吸附法是利用吸附劑的多孔性質將廢水中的酚類物質吸附,吸附飽和后,再利用堿液、蒸汽或有機溶劑進行解吸脫附;钚蕴课椒▽Ω邼舛取⒌蜐舛群訌U水都有較好的處理效果;钚蕴康奈饺萘看螅瑢Ω、低濃度含酚廢水均有較好的去除效果,但其再生有一定的困難,存在解吸困難,解吸物的利用也困難等缺點。磺化煤以及膨潤土的吸附容量較小,經其處理后的廢水中的含酚量達不到排放要求,需對其進行改進。相對于粉末或顆粒狀活性炭,活性炭纖維(ACF)具有吸附容量大,吸附、解吸速率高,再生條件溫和等優點。
目前,在生產或者生活中都會產生大量的污水,污水如果直接排放會對環境產生污染,特別是對于污水中含有大量的酚使環境污染程度加劇,所以急需要一種裝置能去除污水中的酚。
發明內容
本發明的目的在于提供一種環保型含酚廢水吸附材料加工裝置及制備方法,以解決上述背景技術中提出的問題。
為實現上述目的,本發明提供如下技術方案(一):
一種環保型含酚廢水吸附材料加工裝置,包括初步反應箱和去酚箱,所述初步反應箱左上方固接有污水進口,所述初步反應箱左側上端固接有藥品進口,所述初步反應箱正下方兩端位置固接有支撐架;所述初步反應箱內部底端中心位置固接有電機;所述電機上端中心位置垂直固接有轉軸,所述轉軸上端固接有攪動棒,所述初步反應箱上方固接有氣體處理箱;所述氣體處理箱下方兩側對稱設置有限位塊,所述氣體處理箱內部均勻設置有若干個吸收網,所述氣體處理箱上端均勻設置有若干個通氣孔,所述初步反應箱內部下方右側位置設置有水泵;所述水泵上端垂直固接有水管,水管上端固接在去酚箱左側上端位置,所述去酚箱內部均勻傾斜設置有若干個傾斜板;所述下方傾斜板左側向下固接有延伸塊;所述去酚箱右側下方位置設置有污水出口。
作為本發明的一種優選技術方案,所述電機為多級變頻的防爆型電機。
作為本發明的一種優選技術方案,所述支撐架下端連有矩形防滑平面地板。
作為本發明的一種優選技術方案,所述污水進口下方設置有緊固器。
作為本發明的一種優選技術方案,所述氣體處理箱兩側中心位置對稱設置有把手。
作為本發明的一種優選技術方案,所述傾斜板向下傾斜15度。
作為本發明的一種優選技術方案,所述傾斜板上端覆蓋設置有吸酚樹脂。
本發明提供如下技術方案(二):
一種環保型含酚廢水吸附材料制備方法,包括以下步驟:
污水進入初步反應箱1后,使用緊固器10封閉污水進口8,之后將反應藥品通過藥品進口6送入初步反應箱1中。
之后轉軸5帶動攪動棒7轉動攪拌污水,使污水和藥品充分反應。
然后污水反應時產生的有害氣體通過氣體處理箱9處理后從通氣孔13被排出,當吸收網16吸收效率降低時,使用者通過把手15向上取下氣體處理箱9,對吸收網16進行更換,更換完成后將氣體處理箱9重新卡接在兩個限位塊14之間,污水經過初步處理后被水泵11通過水管12送入去酚箱2中,通過吸酚樹脂19去除污水內的酚后再通過污水出口17被排出。
與現有技術相比,本發明的有益效果是:
含酚污水通過污水進口進入初步反應箱中;緊固器用來開啟或者封閉污水進口;污水進入初步反應箱后,使用緊固器封閉污水進口,之后將反應藥品通過藥品進口送入初步反應箱中;電機帶動轉軸轉動;轉軸帶動攪動棒轉動攪拌污水,使污水和藥品充分反應;限位塊限制氣體處理箱的位置;吸收網用來吸收有害氣體;污水反應時產生的有害氣體通過氣體處理箱處理后從通氣孔被排出,當吸收網吸收效率降低時,使用者通過把手向上取下氣體處理箱,對吸收網進行更換,更換完成后將氣體處理箱重新卡接在兩個限位塊之間;污水經過初步處理后被水泵通過水管送入去酚箱中;吸酚樹脂用來吸收污水內的酚;處理完成后的污水通過污水出口被排出。



