公布日:2024.06.25
申請日:2024.03.13
分類號:C02F7/00(2006.01)I
摘要
本發明屬于污水處理技術領域,且公開了一種污水處理用曝氣風機,包括底座,所述底座的頂面分別固定安裝有電機和葉輪箱,所述電機轉軸的外表面和葉輪箱轉軸的外表面均固定套接有轉輪組件。本發明通過在非啟動下將分配組件套入至轉輪組件中,配合分配組件中的分隔板,將單個冷卻套管分隔成進入腔和排出腔,且配合轉輪組件中的冷卻腔和中間槽的連通,引導冷卻水在輪體運轉過程中導入并進行換熱,實現輪體和皮帶的快速降溫,避免過熱造成皮帶的壽命降低,且避免皮帶過熱引起彈性減小,傳動效率下降,大大提高了皮帶的使用壽命和穩定性,提高轉動曝氣效果,且冷卻過程在運行過程中實現,及時降溫冷卻,使用效果好。

權利要求書
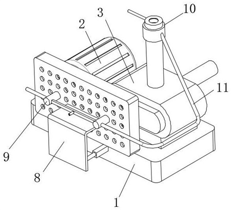
1.一種污水處理用曝氣風機,包括底座(1),其特征在于:所述底座(1)的頂面分別固定安裝有電機(2)和葉輪箱(3),所述電機(2)轉軸的外表面和葉輪箱(3)轉軸的外表面均固定套接有轉輪組件(4),所述底座(1)的側面固定設有移動組件(8),所述移動組件(8)的正面固定套接有分配組件(9),所述分配組件(9)的一端套設在轉輪組件(4)中且與轉輪組件(4)內部相連通,所述葉輪箱(3)的頂部固定連通有進氣管(6),所述進氣管(6)的頂部固定連通有消音組件(10),所述分配組件(9)的兩側均固定連通有排液管(11),一個所述排液管(11)與消音組件(10)固定連通,所述轉輪組件(4)的外側套設有皮帶(5);所述分配組件(9)包括冷卻套管(91)、分隔板(92)、中間套(93)和進液管(94),所述冷卻套管(91)與轉輪組件(4)轉動套接。
2.根據權利要求1所述的一種污水處理用曝氣風機,其特征在于:所述轉輪組件(4)包括輪體(41)、冷卻腔(42)和連通腔(43),所述冷卻腔(42)開設在輪體(41)的內部,所述連通腔(43)開設在輪體(41)的內部且與冷卻腔(42)相連通,所述冷卻腔(42)為環形腔室,所述轉輪組件(4)的數量為兩個,兩個所述輪體(41)分別固定套接在電機(2)轉軸的外表面和葉輪箱(3)轉軸的外表面上。
3.根據權利要求1所述的一種污水處理用曝氣風機,其特征在于:所述電機(2)轉軸的外表面和葉輪箱(3)轉軸的外表面均開設有中間槽(7),所述中間槽(7)與連通腔(43)相連通。
4.根據權利要求1所述的一種污水處理用曝氣風機,其特征在于:所述移動組件(8)包括防護框(81)、連接框(82)和電動推桿(83),所述電動推桿(83)固定安裝在底座(1)的正面上,所述防護框(81)位于轉輪組件(4)的外側,所述連接框(82)固定連接在電動推桿(83)的活動端上,所述連接框(82)與防護框(81)固定連接。
5.根據權利要求1所述的一種污水處理用曝氣風機,其特征在于:所述冷卻套管(91)固定套接在防護框(81)的正面且套接在輪體(41)的正面中,所述分隔板(92)固定連接在冷卻套管(91)的內部,所述中間套(93)固定連通在兩個冷卻套管(91)之間,所述進液管(94)固定連通在中間套(93)的正面。
6.根據權利要求1所述的一種污水處理用曝氣風機,其特征在于:所述消音組件(10)包括消音套(101)、內部腔(102)、中間環(103)、消音環(104)、換熱套(105)、中間孔(106)和回流管(107),所述消音套(101)固定連接在進氣管(6)的頂部,所述內部腔(102)開設在消音套(101)的內部,所述中間環(103)固定連接在內部腔(102)的內部,所述消音環(104)固定套接在中間環(103)的內表面上。
7.根據權利要求1所述的一種污水處理用曝氣風機,其特征在于:所述換熱套(105)固定連接在消音套(101)的頂部,所述中間孔(106)開設在消音套(101)的頂面且與換熱套(105)相連通,所述回流管(107)固定連通在換熱套(105)的側面上。
8.根據權利要求1所述的一種污水處理用曝氣風機,其特征在于:所述消音套(101)的側面開設有通口,所述排液管(11)與通口相連通。
發明內容
本發明的目的在于提供一種污水處理用曝氣風機,以解決上述背景技術中提出的問題。
為了實現上述目的,本發明提供如下技術方案:一種污水處理用曝氣風機,包括底座,所述底座的頂面分別固定安裝有電機和葉輪箱,所述電機轉軸的外表面和葉輪箱轉軸的外表面均固定套接有轉輪組件,所述底座的側面固定設有移動組件,所述移動組件的正面固定套接有分配組件,所述分配組件的一端套設在轉輪組件中且與轉輪組件內部相連通,所述葉輪箱的頂部固定連通有進氣管,所述進氣管的頂部固定連通有消音組件,所述分配組件的兩側均固定連通有排液管,一個所述排液管與消音組件固定連通,所述轉輪組件的外側套設有皮帶;所述分配組件包括冷卻套管、分隔板、中間套和進液管,所述冷卻套管與轉輪組件轉動套接。
優選的,所述轉輪組件包括輪體、冷卻腔和連通腔,所述冷卻腔開設在輪體的內部,所述連通腔開設在輪體的內部且與冷卻腔相連通,所述冷卻腔為環形腔室,所述轉輪組件的數量為兩個,兩個所述輪體分別固定套接在電機轉軸的外表面和葉輪箱轉軸的外表面上。
優選的,所述電機轉軸的外表面和葉輪箱轉軸的外表面均開設有中間槽,所述中間槽與連通腔相連通。
優選的,所述移動組件包括防護框、連接框和電動推桿,所述電動推桿固定安裝在底座的正面上,所述防護框位于轉輪組件的外側,所述連接框固定連接在電動推桿的活動端上,所述連接框與防護框固定連接。
優選的,所述冷卻套管固定套接在防護框的正面且套接在輪體的正面中,所述分隔板固定連接在冷卻套管的內部,所述中間套固定連通在兩個冷卻套管之間,所述進液管固定連通在中間套的正面。
優選的,所述消音組件包括消音套、內部腔、中間環、消音環、換熱套、中間孔和回流管,所述消音套固定連接在進氣管的頂部,所述內部腔開設在消音套的內部,所述中間環固定連接在內部腔的內部,所述消音環固定套接在中間環的內表面上。
優選的,所述換熱套固定連接在消音套的頂部,所述中間孔開設在消音套的頂面且與換熱套相連通,所述回流管固定連通在換熱套的側面上。
優選的,所述消音套的側面開設有通口,所述排液管與通口相連通。
本發明的有益效果如下:1、本發明通過利用移動組件完成分配組件的裝配,配合移動組件的橫向移動,切換分配組件的狀態,在非啟動下將分配組件套入至轉輪組件中,配合分配組件中的分隔板,將單個冷卻套管分隔成進入腔和排出腔,且配合轉輪組件中的冷卻腔和中間槽的連通,引導冷卻水在輪體運轉過程中導入并進行換熱,實現輪體和皮帶的快速降溫,避免過熱造成皮帶的壽命降低,且避免皮帶過熱引起彈性減小,傳動效率下降,大大提高了皮帶的使用壽命和穩定性,提高轉動曝氣效果,且冷卻過程在運行過程中實現,及時降溫冷卻,使用效果好。
2、本發明通過在吸入管的頂部增設消音組件,配合內部的內部腔和消音環,利用冷卻后的排出熱水,將熱水引入至消音組件中,在消音環外側形成一層流動水圈,使得氣體吸入過程中的噪音在經受消音環的初級吸收后,配合流動熱水完成二次吸收,降低噪音傳播能量,提高消音效果,消音效果更好。
3、本發明通過將冷卻后的冷卻水引入至消音組件中,配合吸入的流動空氣,在輔助消除噪音的同時,通過換熱套對通入的熱水進行冷卻降溫,在不額外增加冷卻設備的同時,對冷卻后的熱水進行輔助冷卻,提高回流后的降溫效果,降低循環冷卻水中間冷卻的能量供給,節省能源,提高循環冷卻效果,使用效果好。
(發明人:李國營;何旭東)






