公布日:2023.01.06
申請日:2021.10.08
分類號:C02F11/15(2019.01)I;C02F11/13(2019.01)I;C02F11/00(2006.01)I;B01J2/00(2006.01)I
摘要
本發明涉及污泥處理技術領域,具體涉及一種市政用污泥耦合造粒裝置的使用方法;本發明包括依次設置的篩分組件、轉運組件、干燥組件和造粒組件,篩分組件包括振動篩、設置在振動篩頂端開口處的蓋板、設置在振動篩內部的篩板以及設置在振動篩底部各個支撐腳上的減震組件,蓋板靠近振動篩輸入端處的板面上開設有入料口,振動篩的輸出端分別設有處于篩板上端的上排料管和處于篩板下端的下排料管,減震組件的阻尼系數可調,干燥組件包括依次設置的電滲透干燥組件和低溫干燥組件,造粒組件包括依次設置的攪拌倉、預熱倉、焙燒倉、冷卻倉和旋風分離器;本發明能夠有效地解決現有技術存在環保性不佳、造粒效果不佳和維護成本較高等問題。

權利要求書
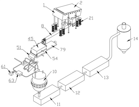
1.一種市政用污泥耦合造粒裝置,其特征在于:包括依次設置的篩分組件、轉運組件、干燥組件和造粒組件;所述篩分組件包括振動篩(1)、設置在振動篩(1)頂端開口處的蓋板(2)、設置在振動篩(1)內部的篩板(3)以及設置在振動篩(1)底部各個支撐腳上的減震組件,所述蓋板(2)靠近振動篩(1)輸入端處的板面上開設有入料口(4),所述振動篩(1)的輸出端分別設有處于篩板(3)上端的上排料管(5)和處于篩板(3)下端的下排料管(6),所述減震組件的阻尼系數可調;所述轉運組件包括承接箱(7)和第一螺旋絞龍(8),所述承接箱(7)頂部的入口與下排料管(6)可拆且密封式的固定連接,所述承接箱(7)靠近其底部的出口通過第一送料管(9)與第一螺旋絞龍(8)的入料口(4)可拆且密封式的固定連接,所述承接箱(7)上還設有與振動篩(1)配合的傳動組件,所述第一螺旋絞龍(8)上還設有消毒組件;所述干燥組件包括依次設置的電滲透干燥組件和低溫干燥組件;所述造粒組件包括依次設置的攪拌倉(10)、預熱倉(11)、焙燒倉(12)、冷卻倉(13)和旋風分離器(14);所述振動篩(1)兩端的側壁上均設有一組第一脈沖閥(15),并且所述振動篩(1)兩端的第一脈沖閥(15)呈交錯式分布;所述消毒組件包括儲氣筒(42)、設置在儲氣筒(42)上的導氣管(43)和設置在導氣管(43)上的第一電磁閥(44),所述導氣管(43)的另一端設置在第一螺旋絞龍(8)輸入端處的管體上;所述電滲透干燥組件包括干燥箱(45)、陽極板(46)、陰極板(47)和電動液壓桿(48),所述陰極板(47)水平式地固定設置在干燥箱(45)內部,所述陽極板(46)水平式地活動設置在干燥箱(45)內部,并且所述陽極板(46)由對稱設置在干燥箱(45)內部頂壁上的一組電動液壓桿(48)驅動,所述干燥箱(45)輸入端與第一螺旋絞龍(8)的輸出端通過第二送料管(49)可拆且密封式連接,所述第二送料管(49)上設有第二電磁閥(50),所述干燥箱(45)的輸出端設有第三送料管(51),所述電動液壓桿(48)完全收縮時,所述第二送料管(49)輸出端的管口在垂直方向上處于陽極板(46)與陰極板(47)之間,所述第三送料管(51)下端的內管壁與陰極板(47)的板面平齊,所述干燥箱(45)在其送料方向兩側的側壁上均設有過濾板(52),所述過濾板(52)上密布有微米級或以下的過濾孔(53),所述干燥箱(45)的外側壁上還設有與過濾板(52)配合的第一密封罩(54),所述第一密封罩(54)的上、下兩端分別設有排氣管(55)、排水管(56);所述低溫干燥組件包括第二螺旋絞龍(57)、第三螺旋絞龍(58)、冷凝器(59)、蒸發器(60)、冷卻機組(61)和壓縮機(63),所述第二螺旋絞龍(57)和第三螺旋絞龍(58)均相對地面呈傾斜狀,所述第二螺旋絞龍(57)上端的輸入端與第三送料管(51)可拆且密封式固定連接,所述第二螺旋絞龍(57)下端的輸出端與第三螺旋絞龍(58)下端的輸入端之間通過第四送料管(64)可拆且密封式連接,所述第三螺旋絞龍(58)上端的輸出端與第三送料管(51)之間通過第五送料管(65)可拆且密封式連接,所述第五送料管(65)上設有第三電磁閥(66),所述冷凝器(59)輸出端設有熱風輸出管(67),所述熱風輸出管(67)的末端分支有兩個支管,并且所述熱風輸出管(67)末端的兩個支管分別設置在第二螺旋絞龍(57)的輸出端、第三螺旋絞龍(58)的輸出端,所述蒸發器(60)的輸入端設有冷風回收管(68),所述冷風回收管(68)的末端分支有兩個支管,并且所述冷風回收管(68)末端的兩個支管分別設置在第二螺旋絞龍(57)的輸入端、第三螺旋絞龍(58)的輸入端,所述蒸發器(60)的輸出端和壓縮機(63)輸入端之間設有冷氣管(69),所述冷凝器(59)的輸入端與壓縮機(63)的輸出端之間設有熱氣管(70),所述熱氣管(70)上還分支有冷卻管(71)和加熱管(72),所述冷卻管(71)、加熱管(72)的另一端分別設置在冷卻機組(61)上的冷氣輸出端、熱氣輸入端,所述冷凝器(59)輸出端和蒸發器(60)輸出端之間設有還設有換熱管(73),所述蒸發器(60)的輸出端還設有排液管(74);所述第四送料管(64)和第五送料管(65)內部均設有柵板(62);所述換熱管(73)、冷卻管(71)和加熱管(72)上均設有單向閥(75);所述清潔組件包括儲水箱(81)、空氣過濾器(82)、輸送泵(83)和第二脈沖閥(84),所述干燥箱(45)輸入端一側的箱體上還對稱地設有一組第二脈沖閥(84),所述第二脈沖閥(84)通過輸送管(85)與輸送泵(83)的輸出端連接,所述輸送泵(83)的輸入端設有三通管(86),所述三通管(86)的兩個支管分別與儲水箱(81)、空氣過濾器(82)連接,并且所述三通管(86)的兩個支管上均設有第四電磁閥(87);所述第三送料管(51)上還設有閥門組件和下料組件;所述閥門組件包括導軌板(88)、第二螺桿(89)、旋轉電機(90)和擋板(91),所述干燥箱(45)輸出端一側的外壁上對稱地設有兩個導軌板(88),所述導軌桿上均轉動連接有垂直地面的第二螺桿(89),所述第二螺桿(89)分別由對應的旋轉電機(90)驅動旋轉,所述擋板(91)的兩端均設有凸出體(92),所述凸出體(92)分別與對應的螺桿螺接,所述擋板(91)穿接在第三送料管(51)上端管體處的板槽(93)中,當所述凸出體(92)與導軌板(88)下端接觸時,所述擋板(91)完全阻隔第三送料管(51),當所述凸出體(92)與導軌板(88)上端接觸時,所述第三送料管(51)完全導通并且擋板(91)下端的板體仍處于板槽(93)中。
2.根據權利要求1所述的一種市政用污泥耦合造粒裝置,其特征在于,所述振動篩(1)兩端側壁還對稱設有一組限位體(16),所述限位體(16)上均開設有中軸線垂直地面的限位孔(17),所述限位孔(17)中均穿接有與之匹配的限位桿(18),所述限位桿(18)的底部均固定在地面上;所述減震組件包括上安裝板(19)、下安裝板(20)和減震筒(21),所述下安裝板(20)上對稱地設有一組呈并聯關系的減震筒(21),并且所述下安裝板(20)上的每一個減震筒(21)上均串聯有一組數量相同的減震筒(21),并且處于最上端的減震筒(21)均與上安裝板(19)固定連接;所述傳動組件包括傳動桿(22)、緩震彈簧(23)和安裝座(24),所述承接箱(7)的頂部通過一組傳動桿(22)與振動篩(1)的底部固定連接,所述承接箱(7)的底部與安裝座(24)的頂部之間通過一組緩震彈簧(23)連接,所述安裝座(24)設置固定在地面上。
3.根據權利要求2所述的一種市政用污泥耦合造粒裝置,其特征在于,所述減震筒(21)的上筒蓋(25)和下筒蓋(26)之間通過波紋管(27)連接,所述下筒蓋(26)上端面的中部向內凹陷式地開設有柱槽(28),所述柱槽(28)中固定有與之匹配的支撐柱(29),所述支撐柱(29)的頂端面中部向內凹陷式地開設有伸縮槽(30),所述伸縮槽(30)的底壁向內凹陷式地開設有行程槽(31),所述伸縮槽(30)的槽口在行程槽(31)底壁上的投影處于行程槽(31)底壁的中部,所述伸縮槽(30)的槽口尺寸小于行程槽(31)的底壁尺寸,所述伸縮槽(30)中滑接與之匹配的伸縮柱(32),所述伸縮柱(32)的頂端固定在上筒蓋(25)下端的中部,所述支撐柱(29)和伸縮柱(32)的外端還設有與之同軸的減震彈簧(33),所述減震彈簧(33)的兩端分別與上筒蓋(25)、下筒蓋(26)固定,所述行程槽(31)內部沿其行程方向的兩端均設有夾持塊(34),所述夾持塊(34)頂端均開設有與伸縮柱(32)匹配的凹槽(35),所述夾持塊(34)的底部均開設有第一螺槽(36),并且兩個所述第一螺槽(36)內部的螺紋方向相反,所述下筒蓋(26)和支撐柱(29)上均貫穿有與第一螺槽(36)同軸且匹配的軸槽(37),調節桿(38)活動穿接在所述軸槽(37)中,并且所述調節桿(38)中部設有與兩個第一螺槽(36)分別配合的螺紋;所述承接箱(7)內部呈靠近輸出端低且輸入端高的斜坡狀。
4.根據權利要求3所述的一種市政用污泥耦合造粒裝置,其特征在于,所述調節桿(38)處于減震筒(21)外端的端部均設有手輪(39),所述下端蓋和支撐柱(29)的側壁上還開設有同軸且導通行程槽(31)的桿槽(40),所述桿槽(40)中設有壓致變色材料制成的顯示桿(41),所述顯示桿(41)處于行程槽(31)內部的桿體受行程槽(31)內部的兩個夾持塊(34)的擠壓作用。
5.根據權利要求4所述的一種市政用污泥耦合造粒裝置,其特征在于,所述干燥箱(45)輸入端一側還設有卸料組件和清潔組件;所述卸料組件包括推板(76)、第一螺桿(77)和驅動電機(78),所述干燥箱(45)輸入端一側的箱體上開設有與陰極板(47)配合的通槽,所述通槽外端的槽口處密封式固定有第二密封罩(79),所述推板(76)活動設置在第二密封罩(79)內部,所述第一螺桿(77)螺接在推板(76)上的第二螺槽(80)中,所述第一螺桿(77)的外端穿過第二密封罩(79)并與第二密封罩(79)外端的驅動電機(78)連接,所述推板(76)板面的長和寬均大于陰極板(47)板面的長和寬,并且所述推板(76)的下端板面與陰極板(47)的上端板面共面。
6.根據權利要求5所述的一種市政用污泥耦合造粒裝置,其特征在于,所述下料組件包括設置在第三送料管(51)末端管體內部的橫臂(94)、轉動連接在橫臂(94)上的絞龍軸(95)以及設置在第三送料管(51)外壁的伺服電機(96),所述絞龍軸(95)中軸線垂直地面并且其輸送方向朝下,所述第三送料管(51)一端的外壁上還開設有第一矩形槽(97),所述橫臂(94)上還開設有與第一矩形槽(97)導通的第二矩形槽(98),所述絞龍軸(95)處于第二矩形槽(98)中端部設有從動齒輪(99),所述從動齒輪(99)與伺服電機(96)輸出軸上的主動齒輪(100)通過鏈條(101)同步傳動連接。
7.根據權利要求6所述的一種市政用污泥耦合造粒裝置,其特征在于,所述攪拌倉(10)的頂部通過第六送料管(102)與第三螺旋絞龍(58)的輸出端之間可拆且密封式連接,所述第六送料管(102)上設有第五電磁閥(103),所述攪拌倉(10)的頂部還設有加料管(104),所述攪拌倉(10)外側壁、內側壁在同一高度上分別設有第一環體(105)、第二環體(106),所述第一環體(105)上對稱地嵌設有一組電磁鐵(107),所述第二環體(106)上同軸式的轉動連接有星型支架(108),所述星型支架(108)的下端中部設有與之同軸的攪拌軸(109),所述攪拌軸(109)上均勻地分布有葉片(110),所述星型支架(108)與第二環體(106)內部對稱地埋設有一組鐵塊(111);所述攪拌倉(10)、第一環體(105)、第二環體(106)、星型支架(108)、攪拌軸(109)和葉片(110)均采用不導磁的金屬材料制成,所述攪拌倉(10)的底部還設有第七送料管(112),所述第七送料管(112)上設有第六電磁閥(113)。
8.根據權利要求7所述的一種市政用污泥耦合造粒裝置的使用方法,其特征在于,包括以下步驟:步驟(1),使用者根據彈簧串并聯的知識計算出減震組件所需要的阻尼系數(即等效彈簧的等效勁度系數),然后使用者調節對應的調節桿(38),從而讓每個減震組件的阻尼系數均等于所需要的阻尼系數,在此過程中,使用者通過觀察顯示桿(41)的顏色來判斷對應減震筒(21)內部的伸縮柱(32)是否被固定住,將污泥從蓋板(2)上的入料口(4)倒入振動篩(1)中,從而將污泥和混雜在其中的固體雜質進行篩分,在該過程中,第一脈沖閥(15)會持續地噴射出脈沖水流,從而將振動篩(1)內壁上污泥沖刷掉;步驟(2),振動篩(1)篩選出的污泥排入承接箱(7)中,承接箱(7)通過傳動組件與振動篩(1)保持同步震動,從而便于將其內部的污泥排入第一螺旋絞龍(8);步驟(3),第一螺旋絞龍(8)將污泥經第二送料管(49)送入干燥箱(45)中,在此過程中,導氣管(43)上的第一電磁閥(44)打開并將儲氣筒(42)中的消毒氣體均勻地輸入第一螺旋絞龍(8)中,從而使得第一螺旋絞龍(8)中污泥被消毒殺菌;步驟(4),首先將陽極板(46)、陰極板(47)分別接在直流穩壓源的陽極、陰極兩端,然后干燥箱(45)中的陽極板(46)在電動液壓桿(48)的驅動下對陰極板(47)上的污泥進行擠壓和通電,從而使得污泥在電滲透的作用下脫水;步驟(5),在上述步驟(4)中,污泥在電滲透和擠壓的雙重作用下排出的污水、廢氣分別通過排水管(56)、排氣管(55)排出至指定的回收處理裝置中;步驟(6),緊接上述步驟(4),當干燥箱(45)中的污泥完成脫水后,第三送料管(51)上的閥門組件打開,推板(76)在驅動電機(78)和螺桿的配合下將脫水后的污泥推入第三送料管(51),在此過程中,第二脈沖閥(84)會在輸送泵(83)在驅動下向干燥箱(45)內部持續的噴射出潔凈的脈沖氣流,從而將附著在陽極板(46)和陰極板(47)上的污泥塊吹落,然后推板(76)在驅動電機(78)和螺桿的配合下完全收入第二密封罩(79)中,然后閥門組件關閉,然后第二脈沖閥(84)在輸送泵(83)的驅動下干燥箱(45)內部持續的噴射出潔凈的脈沖水流,從而對陽極板(46)和陰極板(47)的板面進行清洗;步驟(7),伺服電機(96)驅動絞龍軸(95)旋轉來將第三送料管(51)中污泥送入第二螺旋絞龍(57);步驟(8),第二螺旋絞龍(57)和第三螺旋絞龍(58)啟動,從而使得污泥在第二螺旋絞龍(57)和第三螺旋絞龍(58)循環,此過程中,第六送料管(102)上的第五電磁閥(103)處于關閉狀態,并且此過程中,第五送料管(65)上的第三電磁閥(66)處于打開狀態,并且此過程中,冷凝器(59)、蒸發器(60)、冷卻機組(61)和壓縮機(63)均啟動,從而讓冷凝器(59)以逆著污泥的運動方向輸送干燥的高溫熱風,然后將水分飽和低溫熱風回收至蒸發器(60)中,然后蒸發器(60)將水分飽和低溫熱風進行干燥后并輸入至壓縮機(63),壓縮機(63)將干燥的高溫熱風輸出至冷凝器(59);步驟(9),在上述步驟(8)中,蒸發器(60)從水分飽和的低溫熱風中干燥出的水經排液管(74)排至指定的回收處理裝置,冷卻機組(61)用于對壓縮機(63)的散熱;步驟(10),當污泥在低溫干燥組件中完成干燥后,第六送料管(102)上的第五電磁閥(103)打開,并且第五送料管(65)上的第三電磁閥(66)關閉,從而將干燥的污泥經第六送料管(102)排入至攪拌倉(10)中;步驟(11),使用者通過加料管(104)向攪拌倉(10)中注入添加劑,然后讓第一環體(105)上的電磁鐵(107)依次啟動,從而驅動攪拌軸(109)旋轉,從而將攪拌倉(10)中的污泥和添加劑混合均勻,混合完畢后讓污泥在攪拌倉(10)中進行陳化;步驟(12),第七送料管(112)上的第六電磁閥(113)打開,從而讓陳化后的污泥進入預熱倉(11)進行干燥預熱,值得注意的是,陳化后的污泥會在預熱倉(11)中被擠壓呈一顆一顆的污泥球;步驟(13),將預熱后的污泥焙燒倉(12)進行高溫焙燒,從而讓污泥球成為陶球;步驟(14),將焙燒成型的陶球送入冷卻倉(13)進行冷卻;步驟(15),將冷卻后的陶球送入旋風分離器(14)進行分離,從而獲得指定尺寸且無毒的陶球和陶砂。
發明內容
本發明的目的是為了解決現有技術中存在的缺點,解決上述背景技術中提出的問題。
為了實現上述目的,本發明采用了如下技術方案:一種市政用污泥耦合造粒裝置,包括依次設置的篩分組件、轉運組件、干燥組件和造粒組件;所述篩分組件包括振動篩、設置在振動篩頂端開口處的蓋板、設置在振動篩內部的篩板以及設置在振動篩底部各個支撐腳上的減震組件,所述蓋板靠近振動篩輸入端處的板面上開設有入料口,所述振動篩的輸出端分別設有處于篩板上端的上排料管和處于篩板下端的下排料管,所述減震組件的阻尼系數可調;所述轉運組件包括承接箱和第一螺旋絞龍,所述承接箱頂部的入口與下排料管可拆且密封式的固定連接,所述承接箱靠近其底部的出口通過第一送料管與第一螺旋絞龍的入料口可拆且密封式的固定連接,所述承接箱上還設有與振動篩配合的傳動組件,所述第一螺旋絞龍上還設有消毒組件;所述干燥組件包括依次設置的電滲透干燥組件和低溫干燥組件;所述造粒組件包括依次設置的攪拌倉、預熱倉、焙燒倉、冷卻倉和旋風分離器。
更進一步地,所述振動篩兩端的側壁上均設有一組第一脈沖閥,并且所述振動篩兩端的第一脈沖閥呈交錯式分布;所述振動篩兩端側壁還對稱設有一組限位體,所述限位體上均開設有中軸線垂直地面的限位孔,所述限位孔中均穿接有與之匹配的限位桿,所述限位桿的底部均固定在地面上;所述減震組件包括上安裝板、下安裝板和減震筒,所述下安裝板上對稱地設有一組呈并聯關系的減震筒,并且所述下安裝板上的每一個減震筒上均串聯有一組數量相同的減震筒,并且處于最上端的減震筒均與上安裝板固定連接;所述傳動組件包括傳動桿、緩震彈簧和安裝座,所述承接箱的頂部通過一組傳動桿與振動篩的底部固定連接,所述承接箱的底部與安裝座的頂部之間通過一組緩震彈簧連接,所述安裝座設置固定在地面上。
更進一步地,所述減震筒的上筒蓋和下筒蓋之間通過波紋管連接,所述下筒蓋上端面的中部向內凹陷式地開設有柱槽,所述柱槽中固定有與之匹配的支撐柱,所述支撐柱的頂端面中部向內凹陷式地開設有伸縮槽,所述伸縮槽的底壁向內凹陷式地開設有行程槽,所述伸縮槽的槽口在行程槽底壁上的投影處于行程槽底壁的中部,所述伸縮槽的槽口尺寸小于行程槽的底壁尺寸,所述伸縮槽中滑接與之匹配的伸縮柱,所述伸縮柱的頂端固定在上筒蓋下端的中部,所述支撐柱和伸縮柱的外端還設有與之同軸的減震彈簧,所述減震彈簧的兩端分別與上筒蓋、下筒蓋固定,所述行程槽內部沿其行程方向的兩端均設有夾持塊,所述夾持塊頂端均開設有與伸縮柱匹配的凹槽,所述夾持塊的底部均開設有第一螺槽,并且兩個所述第一螺槽內部的螺紋方向相反,所述下筒蓋和支撐柱上均貫穿有與第一螺槽同軸且匹配的軸槽,調節桿活動穿接在所述軸槽中,并且所述調節桿中部設有與兩個第一螺槽分別配合的螺紋;所述承接箱內部呈靠近輸出端低且輸入端高的斜坡狀。
更進一步地,所述調節桿處于減震筒外端的端部均設有手輪,所述下端蓋和支撐柱的側壁上還開設有同軸且導通行程槽的桿槽,所述桿槽中設有壓致變色材料制成的顯示桿,所述顯示桿處于行程槽內部的桿體受行程槽內部的兩個夾持塊的擠壓作用。
更進一步地,所述消毒組件包括儲氣筒、設置在儲氣筒上的導氣管和設置在導氣管上的第一電磁閥,所述導氣管的另一端設置在第一螺旋絞龍輸入端處的管體上。
更進一步地,所述電滲透干燥組件包括干燥箱、陽極板、陰極板和電動液壓桿,所述陰極板水平式地固定設置在干燥箱內部,所述陽極板水平式地活動設置在干燥箱內部,并且所述陽極板由對稱設置在干燥箱內部頂壁上的一組電動液壓桿驅動,所述干燥箱輸入端與第一螺旋絞龍的輸出端通過第二送料管可拆且密封式連接,所述第二送料管上設有第二電磁閥,所述干燥箱的輸出端設有第三送料管,所述電動液壓桿完全收縮時,所述第二送料管輸出端的管口在垂直方向上處于陽極板與陰極板之間,所述第三送料管下端的內管壁與陰極板的板面平齊,所述干燥箱在其送料方向兩側的側壁上均設有過濾板,所述過濾板上密布有微米級或以下的過濾孔,所述干燥箱的外側壁上還設有與過濾板配合的第一密封罩,所述第一密封罩的上、下兩端分別設有排氣管、排水管;所述低溫干燥組件包括第二螺旋絞龍、第三螺旋絞龍、冷凝器、蒸發器、冷卻機組和壓縮機,所述第二螺旋絞龍和第三螺旋絞龍均相對地面呈傾斜狀,所述第二螺旋絞龍上端的輸入端與第三送料管可拆且密封式固定連接,所述第二螺旋絞龍下端的輸出端與第三螺旋絞龍下端的輸入端之間通過第四送料管可拆且密封式連接,所述第三螺旋絞龍上端的輸出端與第三送料管之間通過第五送料管可拆且密封式連接,所述第五送料管上設有第三電磁閥,所述冷凝器輸出端設有熱風輸出管,所述熱風輸出管的末端分支有兩個支管,并且所述熱風輸出管末端的兩個支管分別設置在第二螺旋絞龍的輸出端、第三螺旋絞龍的輸出端,所述蒸發器的輸入端設有冷風回收管,所述冷風回收管的末端分支有兩個支管,并且所述冷風回收管末端的兩個支管分別設置在第二螺旋絞龍的輸入端、第三螺旋絞龍的輸入端,所述蒸發器的輸出端和壓縮機輸入端之間設有冷氣管,所述冷凝器的輸入端與壓縮機的輸出端之間設有熱氣管,所述熱氣管上還分支有冷卻管和加熱管,所述冷卻管、加熱管的另一端分別設置在冷卻機組上的冷氣輸出端、熱氣輸入端,所述冷凝器輸出端和蒸發器輸出端之間設有還設有換熱管,所述蒸發器的輸出端還設有排液管;所述第四送料管和第五送料管內部均設有柵板;所述換熱管、冷卻管和加熱管上均設有單向閥。
更進一步地,所述干燥箱輸入端一側還設有卸料組件和清潔組件;所述卸料組件包括推板、第一螺桿和驅動電機,所述干燥箱輸入端一側的箱體上開設有與陰極板配合的通槽,所述通槽外端的槽口處密封式固定有第二密封罩,所述推板活動設置在第二密封罩內部,所述第一螺桿螺接在推板上的第二螺槽中,所述第一螺桿的外端穿過第二密封罩并與第二密封罩外端的驅動電機連接,所述推板板面的長和寬均大于陰極板板面的長和寬,并且所述推板的下端板面與陰極板的上端板面共面;所述清潔組件包括儲水箱、空氣過濾器、輸送泵和第二脈沖閥,所述干燥箱輸入端一側的箱體上還對稱地設有一組第二脈沖閥,所述第二脈沖閥通過輸送管與輸送泵的輸出端連接,所述輸送泵的輸入端設有三通管,所述三通管的兩個支管分別與儲水箱、空氣過濾器連接,并且所述三通管的兩個支管上均設有第四電磁閥。
更進一步地,所述第三送料管上還設有閥門組件和下料組件;所述閥門組件包括導軌板、第二螺桿、旋轉電機和擋板,所述干燥箱輸出端一側的外壁上對稱地設有兩個導軌板,所述導軌桿上均轉動連接有垂直地面的第二螺桿,所述第二螺桿分別由對應的旋轉電機驅動旋轉,所述擋板的兩端均設有凸出體,所述凸出體分別與對應的螺桿螺接,所述擋板穿接在第三送料管上端管體處的板槽中,當所述凸出體與導軌板下端接觸時,所述擋板完全阻隔第三送料管,當所述凸出體與導軌板上端接觸時,所述第三送料管完全導通并且擋板下端的板體仍處于板槽中;所述下料組件包括設置在第三送料管末端管體內部的橫臂、轉動連接在橫臂上的絞龍軸以及設置在第三送料管外壁的伺服電機,所述絞龍軸中軸線垂直地面并且其輸送方向朝下,所述第三送料管一端的外壁上還開設有第一矩形槽,所述橫臂上還開設有與第一矩形槽導通的第二矩形槽,所述絞龍軸處于第二矩形槽中端部設有從動齒輪,所述從動齒輪與伺服電機輸出軸上的主動齒輪通過鏈條同步傳動連接。
更進一步地,所述攪拌倉的頂部通過第六送料管與第三螺旋絞龍的輸出端之間可拆且密封式連接,所述第六送料管上設有第五電磁閥,所述攪拌倉的頂部還設有加料管,所述攪拌倉外側壁、內側壁在同一高度上分別設有第一環體、第二環體,所述第一環體上對稱地嵌設有一組電磁鐵,所述第二環體上同軸式的轉動連接有星型支架,所述星型支架的下端中部設有與之同軸的攪拌軸,所述攪拌軸上均勻地分布有葉片,所述星型支架與第二環體內部對稱地埋設有一組鐵塊;所述攪拌倉、第一環體、第二環體、星型支架、攪拌軸和葉片均采用不導磁的金屬材料制成,所述攪拌倉的底部還設有第七送料管,所述第七送料管上設有第六電磁閥。
一種市政用污泥耦合造粒裝置的使用方法,包括以下步驟:步驟(1),使用者根據彈簧串并聯的知識計算出減震組件所需要的阻尼系數(即等效彈簧的等效勁度系數),然后使用者調節對應的調節桿,從而讓每個減震組件的阻尼系數均等于所需要的阻尼系數,在此過程中,使用者通過觀察顯示桿的顏色來判斷對應減震筒內部的伸縮柱是否被固定住,將污泥從蓋板上的入料口倒入振動篩中,從而將污泥和混雜在其中的固體雜質進行篩分,在該過程中,第一脈沖閥會持續地噴射出脈沖水流,從而將振動篩內壁上污泥沖刷掉;步驟(2),振動篩篩選出的污泥排入承接箱中,承接箱通過傳動組件與振動篩保持同步震動,從而便于將其內部的污泥排入第一螺旋絞龍;步驟(3),第一螺旋絞龍將污泥經第二送料管送入干燥箱中,在此過程中,導氣管上的第一電磁閥打開并將儲氣筒中的消毒氣體均勻地輸入第一螺旋絞龍中,從而使得第一螺旋絞龍中污泥被消毒殺菌;步驟(4),首先將陽極板、陰極板分別接在直流穩壓源的陽極、陰極兩端,然后干燥箱中的陽極板在電動液壓桿的驅動下對陰極板上的污泥進行擠壓和通電,從而使得污泥在電滲透的作用下脫水;步驟(5),在上述步驟(4)中,污泥在電滲透和擠壓的雙重作用下排出的污水、廢氣分別通過排水管、排氣管排出至指定的回收處理裝置中;步驟(6),緊接上述步驟(4),當干燥箱中的污泥完成脫水后,第三送料管上的閥門組件打開,推板在驅動電機和螺桿的配合下將脫水后的污泥推入第三送料管,在此過程中,第二脈沖閥會在輸送泵在驅動下向干燥箱內部持續的噴射出潔凈的脈沖氣流,從而將附著在陽極板和陰極板上的污泥塊吹落,然后推板在驅動電機和螺桿的配合下完全收入第二密封罩中,然后閥門組件關閉,然后第二脈沖閥在輸送泵的驅動下干燥箱內部持續的噴射出潔凈的脈沖水流,從而對陽極板和陰極板的板面進行清洗;步驟(7),伺服電機驅動絞龍軸旋轉來將第三送料管中污泥送入第二螺旋絞龍;步驟(8),第二螺旋絞龍和第三螺旋絞龍啟動,從而使得污泥在第二螺旋絞龍和第三螺旋絞龍循環,此過程中,第六送料管上的第五電磁閥處于關閉狀態,并且此過程中,第五送料管上的第三電磁閥處于打開狀態,并且此過程中,冷凝器、蒸發器、冷卻機組和壓縮機均啟動,從而讓冷凝器以逆著污泥的運動方向輸送干燥的高溫熱風,然后將水分飽和低溫熱風回收至蒸發器中,然后蒸發器將水分飽和低溫熱風進行干燥后并輸入至壓縮機,壓縮機將干燥的高溫熱風輸出至冷凝器;步驟(9),在上述步驟(8)中,蒸發器從水分飽和的低溫熱風中干燥出的水經排液管排至指定的回收處理裝置,冷卻機組用于對壓縮機的散熱;步驟(10),當污泥在低溫干燥組件中完成干燥后,第六送料管上的第五電磁閥打開,并且第五送料管上的第三電磁閥關閉,從而將干燥的污泥經第六送料管排入至攪拌倉中;步驟(11),使用者通過加料管向攪拌倉中注入添加劑,然后讓第一環體上的電磁鐵依次啟動,從而驅動攪拌軸旋轉,從而將攪拌倉中的污泥和添加劑混合均勻,混合完畢后讓污泥在攪拌倉中進行陳化;步驟(12),第七送料管上的第六電磁閥打開,從而讓陳化后的污泥進入預熱倉進行干燥預熱,值得注意的是,陳化后的污泥會在預熱倉中被擠壓呈一顆一顆的污泥球;步驟(13),將預熱后的污泥焙燒倉進行高溫焙燒,從而讓污泥球成為陶球;步驟(14),將焙燒成型的陶球送入冷卻倉進行冷卻;步驟(15),將冷卻后的陶球送入旋風分離器進行分離,從而獲得指定尺寸且無毒的陶球和陶砂。
與現有技術相比,本發明的優點和積極效果在于,1、本發明中通過增加轉運組件的干燥組件,其中轉運組件包括承接箱和第一螺旋絞龍,承接箱頂部的入口與下排料管連接,承接箱靠近其底部的出口通過第一送料管與第一螺旋絞龍的入料口連接,承接箱上還設有與振動篩配合的傳動組件,第一螺旋絞龍上還設有消毒組件,干燥組件包括依次設置的電滲透干燥組件和低溫干燥組件,消毒組件包括儲氣筒、設置在儲氣筒上的導氣管和設置在導氣管上的第一電磁閥,導氣管的另一端設置在第一螺旋絞龍輸入端處的管體上,電滲透干燥組件包括干燥箱、陽極板、陰極板和電動液壓桿,陰極板水平式地固定設置在干燥箱內部,陽極板水平式地活動設置在干燥箱內部,并且陽極板由對稱設置在干燥箱內部頂壁上的一組電動液壓桿驅動,干燥箱輸入端與第一螺旋絞龍的輸出端通過第二送料管可拆且密封式連接,第二送料管上設有第二電磁閥,干燥箱的輸出端設有第三送料管,干燥箱在其送料方向兩側的側壁上均設有過濾板,過濾板上密布有微米級或以下的過濾孔,干燥箱的外側壁上還設有與過濾板配合的第一密封罩,第一密封罩的上、下兩端分別設有排氣管、排水管的設計。
這樣當污泥在第一螺旋絞龍中進行轉運時,儲氣筒會向第一螺旋絞龍中均勻地釋放預存在其中的消毒氣體,由于第一螺旋絞龍的工作特性使得污泥在第一螺旋絞龍中還存在一定的翻轉運動,從而讓污泥與消毒氣體充分混合,同時第一螺旋絞龍的工作還可以有效地防止消毒氣體從第一送料管中逸出至承接箱、振動篩中,這提升了使用人員的安全性;然后污泥從第一螺旋絞龍進入干燥箱進行電滲透脫水處理,在該過程中,陽極板和陰極板上的電流流過污泥繼而實現歐姆加熱來均勻的加熱殺菌,此外,歐姆加熱過程中還可以產生“電穿孔”效應,這會導致微生物的細胞膜破裂,細胞內容物滲漏造成細胞死亡,進而引起菌體死亡;在本發明中通過采用消毒氣體、歐姆加熱和電穿孔效應這三種方式深度耦合,從而達到對污泥的充分消毒殺菌,從保證生產的污泥球是清潔無毒的。達到有效地提升本發明實際應用時環保性的效果。
2、本發明中通過增加干燥組件和造粒組件,干燥組件包括依次設置的電滲透干燥組件和低溫干燥組件,電滲透干燥組件包括干燥箱、陽極板、陰極板和電動液壓桿,低溫干燥組件包括第二螺旋絞龍、第三螺旋絞龍、冷凝器、蒸發器、冷卻機組和壓縮機,造粒組件包括依次設置的攪拌倉、預熱倉、焙燒倉、冷卻倉和旋風分離器的設計。
這樣可以通過電滲透干燥組件對污泥進行一級脫水干燥,然后通過低溫干燥組件對污泥進行二級脫水干燥,從而獲得低含水量(小于等于10%~50%可調)污泥;然后將干燥后的污泥在攪拌倉與添加劑進行攪拌混合并陳化,然后通過預熱倉進行造粒和預熱,然后通過焙燒倉進行燒制,然后通過冷卻倉對燒制成型的陶球進行冷卻,最后通過旋風分離器分離陶球和陶砂。達到有效地提升本發明造粒能力的效果。
3、本發明中通過在振動篩和干燥箱上分別設有第一脈沖閥、第二脈沖閥,第二脈沖閥通過輸送管與輸送泵的輸出端連接,輸送泵的輸入端設有三通管,三通管的兩個支管分別與儲水箱、空氣過濾器連接,并且三通管的兩個支管上均設有第四電磁閥,并且承接箱通過傳動組件與振動篩保持同步震動的設計。
這樣可以通過第一脈沖閥持續地噴射出脈沖水流,從而將振動篩內壁上污泥沖刷掉;通過傳動組件讓承接箱保持震動(同時配合振動篩排出的水流),從而讓污泥無法附著在承接的內壁上;在卸料組件將污泥排出干燥箱的過程中,第二脈沖閥會在輸送泵在驅動下向干燥箱內部持續的噴射出潔凈的脈沖氣流,從而將附著在陽極板和陰極板上的污泥塊吹落,當干燥箱中的污泥全部排出即閥門組件關閉是,第二脈沖閥在輸送泵的驅動下干燥箱內部持續的噴射出潔凈的脈沖水流,從而對陽極板和陰極板的板面進行清洗。達到有效地降低本發明產品維護成本的效果。
(發明人:殷益明;祝磊;杭俊亮;胡青;杭品艷)






